TOP
|
特許
|
意匠
|
商標
特許ウォッチ
Twitter
他の特許を見る
公開番号
2025155403
公報種別
公開特許公報(A)
公開日
2025-10-14
出願番号
2024059218
出願日
2024-04-01
発明の名称
豆類選別機
出願人
株式会社クボタ
代理人
弁理士法人R&C
主分類
B07C
5/342 20060101AFI20251006BHJP(固体相互の分離;仕分け)
要約
【課題】複数の莢部が果柄を介して繋がっている枝豆や、果柄に別の莢部の果柄が付いた枝豆を取り出す作業を軽減することを可能とする豆類選別機を提供する。
【解決手段】供給された被選別物を搬送しながら、被選別物の長手方向が搬送方向に沿った姿勢となるように、被選別物を整列させる整列部と、整列部から供給された被選別物を、単一の莢部または単一の莢部及び当該単一の莢部に対応する果柄に分離された分離品と、分離品以外の非分離品とに選別する選別部70と、計測対象領域を照明する照明部と、照明部にて照射され、かつ、計測対象領域に位置する被選別物にて反射した光を受光する受光部と、受光部の受光情報に基づいて被選別物の良否を判別する良否判別部と、良否判別部の判別結果に基づいて被選別物を良品と不良品とに選別する良否選別部と、が備えられている。
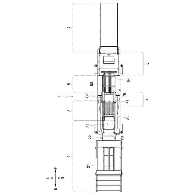
【選択図】図4
特許請求の範囲
【請求項1】
供給された被選別物を搬送しながら、前記被選別物の長手方向が搬送方向に沿った姿勢となるように、前記被選別物を整列させる整列部と、
前記整列部から供給された前記被選別物を、単一の莢部または単一の莢部及び当該単一の莢部に対応する果柄に分離された分離品と、前記分離品以外の非分離品とに選別する選別部と、
計測対象領域を照明する照明部と、
前記照明部にて照射され、かつ、前記計測対象領域に位置する前記被選別物にて反射した光を受光する受光部と、
前記受光部の受光情報に基づいて前記被選別物の良否を判別する良否判別部と、
前記良否判別部の判別結果に基づいて前記被選別物を良品と不良品とに選別する良否選別部と、が備えられている豆類選別機。
続きを表示(約 960 文字)
【請求項2】
前記選別部は、前記非分離品を回収する回収部と、前記回収部に前記非分離品を搬送する非分離品搬送部と、を有する請求項1に記載の豆類選別機。
【請求項3】
前記整列部は、搬送方向に沿って延びる搬送経路と、前記搬送経路の上方に設けられ、前記被選別物を前記搬送経路に向けて摺動移動させる摺動面部とを有し、
前記搬送経路は、前記搬送経路の幅方向の両側に設けられ、前記被選別物の搬送方向に沿って延びる縦壁を有し、
前記非分離品搬送部は、前記縦壁と一体に構成されている請求項2に記載の豆類選別機。
【請求項4】
前記搬送経路は、横並び状態で複数列備えられ、
前記摺動面部は、前記摺動面部のうちの搬送方向下流側端部に位置し、複数の前記搬送経路に対して各別に設けられた摺動縁部を有し、
前記摺動縁部は、隣接する前記摺動縁部が延びる方向と交差する方向に斜めに延びている請求項3に記載の豆類選別機。
【請求項5】
前記摺動面部の上面に設けられ、前記搬送経路の搬送方向に沿って延びる複数の垂直壁が備えられ、
前記縦壁は、複数の前記搬送経路の間のそれぞれに設けられ、
前記垂直壁は、前記縦壁のうちの一部の前記縦壁に対応する位置に配置されている請求項4に記載の豆類選別機。
【請求項6】
前記垂直壁は、前記摺動面部の上面のうち、隣り合う摺動縁部同士の間に配置されている請求項5に記載の豆類選別機。
【請求項7】
前記非分離品搬送部は、平面視で搬送方向下流側端部が前記回収部と重複する請求項2に記載の豆類選別機。
【請求項8】
前記回収部は、脱着可能に取り付けられている請求項2に記載の豆類選別機。
【請求項9】
前記選別部は、前記被選別物のうち前記分離品を下方に落下させる通過落下部を有する請求項1に記載の豆類選別機。
【請求項10】
前記通過落下部の下方に設けられ、前記通過落下部から落下した前記被選別物を搬送しながら、前記被選別物の長手方向が搬送方向に沿った姿勢となるように、前記被選別物を整列させる選別後整列部が備えられている請求項9に記載の豆類選別機。
発明の詳細な説明
【技術分野】
【0001】
本発明は、枝豆等の豆類を選別する豆類選別機に関する。
続きを表示(約 1,200 文字)
【背景技術】
【0002】
従来の豆類選別機として、例えば特許文献1に記載されているような、豆類である枝豆を画像撮影装置等からの情報を基にして選別する枝豆選別機があった。
【先行技術文献】
【特許文献】
【0003】
特開2017-080661号公報
【発明の概要】
【発明が解決しようとする課題】
【0004】
このような枝豆選別機では、正確に選別されるためには、画像撮影装置等により撮影等が行われる前に、複数の莢部が果柄を介して繋がっている枝豆や、果柄に別の莢部の果柄が付いた枝豆を排除する必要があった。しかし、従来の枝豆選別機では、枝豆がカゴに入っているときや枝豆が枝豆選別機の上で搬送されているときに、作業者が複数の莢部が果柄を介して繋がっている枝豆や、果柄に別の莢部の果柄が付いた枝豆を確認し、取り出す作業を行う必要があった。
【0005】
このような作業は、常時、作業者が枝豆を確認する必要があり、手間がかかるものであった。
【0006】
そこで本発明は、複数の莢部が果柄を介して繋がっている枝豆や、果柄に別の莢部の果柄が付いた枝豆を取り出す作業を軽減することを可能とする豆類選別機を提供することを目的とする。
【課題を解決するための手段】
【0007】
本発明の豆類選別機は、供給された被選別物を搬送しながら、前記被選別物の長手方向が搬送方向に沿った姿勢となるように、前記被選別物を整列させる整列部と、前記整列部から供給された前記被選別物を、単一の莢部または単一の莢部及び当該単一の莢部に対応する果柄に分離された分離品と、前記分離品以外の非分離品とに選別する選別部と、計測対象領域を照明する照明部と、前記照明部にて照射され、かつ、前記計測対象領域に位置する前記被選別物にて反射した光を受光する受光部と、前記受光部の受光情報に基づいて前記被選別物の良否を判別する良否判別部と、前記良否判別部の判別結果に基づいて前記被選別物を良品と不良品とに選別する良否選別部と、が備えられている。
【0008】
この発明によれば、選別部により、分離品と非分離品とに選別されるため、複数の実(莢)が互いに繋がった非分離品を取り出す作業を軽減することが可能となる。
【0009】
本発明においては、前記選別部は、前記非分離品を回収する回収部と、前記回収部に前記非分離品を搬送する非分離品搬送部と、を有すると好適である。
【0010】
この構成によれば、回収部に非分離品が回収される構成となる。その結果、作業者が、非分離品を取り出すとき、回収部から取り出せばよく、作業者の作業を軽減することが可能となる。
(【0011】以降は省略されています)
この特許をJ-PlatPat(特許庁公式サイト)で参照する
関連特許
株式会社クボタ
作業車
1か月前
株式会社クボタ
作業車
1か月前
株式会社クボタ
作業車
1か月前
株式会社クボタ
作業車
1か月前
株式会社クボタ
作業車
19日前
株式会社クボタ
作業車
19日前
株式会社クボタ
作業車
1か月前
株式会社クボタ
作業機
13日前
株式会社クボタ
作業車
1か月前
株式会社クボタ
作業機
27日前
株式会社クボタ
作業車
1か月前
株式会社クボタ
作業車
1か月前
株式会社クボタ
作業車
21日前
株式会社クボタ
作業車
1か月前
株式会社クボタ
移植機
1か月前
株式会社クボタ
移植機
1か月前
株式会社クボタ
作業車
1か月前
株式会社クボタ
作業車
1か月前
株式会社クボタ
作業車
5日前
株式会社クボタ
作業車
2か月前
株式会社クボタ
作業車
2か月前
株式会社クボタ
作業車
1か月前
株式会社クボタ
作業車
1か月前
株式会社クボタ
作業車
1か月前
株式会社クボタ
作業車両
2か月前
株式会社クボタ
作業車両
1か月前
株式会社クボタ
作業車両
1か月前
株式会社クボタ
作業車両
1か月前
株式会社クボタ
作業車両
1か月前
株式会社クボタ
作業車両
28日前
株式会社クボタ
作業車両
1か月前
株式会社クボタ
農業機械
5日前
株式会社クボタ
作業車両
2か月前
株式会社クボタ
作業車両
19日前
株式会社クボタ
作業車両
19日前
株式会社クボタ
多目的車両
1か月前
続きを見る
他の特許を見る