TOP
|
特許
|
意匠
|
商標
特許ウォッチ
Twitter
他の特許を見る
10個以上の画像は省略されています。
公開番号
2025141358
公報種別
公開特許公報(A)
公開日
2025-09-29
出願番号
2024041253
出願日
2024-03-15
発明の名称
作業車両
出願人
株式会社クボタ
代理人
安田岡本弁理士法人
主分類
B60K
15/063 20060101AFI20250919BHJP(車両一般)
要約
【課題】 本発明は、煩雑な作業を行うことなく、燃料電池を高効率で発電させることができる。燃料電池を高効率で発電させることのできる作業車両を提供する。
【解決手段】 本発明は、ガスを収容するタンクと、ガスによって発電する燃料電池と、タンク及び燃料電池を支持する車体と、車体を支持する少なくとも一対の車輪と、タンクのガスを排出させるガス排出弁と、を備え、ガス排出弁は、一対の車輪の間と対応する範囲内に配置されている。
【選択図】図13
特許請求の範囲
【請求項1】
ガスを収容するタンクと、
前記ガスによって発電する燃料電池と、
前記タンク及び前記燃料電池を支持する車体と、
前記車体を支持する少なくとも一対の車輪と、
前記タンクの前記ガスを排出させるガス排出弁と、を備え、
前記ガス排出弁は、前記一対の車輪の間と対応する範囲内に配置されている作業車両。
続きを表示(約 830 文字)
【請求項2】
前記一対の車輪は、
前記車体の幅方向の一方側に配置された第1車輪と、
前記車体の前記幅方向の他方側に配置された第2車輪と、
を含み、
前記ガス排出弁は、前記第1車輪と前記第2車輪との間に配置されている請求項1に記載の作業車両。
【請求項3】
前記一対の車輪は、
前記車体の前側に配置された前輪と、
前記車体の後側に配置された後輪と、
を含み、
前記ガス排出弁は、前記前輪と前記後輪との間に配置されている請求項1に記載の作業車両。
【請求項4】
前記ガス排出弁は、前記タンクと前記燃料電池との間に配置される請求項1~3のいずれか1項に記載の作業車両。
【請求項5】
前記タンクは、前記燃料電池よりも上方に配置され、
前記ガス排出弁は、前記タンクよりも下方に配置される請求項4に記載の作業車両。
【請求項6】
前記ガス排出弁は、前記タンクと前記燃料電池とを接続する経路に設けられる請求項1に記載の作業車両。
【請求項7】
前記タンクと前記燃料電池とを連通し、前記タンクから前記燃料電池に前記ガスを供給する供給配管を備え、
前記ガス排出弁は、前記供給配管に設けられる請求項6に記載の作業車両。
【請求項8】
前記ガス排出弁の少なくとも一部を覆うカバーを備え、
前記カバーは、着脱可能である請求項1に記載の作業車両。
【請求項9】
運転席を備え、
前記ガス排出弁は、前記燃料電池と前記運転席との間に配置される請求項1に記載の作業車両。
【請求項10】
前記燃料電池を収容するボンネットを備え、
前記ガス排出弁は、前記ボンネット内に配置される請求項1に記載の作業車両。
(【請求項11】以降は省略されています)
発明の詳細な説明
【技術分野】
【0001】
本発明は、燃料電池を備えた作業車両に関する。
続きを表示(約 2,600 文字)
【背景技術】
【0002】
従来から、トラクタ等の作業車両には、ガスによって発電する燃料電池と、燃料電池で発電した電力で駆動する電動モータとを備えたものがある(例えば、特許文献1参照)。この種の作業車両は、燃料電池に供給するガスを収容(貯留)するタンクを備える。
【先行技術文献】
【特許文献】
【0003】
特開2023-13186号公報
【発明の概要】
【発明が解決しようとする課題】
【0004】
ところで、高効率での発電を実現するには、燃料電池に対して純度の高いガスを供給する必要がある。しかし、タンク内や燃料電池とタンクとを繋ぐ配管内に空気等の不純ガスが存在することがある。このような不純ガスの除去作業は、煩雑であり、また残留する不純ガスの存在で燃料電池に高純度のガスを供給できずに、高効率で発電できないことがある。
【0005】
そこで、本発明は、煩雑な作業を行うことなく、燃料電池を高効率で発電させることのできる作業車両を提供する。
【課題を解決するための手段】
【0006】
本発明の作業車両は、ガスを収容するタンクと、前記ガスによって発電する燃料電池と、前記タンク及び前記燃料電池を支持する車体と、前記車体を支持する少なくとも一対の車輪と、前記タンクの前記ガスを排出させるガス排出弁と、を備え、前記ガス排出弁は、前記一対の車輪の間と対応する範囲内に配置されている。
【発明の効果】
【0007】
本発明の作業車両は、煩雑な作業を行うことなく、燃料電池を高効率で発電させることができる。
【図面の簡単な説明】
【0008】
図1は、本発明の一実施形態に係る作業車両の全体斜視図である。
図2は、同実施形態に係る作業車両の正面図である。
図3は、同実施形態に係る作業車両の背面図である。
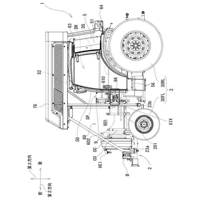
図4は、同実施形態に係る作業車両の一側面(右側面)図である。
図5は、同実施形態に係る作業車両の他側面(左側面)図である。
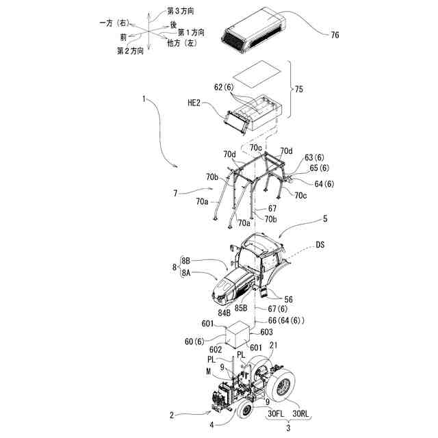
図6は、同実施形態に係る作業車両の分解斜視図である。
図7は、同実施形態に係る作業車両の車体とその周辺機器を含む平面図である。
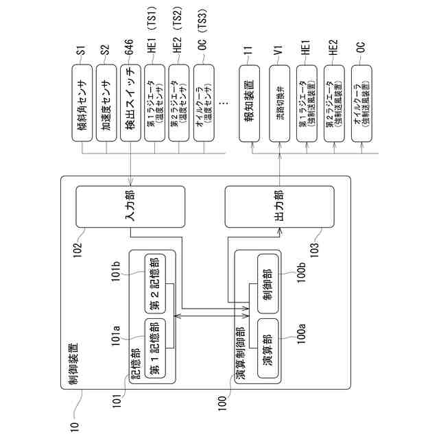
図8は、同実施形態に係る作業車両の電気系統の概略ブロック図である。
図9は、同実施形態に係る作業車両の一部を分解した分解斜視図である。
図10は、図5のX-X断面図である。
図11は、同実施形態に係る作業車両の一部の分解斜視図である。
図12は、同実施形態に係る作業車両のボンネットを取り外した状態の一側面(右側面)図である。
図13は、同実施形態に係る作業車両のボンネットを取り外した状態の他側面(左側面)図である。
図14は、同実施形態に係る作業車両のタンクの斜視図である。
図15は、同実施形態に係る作業車両の接続装置とタンクとに繋がる配管の配置に関する説明図であって、フレームを中心とした部分拡大側面図である。
図16は、同実施形態に係る作業車両の接続装置及び支持構造の分解斜視図である。
図17は、同実施形態に係る作業車両の接続装置及び支持構造の部分断面を含む斜視図である。
図18は、同実施形態に係る作業車両の接続装置及び支持構造の背面側から見た斜視図である。
図19は、同実施形態に係る作業車両の減圧部周辺の部分斜視図であって、図13のXIX部の拡大斜視図である。
図20は、同実施形態に係る作業車両の減圧部の概略図である。
図21は、同実施形態に係る作業車両のタンクを支持するフレームの斜視図である。
図22は、同実施形態に係る作業車両の第1ボンネットを開放した状態の斜視図である。
図23は、同実施形態に係る作業車両のフレームと車体とを分解するとともに、第2ボンネットを構成するパーツ(部材)を分解した状態の斜視図である。
図24は、同実施形態に係る作業車両の第2ボンネット周辺の斜視図であって、第2ボンネットを構成するパーツ(部材)を分解した状態の左斜め上方から見た斜視図である。
図25は、同実施形態に係る作業車両の第2ボンネット周辺の斜視図であって、第2ボンネットを構成するパーツ(部材)を分解した状態の右斜め上方から見た斜視図である。
図26は、同実施形態に係る作業車両の燃料電池及び支持フレームを中心とした斜視図であって、左斜め上方から見た斜視図である。
図27は、同実施形態に係る作業車両の燃料電池及び支持フレームを中心とした斜視図であって、右斜め上方から見た斜視図である。
図28は、同実施形態に係る作業車両のボンネット、燃料電池及び支持フレームの配置を説明するため概略断面図であって、図5のXXVIII-XXVIII断面図である。
図29は、同実施形態に係る作業車両のボンネットと支持フレームの配置を説明するため部分拡大概要図であって、ボンネット周辺の部分のを中心とした部分拡大図である。
図30は、本発明の他実施形態に係る作業車両の背面図である。
【発明を実施するための形態】
【0009】
以下、本発明の一実施形態に係る作業車両について、図面を参照しつつ説明する。なお、以下の説明において、作業車両の直進方向(前進・後退する方向)及び上下方向と直交する方向(車幅方向)を第1方向ということとし、作業車両1の直進方向(前進・後退する方向:前後方向)を第2方向ということとする。また、第2方向において、作業車両の前進側を前方といい、作業車両の後退側を後方ということする。これらの定義に併せ、上下方向を第3方向ということとする。
【0010】
図1~図5に示すように、本実施形態の作業車両1は、農作業の目的や用途に応じた作業装置を連結して使用するトラクタである。作業車両1は、走行可能な車体2を備える。具体的には、作業車両1は、車体2と、車体2を走行可能に支持する走行装置3と、を備える。作業車両1は、走行装置3を操舵するステアリング装置4を備える。
(【0011】以降は省略されています)
この特許をJ-PlatPat(特許庁公式サイト)で参照する
関連特許
株式会社クボタ
作業車
1か月前
株式会社クボタ
作業車
28日前
株式会社クボタ
作業車
22日前
株式会社クボタ
作業車
28日前
株式会社クボタ
作業車
1か月前
株式会社クボタ
作業車
29日前
株式会社クボタ
作業車
1か月前
株式会社クボタ
作業機
15日前
株式会社クボタ
作業車
1か月前
株式会社クボタ
移植機
1か月前
株式会社クボタ
移植機
1か月前
株式会社クボタ
作業車
1か月前
株式会社クボタ
作業車
1か月前
株式会社クボタ
作業車
9日前
株式会社クボタ
作業車
1か月前
株式会社クボタ
作業車
1か月前
株式会社クボタ
作業車
7日前
株式会社クボタ
作業車
7日前
株式会社クボタ
作業車
1か月前
株式会社クボタ
作業機
1日前
株式会社クボタ
作業車
23日前
株式会社クボタ
作業車両
1か月前
株式会社クボタ
作業車両
29日前
株式会社クボタ
作業車両
28日前
株式会社クボタ
作業車両
28日前
株式会社クボタ
作業車両
1か月前
株式会社クボタ
作業車両
16日前
株式会社クボタ
作業車両
7日前
株式会社クボタ
作業車両
7日前
株式会社クボタ
ガスケット
1か月前
株式会社クボタ
圃場作業車
1か月前
株式会社クボタ
コンバイン
1か月前
株式会社クボタ
豆類選別機
1か月前
株式会社クボタ
豆類選別機
1か月前
株式会社クボタ
豆類選別機
1か月前
株式会社クボタ
コンバイン
1か月前
続きを見る
他の特許を見る