TOP
|
特許
|
意匠
|
商標
特許ウォッチ
Twitter
他の特許を見る
公開番号
2025158019
公報種別
公開特許公報(A)
公開日
2025-10-16
出願番号
2024060440
出願日
2024-04-03
発明の名称
ガスケット
出願人
株式会社クボタ
代理人
弁理士法人芳野国際特許事務所
主分類
F16J
15/10 20060101AFI20251008BHJP(機械要素または単位;機械または装置の効果的機能を生じ維持するための一般的手段)
要約
【課題】複雑な機構を設けることなく作業性良く仮止めすることができるガスケット1を提供すること。
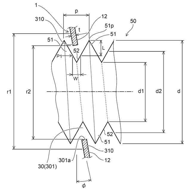
【解決手段】本発明の一態様は、貫通孔11の外側に板状部分12を有する本体部10と、板状部分12における貫通孔11の縁11aの外側を囲むように設けられるビード部20と、板状部分12におけるビード部20よりも外側の位置に設けられ、取付用ボルト50が挿入される複数の取付用孔30と、を備えるガスケット1であって、複数の取付用孔30のうちの少なくとも1つを第1取付用孔301として、第1取付用孔301の縁301aは複数の突出部310を有し、第1取付用孔301の内径のうちの最大径r1は取付用ボルト50の外径dよりも大きく、第1取付用孔301の内径のうちの最小径r2は取付用ボルト50の外径dよりも小さく、板状部分12の厚さtは取付用ボルト50のねじ溝52の第1位置P1での幅Wよりも小さいことを特徴とする。
【選択図】図4
特許請求の範囲
【請求項1】
中央部に貫通孔を有し、前記貫通孔の外側に板状部分を有する本体部と、
前記板状部分における前記貫通孔の縁の外側を囲むように設けられるビード部と、
前記板状部分における前記ビード部よりも外側の位置に設けられ、取付用ボルトが挿入される複数の取付用孔と、
を備えるガスケットであって、
前記複数の取付用孔のうちの少なくとも1つを第1取付用孔として、
前記第1取付用孔の縁は、前記第1取付用孔の中心側に向けて突出する複数の突出部を有し、
前記第1取付用孔の内径のうちの最大径は、前記取付用ボルトの外径よりも大きく、
前記第1取付用孔の内径のうちの最小径は、前記取付用ボルトの外径よりも小さく、
前記板状部分の厚さは、前記取付用ボルトのねじ溝の第1位置での幅よりも小さく、
前記第1位置は、前記突出部の突出長さをLとしたとき、前記取付用ボルトのねじ山の先端からねじの谷に向けて突出長さLだけ離れた位置である、ことを特徴とするガスケット。
続きを表示(約 510 文字)
【請求項2】
前記第1取付用孔は、前記複数の取付用孔の任意の2つの取付用孔の中心間距離が最長となる2つの取付用孔のうちの一方である、請求項1に記載のガスケット。
【請求項3】
前記複数の突出部は、前記第1取付用孔の周方向に等間隔で設けられる、請求項1に記載のガスケット。
【請求項4】
前記複数の突出部は、前記第1取付用孔の周方向に6つ設けられる、請求項3に記載のガスケット。
【請求項5】
前記本体部は、芯部材と、前記芯部材よりも弾性率の低い材料で設けられ前記芯部材の表裏を覆う被覆部材と、を有する、請求項1に記載のガスケット。
【請求項6】
前記芯部材は金属を含み、前記被覆部材は樹脂を含む、請求項5に記載のガスケット。
【請求項7】
前記第1取付用孔の縁は、前記被覆部材が設けられずに前記芯部材が露出する、請求項5に記載のガスケット。
【請求項8】
前記突出部の先端は曲面形状である、請求項1に記載のガスケット。
【請求項9】
前記突出部の基端は曲面形状である、請求項1に記載のガスケット。
発明の詳細な説明
【技術分野】
【0001】
本発明は、2つの部材の締結において間に挟持されるガスケットに関する。
続きを表示(約 2,400 文字)
【背景技術】
【0002】
特許文献1には、ガスケットのボルト挿入穴に取付けボルトを挿入することが容易にできて、簡便にフランジ面に配置でき、更に、この取付けボルトに容易に仮止めできて、取付け時の作業効率を向上できるガスケットが開示される。このガスケットは、下方に突出する複数の取付けボルトを有する第1部材とこれに当接する第2部材との間に挟持されるガスケットにおいて、前記取付けボルトが貫通するボルト挿通穴の内少なくとも一つの前記ボルト挿通穴を、他の前記ボルト挿通穴より小径でかつ、前記取付けボルトの外径より大きいが、前記第1部材側に前記取付けボルトを挿入して、前記第1部材に対して傾斜し、挿通穴の周辺部分の少なくとも一部が前記取付けボルトのネジに噛合して該ガスケットを仮止めする口径にボルト係合穴に形成したものである。
【0003】
特許文献2には、ボルトに嵌めたとき、落下しないように仮止めできるようにしたガスケットが開示される。このガスケットは、ボルトとその取付部材との間の密封に使用する環状のガスケットであって、金属製の環状保持板と、この保持板の外周面を除く表面に被着した断面コ字形の環状ゴム板とよりなり、かつ前記環状ゴム板の穴は、その内周面に、一定間隔で厚さ方向に設けた凸条の頂部に接する仮想的な小円筒穴と、前記凸条の間の凹溝の底部に接する仮想的な大円筒穴とを有し、前記小円筒穴の径は、前記ボルトの径よりわずかに小さくし、前記大円筒穴の径は、前記ボルトの径とほぼ同じにしたことを特徴とする。
【0004】
特許文献3には、排気マニホルドを貫通するねじ部品、例えばねじ付きボルトのねじを損傷することなく、このねじ付きボルトに保持させる金属ガスケットが開示される。このガスケットは、ねじの外径及びねじの谷の径を持つ少なくとも1個のねじ部品により互いに締付けられた2つの金属表面を密封するガスケットにおいて、前記外径より大きい第1の内径を持ち、前記ねじ部品を受入れる少なくとも1個の穴と、前記谷の径より大きく前記外径より小さい第2の内径を形成する半径方向内方に延びる複数のタブとを持つ金属板を備え、少なくとも第1の前記タブは、前記第1内径から前記第2内径まで延びる先端を持ち、かつ隣接するスカラップ形部分により一部を形成した側部を持ち、前記タブのうち少なくとも2つのタブの間に前記ねじ部品を前記穴内にねじ込み又この穴からねじ戻すのに十分なだけ大きい円周方向すきまを設けて成るものである。
【0005】
2つの部材間にガスケットを挟んで締結する場合、周辺部材との干渉や取り付け角度の関係などによってはスタッドボルトを使用できないことがある。この場合、部材間に配置したガスケットを保持しにくく、しかも部材間に隠れるガスケットの位置を把握しにくいため、2つの部材間の位置合わせとともにガスケットの位置合わせにも手間がかかることになる。そこで、ガスケットに仮止め機構を設けることで作業性を向上させることができる。仮止め機構としては、ガスケットの一部を折り曲げたり、別途の仮止め部品を取り付けたりすることが挙げられる。しかし、ガスケットの構造の複雑化、厚さの増加、製造工数の増加を招くことになる。また、ガスケットの取付用孔と取付用ボルトとの大きさの関係によってガスケットを仮止めしようとした場合、取付用孔に取付用ボルトを挿通しにくいと作業性を悪化させることになる。
【先行技術文献】
【特許文献】
【0006】
特開平11-051189号公報
特開2002-071025号公報
特開平8-061502号公報
【発明の概要】
【発明が解決しようとする課題】
【0007】
本発明は、前記事情に鑑みてなされたものであり、複雑な機構を設けることなく作業性良く仮止めし、部材間に挟み込んで締結することができるガスケットを提供することを目的とする。
【課題を解決するための手段】
【0008】
本発明の一態様は、中央部に貫通孔を有し、前記貫通孔の外側に板状部分を有する本体部と、前記板状部分における前記貫通孔の縁の外側を囲むように設けられるビード部と、前記板状部分における前記ビード部よりも外側の位置に設けられ、取付用ボルトが挿入される複数の取付用孔と、を備えるガスケットであって、前記複数の取付用孔のうちの少なくとも1つを第1取付用孔として、前記第1取付用孔の縁は、前記第1取付用孔の中心側に向けて突出する複数の突出部を有し、前記第1取付用孔の内径のうちの最大径は、前記取付用ボルトの外径よりも大きく、前記第1取付用孔の内径のうちの最小径は、前記取付用ボルトの外径よりも小さく、前記板状部分の厚さは、前記取付用ボルトのねじ溝の第1位置での幅よりも小さく、前記第1位置は、前記突出部の突出長さをLとしたとき、前記取付用ボルトのねじ山の先端からねじの谷に向けて突出長さLだけ離れた位置である、ことを特徴とするガスケットである。
【発明の効果】
【0009】
本発明によれば、複雑な機構を設けることなく作業性良く仮止めすることができるガスケットを提供することができる。
【図面の簡単な説明】
【0010】
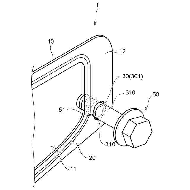
本実施形態に係るガスケットの構成を例示する平面図である。
(a)および(b)は、本実施形態に係るガスケットの構成を例示する断面図である。
第1取付用孔の拡大平面図である。
第1取付用孔と取付用ボルトとの関係を示す模式断面図である。
ガスケットの取り付け例を示す部分斜視図である。
ガスケットの取り付け例を示す部分斜視図である。
【発明を実施するための形態】
(【0011】以降は省略されています)
この特許をJ-PlatPat(特許庁公式サイト)で参照する
関連特許
株式会社クボタ
作業車
1か月前
株式会社クボタ
作業車
1か月前
株式会社クボタ
作業機
27日前
株式会社クボタ
作業車
1か月前
株式会社クボタ
作業車
1か月前
株式会社クボタ
作業車
21日前
株式会社クボタ
作業車
1か月前
株式会社クボタ
作業車
1か月前
株式会社クボタ
作業車
19日前
株式会社クボタ
作業車
19日前
株式会社クボタ
作業機
13日前
株式会社クボタ
作業車
1か月前
株式会社クボタ
作業車
1か月前
株式会社クボタ
作業車
2か月前
株式会社クボタ
作業車
2か月前
株式会社クボタ
移植機
1か月前
株式会社クボタ
作業車
1か月前
株式会社クボタ
作業車
1か月前
株式会社クボタ
作業車
2か月前
株式会社クボタ
作業車
1か月前
株式会社クボタ
作業車
5日前
株式会社クボタ
作業車
1か月前
株式会社クボタ
作業車
1か月前
株式会社クボタ
移植機
1か月前
株式会社クボタ
作業車
1か月前
株式会社クボタ
作業車両
2か月前
株式会社クボタ
作業車両
1か月前
株式会社クボタ
作業車両
1か月前
株式会社クボタ
作業車両
1か月前
株式会社クボタ
作業車両
1か月前
株式会社クボタ
作業車両
2か月前
株式会社クボタ
作業車両
2か月前
株式会社クボタ
作業車両
2か月前
株式会社クボタ
作業車両
1か月前
株式会社クボタ
作業車両
2か月前
株式会社クボタ
作業車両
2か月前
続きを見る
他の特許を見る