TOP
|
特許
|
意匠
|
商標
特許ウォッチ
Twitter
他の特許を見る
公開番号
2025148916
公報種別
公開特許公報(A)
公開日
2025-10-08
出願番号
2024049277
出願日
2024-03-26
発明の名称
作業車
出願人
株式会社クボタ
代理人
弁理士法人R&C
主分類
B60B
35/14 20060101AFI20251001BHJP(車両一般)
要約
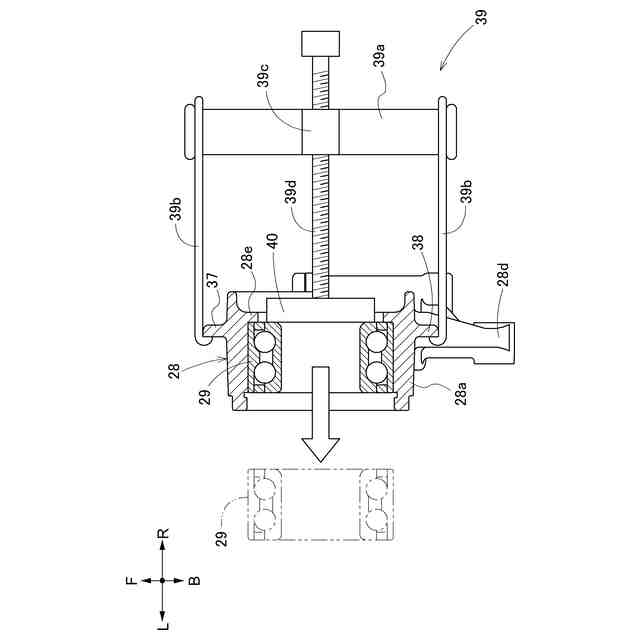
【課題】作業車において、プーラーによりベアリングがナックルから取り出される場合の作業性を向上させる。
【解決手段】プーラー39によりベアリング29が車軸の方向に沿ってナックル28から取り出される場合、プーラー39のアーム39bが掛けられることにより、ベアリング29からプーラー39のネジ部39dに掛かる反力を支える受け部37,38が、ナックル28に備えられている。
【選択図】図5
特許請求の範囲
【請求項1】
サスペンション機構と、
前記サスペンション機構に支えられたナックルと、
前記ナックルに取り付けられたベアリングと、
前記ベアリングにより前記ナックルに回転可能に取り付けられた車軸と、
前記車軸に取り付けられた走行用の車輪とが備えられ、
プーラーにより前記ベアリングが前記車軸の方向に沿って前記ナックルから取り出される場合、前記プーラーのアームが掛けられることにより、前記ベアリングから前記プーラーのネジ部に掛かる反力を支える受け部が、前記ナックルに備えられている作業車。
続きを表示(約 380 文字)
【請求項2】
前記ナックルから外方に向けて延出された一対のアーム部と、
前記車軸に取り付けられ、前記車軸と一体で回転するディスクと、
前記一対のアーム部に取り付けられ、前記ディスクを制動可能なキャリパとが備えられ、
前記受け部が、前記一対のアーム部に亘って接続されている請求項1に記載の作業車。
【請求項3】
前記ナックルの上部に設けられ、前記サスペンション機構のアッパーアームが取り付けられる上取付部と、
前記ナックルの下部に設けられ、前記サスペンション機構のロアアームが取り付けられる下取付部とが備えられ、
前記受け部が、前記ナックルの前部における前記上取付部と前記下取付部との間の部分と、前記ナックルの後部における前記上取付部と前記下取付部との間の部分とに備えられている請求項1に記載の作業車。
発明の詳細な説明
【技術分野】
【0001】
本発明は、作業車におけるメンテンスの構成に関する。
続きを表示(約 1,500 文字)
【背景技術】
【0002】
作業車の一例である多目的車両では、特許文献1に開示されているように、サスペンション機構に支えられたナックルに、車軸が回転可能に取り付けられ、走行用の車輪が車軸に取り付けられたものがある。ナックルには、車軸を支えるベアリングが取り付けられている。
【先行技術文献】
【特許文献】
【0003】
特開2023-136172号公報
【発明の概要】
【発明が解決しようとする課題】
【0004】
特許文献1の作業車において、ナックルのベアリングの交換作業を行う場合、車輪及び車軸が取り外され、プーラーによりベアリングがナックルから取り出される。
本発明は、作業車において、プーラーによりベアリングがナックルから取り出される場合の作業性を向上させることを目的としている。
【課題を解決するための手段】
【0005】
本発明の作業車は、サスペンション機構と、前記サスペンション機構に支えられたナックルと、前記ナックルに取り付けられたベアリングと、前記ベアリングにより前記ナックルに回転可能に取り付けられた車軸と、前記車軸に取り付けられた走行用の車輪とが備えられ、プーラーにより前記ベアリングが前記車軸の方向に沿って前記ナックルから取り出される場合、前記プーラーのアームが掛けられることにより、前記ベアリングから前記プーラーのネジ部に掛かる反力を支える受け部が、前記ナックルに備えられている。
【0006】
本発明によると、作業者がプーラーによりベアリングをナックルから取り出す場合、作業者は、プーラーのアームをナックルの受け部に掛けて、プーラーのネジ部を回転操作して、プーラーのネジ部によりベアリングをナックルに対して押し出し操作(引き出し操作)する。
この場合、受け部がナックルに設けられているので、作業者はプーラーのアームをナックルの受け部に容易に掛けることができる。
【0007】
作業者が、プーラーのネジ部を回転操作して、プーラーのネジ部によりベアリングをナックルに対して押し出し操作(引き出し操作)すると、ベアリングからプーラーのネジ部に掛かる反力が、プーラーのアームを介してナックルの受け部により支えられるので、プーラーによるベアリングの取り出しが安定して行われる。
【0008】
本発明によると、プーラーのアームがナックルの受け部に容易に掛けられる点、及び、プーラーによるベアリングの取り出しが安定して行われる点によって、プーラーによるベアリングの取り出し作業の作業性を向上させることができる。
【0009】
本発明において、前記ナックルから外方に向けて延出された一対のアーム部と、前記車軸に取り付けられ、前記車軸と一体で回転するディスクと、前記一対のアーム部に取り付けられ、前記ディスクを制動可能なキャリパとが備えられ、前記受け部が、前記一対のアーム部に亘って接続されていると好適である。
【0010】
作業車では、車軸と一体で回転するディスクと、ナックルに取り付けられたキャリパとが備えられて、ディスクブレーキが構成されることがある。
本発明によると、ナックルから外方に向けて延出された一対のアーム部に、キャリパが取り付けられており、受け部がナックルの一対のアーム部に亘って接続されている。
これにより、ナックルのアーム部が受け部により補強されて、キャリパのナックルへの取り付け強度が向上するので、ディスクブレーキの性能向上を図ることができる。
(【0011】以降は省略されています)
この特許をJ-PlatPat(特許庁公式サイト)で参照する
関連特許
株式会社クボタ
作業車
9日前
株式会社クボタ
田植機
1か月前
株式会社クボタ
作業車
2日前
株式会社クボタ
作業車
2日前
株式会社クボタ
作業車
11日前
株式会社クボタ
作業車
9日前
株式会社クボタ
作業車
1か月前
株式会社クボタ
作業機
1か月前
株式会社クボタ
作業車
1か月前
株式会社クボタ
作業機
21日前
株式会社クボタ
田植機
1か月前
株式会社クボタ
田植機
1か月前
株式会社クボタ
作業車
1か月前
株式会社クボタ
作業車
1日前
株式会社クボタ
作業車
1日前
株式会社クボタ
作業車
1日前
株式会社クボタ
作業車
1か月前
株式会社クボタ
作業車両
11日前
株式会社クボタ
作業車両
11日前
株式会社クボタ
作業車両
11日前
株式会社クボタ
作業車両
11日前
株式会社クボタ
作業車両
11日前
株式会社クボタ
作業車両
11日前
株式会社クボタ
作業車両
11日前
株式会社クボタ
作業車両
11日前
株式会社クボタ
作業車両
1日前
株式会社クボタケミックス
伸縮継手
1か月前
株式会社クボタ
作業車両
1日前
株式会社クボタ
作業車両
11日前
株式会社クボタ
多目的車両
2日前
株式会社クボタ
多目的車両
2日前
株式会社クボタ
圃場作業車
1か月前
株式会社クボタ
圃場作業車
1か月前
株式会社クボタ
コンバイン
2日前
株式会社クボタ
多目的車両
2日前
株式会社クボタ
多目的車両
2日前
続きを見る
他の特許を見る