TOP
|
特許
|
意匠
|
商標
特許ウォッチ
Twitter
他の特許を見る
公開番号
2025130361
公報種別
公開特許公報(A)
公開日
2025-09-08
出願番号
2024027485
出願日
2024-02-27
発明の名称
作業車
出願人
株式会社クボタ
代理人
弁理士法人R&C
主分類
B60K
17/10 20060101AFI20250901BHJP(車両一般)
要約
【課題】カム式の付勢機構における調節作業をできるだけ簡単に行えるようにすることが要望されていた。
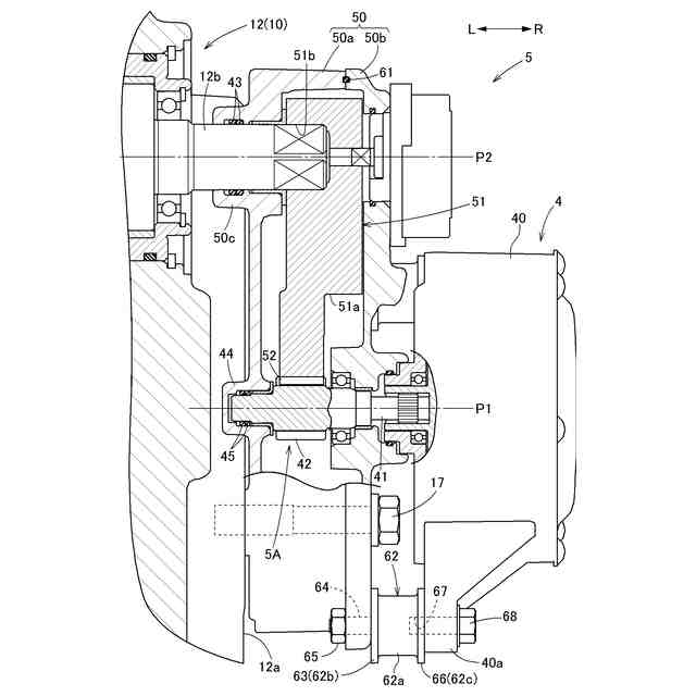
【解決手段】動力出力用の静油圧式無段変速装置12と、変速操作用の電動モータ4と、電動モータ4の変速操作軸41と静油圧式無段変速装置12のトラニオン軸12bとを連係するギア噛み合い式の連係機構5Aと、トラニオン軸12bを変速中立位置に復帰付勢するカム式の付勢機構5Bと、連係機構5A及び付勢機構5Bを内装するケーシング50と、が備えられ、付勢機構5Bに、変速中立位置に対応する付勢作用位置を調節可能な位置調節部48が備えられ、ケーシング50の位置調節部48に対応する箇所に開口58が形成され、開口58が取り外し可能な蓋体59にて閉塞されている。
【選択図】図3
特許請求の範囲
【請求項1】
動力出力用の静油圧式無段変速装置と、
変速操作用の電動モータと、
前記電動モータの変速操作軸と前記静油圧式無段変速装置のトラニオン軸とを連係するギア噛み合い式の連係機構と、
前記トラニオン軸を変速中立位置に復帰付勢するカム式の付勢機構と、
前記連係機構及び前記付勢機構を内装するケーシングと、が備えられ、
前記付勢機構に、前記変速中立位置に対応する付勢作用位置を調節可能な位置調節部が備えられ、
前記ケーシングの前記位置調節部に対応する箇所に開口が形成され、
前記開口が取り外し可能な蓋体にて閉塞されている作業車。
続きを表示(約 800 文字)
【請求項2】
前記ケーシングの内部に潤滑油を貯留可能に構成され、
前記開口が前記ケーシングの上部に形成され、
前記開口を通して潤滑油を前記ケーシングの内部に供給可能である請求項1に記載の作業車。
【請求項3】
前記電動モータが前記ケーシングの外部から防振ゴムを介して前記ケーシングに連結固定されている請求項1に記載の作業車。
【請求項4】
前記防振ゴムの両側部にボルト連結にて前記電動モータ及び前記ケーシングに取り付けられる取付部が備えられ、
前記電動モータ側の前記取付部に連結用ボルトが螺合する雌ネジ部が備えられている請求項3に記載の作業車。
【請求項5】
前記ケーシングの前記変速操作軸が挿通する箇所、及び、前記ケーシングの前記トラニオン軸が挿通する箇所に、弾性体からなるリング状のシール部材が備えられている請求項1に記載の作業車。
【請求項6】
前記付勢機構に、
前記トラニオン軸と一体に揺動し、かつ、案内用カムを有する揺動アームと、
前記トラニオン軸の軸心と平行な軸心周りで揺動し、かつ、前記案内用カムに作用するカムフォロアを有する操作体と、
前記カムフォロアが前記案内用カムに向けて押し付けられるように前記操作体を揺動付勢するバネと、が備えられ、
前記位置調節部は、前記操作体の揺動軸心位置を変更することにより前記カムフォロアの前記案内用カムに対する押し作用位置を変更調節する請求項1から5のいずれか一項に記載の作業車。
【請求項7】
前記トラニオン軸と前記揺動アームとが角形嵌合状態で嵌り合うように接続され、
前記揺動アームに、前記トラニオン軸の径方向に沿って延び、かつ、前記トラニオン軸に接当するネジが装着されている請求項6に記載の作業車。
発明の詳細な説明
【技術分野】
【0001】
本発明は、例えば、トラクタや田植え機、収穫機等の作業車に関し、より詳しくは、静油圧式無段変速装置のトラニオン軸を電動モータで変速制御するようにした作業車に関する。
続きを表示(約 1,400 文字)
【背景技術】
【0002】
上記作業車において、従来では、例えばトラクタに適用したものとして、特許文献1に記載されたものがある。すなわち、電動モータの変速操作軸と静油圧式無段変速装置のトラニオン軸とを連係するギア噛み合い式の連係機構と、トラニオン軸を変速中立位置に復帰付勢するカム式の付勢機構と、が備えられ、それらがケーシングに内装される状態で備えられている。そして、ケーシングは固定側ケース部と外側ケース部とからなる2分割構造となっており、カムの変速中立位置に対応するカムフォロアの位置を微調節することで、付勢機構における変速中立位置に対応する付勢作用位置を調節するための位置調節部が備えられ、この位置調節部の調節作業を行う場合には、ケーシングの外側ケース部を取り外す構成となっていた。
【先行技術文献】
【特許文献】
【0003】
特開2023-95653号公報
【発明の概要】
【発明が解決しようとする課題】
【0004】
上記従来構成では、カムに対するカムフォロアの対応位置を微調節する場合には、ケーシングの外側ケース部を取り外す必要がある。外側ケース部は大型の部材であり、しかも、外面側には電動モータが装着されているので、電動モータも合わせて取り外す必要があり、煩わしい作業となっていた。
【0005】
そこで、カム式の付勢機構における調節作業をできるだけ簡単に行えるようにすることが要望されていた。
【課題を解決するための手段】
【0006】
本発明に係る作業車の特徴構成は、動力出力用の静油圧式無段変速装置と、変速操作用の電動モータと、前記電動モータの変速操作軸と前記静油圧式無段変速装置のトラニオン軸とを連係するギア噛み合い式の連係機構と、前記トラニオン軸を変速中立位置に復帰付勢するカム式の付勢機構と、前記連係機構及び前記付勢機構を内装するケーシングと、が備えられ、前記付勢機構に、前記変速中立位置に対応する付勢作用位置を調節可能な位置調節部が備えられ、前記ケーシングの前記位置調節部に対応する箇所に開口が形成され、前記開口が取り外し可能な蓋体にて閉塞されている点にある。
【0007】
本発明によれば、ケーシングの前記位置調節部に対応する箇所に開口が形成されており、蓋体を取り外して開口を介して位置調節部に対する位置調節作業を行うことができる。その結果、ケーシングの外側ケース部等のような大型の部材を取り外す等の煩わしい作業を要することなく、カム式の付勢機構における調節作業を容易に行える。
【0008】
本発明においては、前記ケーシングの内部に潤滑油を貯留可能に構成され、前記開口が前記ケーシングの上部に形成され、前記開口を通して潤滑油を前記ケーシングの内部に供給可能であると好適である。
【0009】
本構成によれば、調節作業用の開口を利用して容易に潤滑油を供給することができる。又、ケーシングの内部に潤滑油を貯留することで、ギア同士の歯打ちに起因した騒音をできるだけ低減することが可能となる。
【0010】
本発明においては、前記電動モータが前記ケーシングの外部から防振ゴムを介して前記ケーシングに連結固定されていると好適である。
(【0011】以降は省略されています)
この特許をJ-PlatPat(特許庁公式サイト)で参照する
関連特許
株式会社クボタ
作業機
1か月前
株式会社クボタ
作業車
5日前
株式会社クボタ
作業車
12日前
株式会社クボタ
作業車
13日前
株式会社クボタ
作業車
13日前
株式会社クボタ
作業車
22日前
株式会社クボタ
作業車
1か月前
株式会社クボタ
作業車
20日前
株式会社クボタ
作業車
20日前
株式会社クボタ
作業車
12日前
株式会社クボタ
作業車
5日前
株式会社クボタ
移植機
5日前
株式会社クボタ
移植機
5日前
株式会社クボタ
作業車
4日前
株式会社クボタ
作業車
4日前
株式会社クボタ
作業車
12日前
株式会社クボタ
作業車両
22日前
株式会社クボタ
作業車両
22日前
株式会社クボタ
作業車両
22日前
株式会社クボタ
作業車両
22日前
株式会社クボタ
作業車両
22日前
株式会社クボタ
作業車両
22日前
株式会社クボタ
作業車両
22日前
株式会社クボタ
作業車両
22日前
株式会社クボタ
作業車両
22日前
株式会社クボタ
作業車両
12日前
株式会社クボタ
作業車両
12日前
株式会社クボタ
多目的車両
13日前
株式会社クボタ
多目的車両
4日前
株式会社クボタ
多目的車両
4日前
株式会社クボタ
多目的車両
4日前
株式会社クボタ
ガスケット
5日前
株式会社クボタ
豆類選別機
7日前
株式会社クボタ
豆類選別機
7日前
株式会社クボタ
豆類選別機
7日前
株式会社クボタ
豆類選別機
7日前
続きを見る
他の特許を見る