TOP
|
特許
|
意匠
|
商標
特許ウォッチ
Twitter
他の特許を見る
公開番号
2025155405
公報種別
公開特許公報(A)
公開日
2025-10-14
出願番号
2024059220
出願日
2024-04-01
発明の名称
豆類選別機
出願人
株式会社クボタ
代理人
弁理士法人R&C
主分類
B07C
5/342 20060101AFI20251006BHJP(固体相互の分離;仕分け)
要約
【課題】受光部等に残留した残留物を取り除く作業を軽減することを可能とする豆類選別機を提供する。
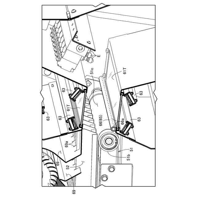
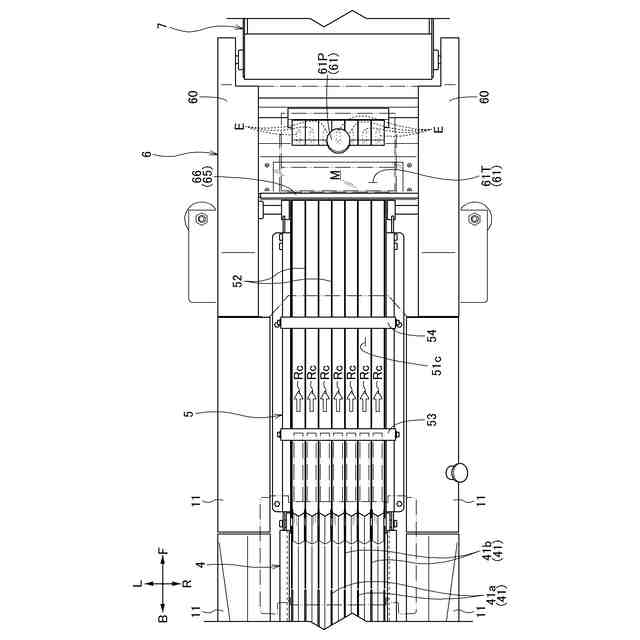
【解決手段】被選別物Gを長尺方向が搬送方向に沿う姿勢で計測対象領域を通過させるように被選別物Gを搬送する送出部5と、計測対象領域Mを照明する照明部63と、照明部63にて照射され、かつ、計測対象領域Mに位置する被選別物Gにて反射した光を受光する受光部61と、受光部61の受光情報に基づいて前記被選別物の良否を判別する良否判別部と、良否判別部の判別結果に基づいて被選別物Gを良品と不良品とに選別する良否選別部Eと、受光部61に残留している残留物を除去する除去部65と、が備えられている。
【選択図】図5
特許請求の範囲
【請求項1】
被選別物を長尺方向が搬送方向に沿う姿勢で計測対象領域を通過させるように前記被選別物を搬送する送出部と、
前記計測対象領域を照明する照明部と、
前記照明部にて照射され、かつ、前記計測対象領域に位置する前記被選別物にて反射した光を受光する受光部と、
前記受光部の受光情報に基づいて前記被選別物の良否を判別する良否判別部と、
前記良否判別部の判別結果に基づいて前記被選別物を良品と不良品とに選別する良否選別部と、
前記受光部に残留している残留物を除去する除去部と、が備えられている豆類選別機。
続きを表示(約 700 文字)
【請求項2】
前記受光部の受光情報に基づいて前記受光部に残留物が残留しているか否かを判定する判定部が備えられ、
前記除去部は、前記判定部が前記受光部に残留物が残留していると判定したときに、前記受光部に残留している残留物を除去するための処理を行う請求項1に記載の豆類選別機。
【請求項3】
前記判定部は、前記受光部の受光情報から所定時間を超えて動かない物が存在することを検出したときに、前記受光部に残留物が残留しているしていると判定する請求項2に記載の豆類選別機。
【請求項4】
前記受光部は、光を受光する受光装置と、前記計測対象領域と前記受光装置との間に位置し、光を透過する板状部材からなる透過部材と、を有し、
前記除去部は、前記透過部材に残留している残留物を除去する請求項1に記載の豆類選別機。
【請求項5】
前記除去部は、前記受光部に向けて空気を噴射することで前記受光部に残留している残留物を吹き飛ばす空気噴射装置を有する請求項1から4のいずれか一項に記載の豆類選別機。
【請求項6】
前記送出部は、前記計測対象領域に向けて延び、横並び状態で複数設けられている送出経路を有し、
前記空気噴射装置は、空気を噴射する噴射孔を横並び状態で複数有する請求項5に記載の豆類選別機。
【請求項7】
前記送出部側から前記受光部に向けて空気を送風する送風部が備えられている請求項1に記載の豆類選別機。
【請求項8】
前記送風部は、前記送出部の上方に配置されている請求項7に記載の豆類選別機。
発明の詳細な説明
【技術分野】
【0001】
本発明は、枝豆等の豆類を選別する豆類選別機に関する。
続きを表示(約 1,100 文字)
【背景技術】
【0002】
従来の豆類選別機として、例えば特許文献1に記載されているような豆類である枝豆を、画像撮影装置等からの情報、または、反射した光を受光する受光部からの受光情報に基づいて、良品及び不良品に選別する枝豆選別機があった。
【先行技術文献】
【特許文献】
【0003】
特開2017-080661号公報
【発明の概要】
【発明が解決しようとする課題】
【0004】
このような枝豆選別機では、画像撮影装置や受光部等に枝豆が残留してしまうという不都合があった。また、枝豆だけでなく、枝豆に付着していた泥土が画像撮影装置や受光部等に付着し、残留してしまうという不都合があった。
【0005】
このように、受光部等に残留物が残留することにより、枝豆の選別が正確に行われないということがあることから、手作業により残留物を取り除く作業を行う必要があった。
【0006】
そこで本発明は、受光部等に残留した残留物を取り除く作業を軽減することを可能とする豆類選別機を提供することを目的とする。
【課題を解決するための手段】
【0007】
本発明の豆類選別機は、被選別物を長尺方向が搬送方向に沿う姿勢で計測対象領域を通過させるように前記被選別物を搬送する送出部と、前記計測対象領域を照明する照明部と、前記照明部にて照射され、かつ、前記計測対象領域に位置する前記被選別物にて反射した光を受光する受光部と、前記受光部の受光情報に基づいて前記被選別物の良否を判別する良否判別部と、前記良否判別部の判別結果に基づいて前記被選別物を良品と不良品とに選別する良否選別部と、前記受光部に残留している残留物を除去する除去部と、が備えられている。
【0008】
この発明によれば、除去部により受光部に残留している残留物が除去されるため、手作業により残留物を取り除く作業を軽減することが可能となる。
【0009】
本発明においては、前記受光部の受光情報に基づいて前記受光部に残留物が残留しているか否かを判定する判定部が備えられ、前記除去部は、前記判定部が前記受光部に残留物が残留していると判定したときに、前記受光部に残留している残留物を除去するための処理を行うと好適である。
【0010】
この構成によれば、判定部により受光部に残留物が残留していると判定されたときにのみ、除去部の処理が行われるため、除去部の処理が常に行われている場合と比べて、電気代等のコストを抑えることが可能となる。
(【0011】以降は省略されています)
この特許をJ-PlatPat(特許庁公式サイト)で参照する
関連特許
株式会社クボタ
作業機
27日前
株式会社クボタ
移植機
今日
株式会社クボタ
作業車
8日前
株式会社クボタ
作業車
8日前
株式会社クボタ
作業車
15日前
株式会社クボタ
作業車
7日前
株式会社クボタ
作業車
7日前
株式会社クボタ
作業車
7日前
株式会社クボタ
作業車
15日前
株式会社クボタ
移植機
今日
株式会社クボタ
作業車
今日
株式会社クボタ
作業車
今日
株式会社クボタ
作業車
17日前
株式会社クボタ
作業車両
17日前
株式会社クボタ
作業車両
17日前
株式会社クボタ
作業車両
17日前
株式会社クボタ
作業車両
17日前
株式会社クボタ
作業車両
7日前
株式会社クボタ
作業車両
7日前
株式会社クボタ
作業車両
17日前
株式会社クボタ
作業車両
17日前
株式会社クボタ
作業車両
17日前
株式会社クボタ
作業車両
17日前
株式会社クボタ
作業車両
17日前
株式会社クボタ
コンバイン
8日前
株式会社クボタ
圃場作業車
8日前
株式会社クボタ
コンバイン
8日前
株式会社クボタ
多目的車両
8日前
株式会社クボタ
多目的車両
8日前
株式会社クボタ
多目的車両
8日前
株式会社クボタ
ガスケット
今日
株式会社クボタ
多目的車両
8日前
株式会社クボタ
多目的車両
2日前
株式会社クボタ
豆類選別機
2日前
株式会社クボタ
豆類選別機
2日前
株式会社クボタ
豆類選別機
2日前
続きを見る
他の特許を見る