TOP
|
特許
|
意匠
|
商標
特許ウォッチ
Twitter
他の特許を見る
10個以上の画像は省略されています。
公開番号
2025141355
公報種別
公開特許公報(A)
公開日
2025-09-29
出願番号
2024041250
出願日
2024-03-15
発明の名称
作業車両
出願人
株式会社クボタ
代理人
安田岡本弁理士法人
主分類
B60K
1/00 20060101AFI20250919BHJP(車両一般)
要約
【課題】 本発明は、燃料電池の発電時に生成される水と空気を適切に排出させることのできる作業車両を提供する。
【解決手段】 本発明は、運転席と、燃料電池と、燃料電池の発電に伴って発生する排気排水を外部に排出する排出管と、を備え、排出管は、運転席と燃料電池との間に配置される。
【選択図】図4
特許請求の範囲
【請求項1】
運転席と、
燃料電池と、
前記燃料電池の発電に伴って発生する排気排水を外部に排出する排出管と、
を備え、
前記排出管は、前記運転席と前記燃料電池との間に配置される作業車両。
続きを表示(約 670 文字)
【請求項2】
前記排出管は、前記燃料電池に接続される接続端と、当該接続端からの排気排水を排出する開放端と、を有し、
前記開放端は、前記接続端よりも下方に配置されている請求項1に記載の作業車両。
【請求項3】
前記排出管の前記開放端は、下方又は斜め下方に向いている請求項2に記載の作業車両。
【請求項4】
前記運転席及び前記燃料電池を支持する車体と、
前記車体を走行可能に支持する走行装置と、を備え、
前記運転席及び前記燃料電池は、前記車体上で前後方向に並んで配置され、
前記排出管の終端部は、幅方向の斜め下方に延びている請求項1~3のいずれか1項に記載の作業車両。
【請求項5】
前記運転席の前方に配置されたフロントガラスを含み、
前記燃料電池は、前記フロントガラスの前方に配置され、
前記排出管は、前記フロントガラスの前方且つ前記燃料電池の後方に配置されている請求項4に記載の作業車両。
【請求項6】
運転席に乗降するステップを備え、
前記排出管は、前記ステップの前方又は後方に配置されている請求項1に記載の作業車両。
【請求項7】
前記燃料電池で発電した電力を蓄電する蓄電装置を備え、
前記排出管は、前記蓄電装置の前方又は後方に配置されている請求項1に記載の作業車両。
【請求項8】
前記排出管の終端部は、前記車体の最下部よりも上方に位置している請求項4に記載の作業車両。
発明の詳細な説明
【技術分野】
【0001】
本発明は、燃料電池を備えた作業車両に関する。
続きを表示(約 2,500 文字)
【背景技術】
【0002】
従来から、トラクタ等の作業車両には、ガスによって発電する燃料電池を備え、燃料電池で発電した電力で駆動するものがある(例えば、特許文献1参照)。
【先行技術文献】
【特許文献】
【0003】
特開2023-13186号公報
【発明の概要】
【発明が解決しようとする課題】
【0004】
ところで、燃料電池は、発電時(ガスの反応時)に水を生成するが、生成された水(生成水)が排出されずに滞留することがある。すなわち、生成された水及び燃料電池内にある空気(気体)のを排出するための経路が長くなると、生成された水が燃料電池や経路内で滞留し易くなる。その結果、発電に用いられるガスの供給が阻害され、燃料電池の発電効率を低下させてしてしまう。
【0005】
そこで、本発明は、燃料電池の発電時に生成される水と空気を適切に排出させることのできる作業車両を提供する。
【課題を解決するための手段】
【0006】
本発明の作業車両は、運転席と、燃料電池と、前記燃料電池の発電に伴って発生する排気排水を外部に排出する排出管と、を備え、前記排出管は、前記運転席と前記燃料電池との間に配置される。
【発明の効果】
【0007】
本発明は、燃料電池の発電時に生成される水と空気を適切に排出できる。
【図面の簡単な説明】
【0008】
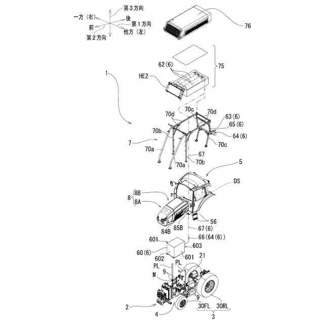
図1は、本発明の一実施形態に係る作業車両の全体斜視図である。
図2は、同実施形態に係る作業車両の正面図である。
図3は、同実施形態に係る作業車両の背面図である。
図4は、同実施形態に係る作業車両の一側面(右側面)図である。
図5は、同実施形態に係る作業車両の他側面(左側面)図である。
図6は、同実施形態に係る作業車両の分解斜視図である。
図7は、同実施形態に係る作業車両の車体とその周辺機器を含む平面図である。
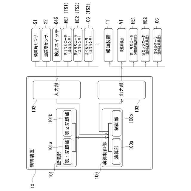
図8は、同実施形態に係る作業車両の電気系統の概略ブロック図である。
図9は、同実施形態に係る作業車両の一部を分解した分解斜視図である。
図10は、図5のX-X断面図である。
図11は、同実施形態に係る作業車両の一部の分解斜視図である。
図12は、同実施形態に係る作業車両のボンネットを取り外した状態の一側面(右側面)図である。
図13は、同実施形態に係る作業車両のボンネットを取り外した状態の他側面(左側面)図である。
図14は、同実施形態に係る作業車両のタンクの斜視図である。
図15は、同実施形態に係る作業車両の接続装置とタンクとに繋がる配管の配置に関する説明図であって、フレームを中心とした部分拡大側面図である。
図16は、同実施形態に係る作業車両の接続装置及び支持構造の分解斜視図である。
図17は、同実施形態に係る作業車両の接続装置及び支持構造の部分断面を含む斜視図である。
図18は、同実施形態に係る作業車両の接続装置及び支持構造の背面側から見た斜視図である。
図19は、同実施形態に係る作業車両の減圧部周辺の部分斜視図であって、図13のXIX部の拡大斜視図である。
図20は、同実施形態に係る作業車両の減圧部の概略図である。
図21は、同実施形態に係る作業車両のタンクを支持するフレームの斜視図である。
図22は、同実施形態に係る作業車両の第1ボンネットを開放した状態の斜視図である。
図23は、同実施形態に係る作業車両のフレームと車体とを分解するとともに、第2ボンネットを構成するパーツ(部材)を分解した状態の斜視図である。
図24は、同実施形態に係る作業車両の第2ボンネット周辺の斜視図であって、第2ボンネットを構成するパーツ(部材)を分解した状態の左斜め上方から見た斜視図である。
図25は、同実施形態に係る作業車両の第2ボンネット周辺の斜視図であって、第2ボンネットを構成するパーツ(部材)を分解した状態の右斜め上方から見た斜視図である。
図26は、同実施形態に係る作業車両の燃料電池及び支持フレームを中心とした斜視図であって、左斜め上方から見た斜視図である。
図27は、同実施形態に係る作業車両の燃料電池及び支持フレームを中心とした斜視図であって、右斜め上方から見た斜視図である。
図28は、同実施形態に係る作業車両のボンネット、燃料電池及び支持フレームの配置を説明するため概略断面図であって、図5のXXVIII-XXVIII断面図である。
図29は、同実施形態に係る作業車両のボンネットと支持フレームの配置を説明するため部分拡大概要図であって、ボンネット周辺の部分のを中心とした部分拡大図である。
図30は、本発明の他実施形態に係る作業車両の背面図である。
【発明を実施するための形態】
【0009】
以下、本発明の一実施形態に係る作業車両について、図面を参照しつつ説明する。なお、以下の説明において、作業車両の直進方向(前進・後退する方向)及び上下方向と直交する方向(車幅方向)を第1方向ということとし、作業車両1の直進方向(前進・後退する方向:前後方向)を第2方向ということとする。また、第2方向において、作業車両の前進側を前方といい、作業車両の後退側を後方ということする。これらの定義に併せ、上下方向を第3方向ということとする。
【0010】
図1~図5に示すように、本実施形態の作業車両1は、農作業の目的や用途に応じた作業装置を連結して使用するトラクタである。作業車両1は、走行可能な車体2を備える。具体的には、作業車両1は、車体2と、車体2を走行可能に支持する走行装置3と、を備える。作業車両1は、走行装置3を操舵するステアリング装置4を備える。
(【0011】以降は省略されています)
この特許をJ-PlatPat(特許庁公式サイト)で参照する
関連特許
株式会社クボタ
作業車
8日前
株式会社クボタ
作業車
8日前
株式会社クボタ
作業車
今日
株式会社クボタ
移植機
8日前
株式会社クボタ
移植機
8日前
株式会社クボタ
作業車
1日前
株式会社クボタ
作業車
今日
株式会社クボタ
作業車
7日前
株式会社クボタ
作業車
7日前
株式会社クボタ
作業車両
15日前
株式会社クボタ
作業車両
今日
株式会社クボタ
作業車両
1日前
株式会社クボタ
作業車両
今日
株式会社クボタ
豆類選別機
10日前
株式会社クボタ
豆類選別機
10日前
株式会社クボタ
豆類選別機
10日前
株式会社クボタ
多目的車両
10日前
株式会社クボタ
豆類選別機
10日前
株式会社クボタ
多目的車両
10日前
株式会社クボタ
豆類選別機
10日前
株式会社クボタ
豆類選別機
10日前
株式会社クボタ
ガスケット
8日前
株式会社クボタ
多目的車両
7日前
株式会社クボタ
多目的車両
7日前
株式会社クボタ
多目的車両
7日前
株式会社クボタ
作業車及び座席
9日前
株式会社クボタ
生育管理システム
9日前
株式会社クボタ
作業機の油圧システム及び作業機
7日前
株式会社クボタ
表示装置及び表示装置を備えた車両
今日
株式会社クボタ
作業車
7日前
株式会社クボタ
コンバイン
10日前
株式会社クボタ
圃場作業機
7日前
株式会社クボタ
感染症陽性者数の予測方法および感染症陽性者数の予測装置
2日前
株式会社クボタ
膜分離活性汚泥処理に用いられる膜分離装置および膜分離装置を備えた水処理設備
3日前
個人
タイヤレバー
2か月前
個人
前輪キャスター
2か月前
続きを見る
他の特許を見る