TOP
|
特許
|
意匠
|
商標
特許ウォッチ
Twitter
他の特許を見る
公開番号
2025168901
公報種別
公開特許公報(A)
公開日
2025-11-12
出願番号
2024073751
出願日
2024-04-30
発明の名称
作業車
出願人
株式会社クボタ
代理人
弁理士法人R&C
主分類
A01D
69/02 20060101AFI20251105BHJP(農業;林業;畜産;狩猟;捕獲;漁業)
要約
【課題】受信装置の測位精度と、作業者にとっての受信装置の扱いやすさと、を両立する作業車を提供すること。
【解決手段】運転者が搭乗する運転部と、運転部を覆うキャビン10Rと、航法衛星からの信号を受信する受信装置20と、受信装置20を支持する支持部材30と、が備えられている作業車である。支持部材30はキャビン10Fに取り付けられた状態で受信装置20を支持する。受信装置20は、その上端部がキャビン10Rの上端部よりも低く位置するように配置されている。
【選択図】図3
特許請求の範囲
【請求項1】
運転者が搭乗する運転部と、
前記運転部を覆うキャビンと、
航法衛星からの信号を受信する受信装置と、
前記キャビンに取り付けられ、前記受信装置を支持する支持部材と、が備えられ、
前記受信装置は、その上端部が前記キャビンの上端部よりも低く位置するように配置されている作業車。
続きを表示(約 1,400 文字)
【請求項2】
前記キャビンは、前記運転部を上方から覆う樹脂製のカバー部と、機体に支持されるとともに機体平面視において前記カバー部と重複する状態で前記カバー部を支持するフレーム部と、を有し、
前記受信装置は、前記カバー部の少なくとも一部が前記受信装置の受信領域の範囲内に位置するように配置されている請求項1に記載の作業車。
【請求項3】
前記受信装置は、前記フレーム部の全体が前記受信領域の範囲外に位置するように配置されている請求項2に記載の作業車。
【請求項4】
穀粒を貯留する穀粒タンクに貯留された穀粒を縦搬送する縦搬送部と、前記縦搬送部の上端部に接続され、かつ、前記縦搬送部の上端部を基端として上下昇降可能かつ左右旋回可能に構成され、かつ、前記縦搬送部からの穀粒を横送りして排出する横搬送部と、を有する搬送装置と、
前記横搬送部の上下昇降及び左右旋回を制御する制御部と、が備えられ、
前記受信装置は、機体平面視において前記横搬送部の前記左右旋回が可能な範囲内に配置され、かつ、機体側面視において前記横搬送部の前記上下昇降が可能な範囲内に配置され、
前記制御部は、前記横搬送部のうち機体平面視において前記受信装置と重複する干渉部分の全体が前記受信装置よりも上側に位置する場合に前記受信装置を横切る前記左右旋回を許可し、前記干渉部分の全体が前記受信装置よりも上側に位置しない場合に前記受信装置を横切る前記左右旋回を許可しないように構成されている請求項1に記載の作業車。
【請求項5】
前記受信装置のうち前記キャビンの位置する側と反対側の端部と前記左右旋回の軸芯とを結ぶ直線と、前記キャビンと、が重複する請求項4に記載の作業車。
【請求項6】
前記横搬送部は、機体平面視で機体中央部分に跨るホーム位置に収納された状態から機体外側に張り出して穀粒排出することが可能であり、
前記横搬送部を前記ホーム位置に位置保持するように下方から支持する保持部が備えられ、
前記保持部と前記キャビンとの距離は、前記干渉部分と前記受信装置との距離よりも短い請求項5に記載の作業車。
【請求項7】
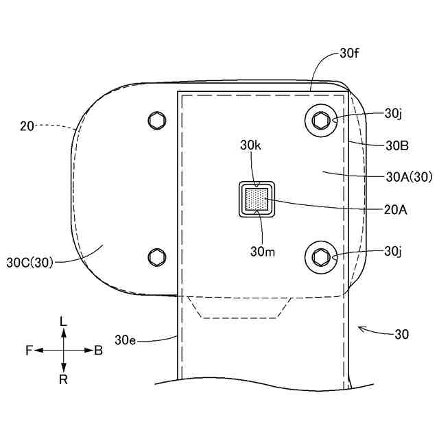
前記受信装置は、ハーネスの端子と接続する接続口を有し、
前記支持部材は、前記ハーネスを載置する第一載置部と、前記第一載置部の前部及び後部から少なくとも前記接続口の上部に対応する位置まで上下に延びる縦壁部と、を有する請求項1から6の何れか一項に記載の作業車。
【請求項8】
前記第一載置部と前記縦壁部との少なくとも一方に、前記ハーネスを固定するクランプが備えられている請求項7に記載の作業車。
【請求項9】
前記受信装置に、前記受信装置の管理番号に関する情報を示す図形コードが付され、
前記支持部材に、前記図形コードを視認可能な開口部が形成されている請求項1から6の何れか一項に記載の作業車。
【請求項10】
前記図形コードは、前記受信装置の底面部分に付され、
前記支持部材は、前記底面部分を載置支持する第二載置部を有し、
前記開口部は、前記第二載置部のうち前記図形コードと対向する部分に形成されている請求項9に記載の作業車。
(【請求項11】以降は省略されています)
発明の詳細な説明
【技術分野】
【0001】
本発明は、航法衛星からの信号を受信する受信装置を有する作業車に関する。
続きを表示(約 1,200 文字)
【背景技術】
【0002】
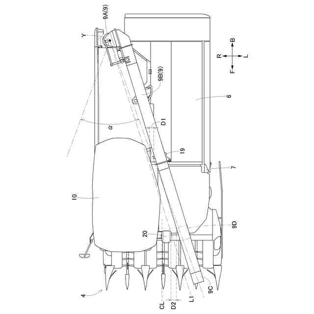
例えば特許文献1に開示された作業車(文献では「コンバイン」)では、航法衛星からの信号を受信する受信装置がキャビンに取り付けられている。
【先行技術文献】
【特許文献】
【0003】
特開2018-117613号公報
【発明の概要】
【発明が解決しようとする課題】
【0004】
ところで、受信装置が衛星からの信号を受信する際には、測位精度を高めるために受信装置を出来るだけ高い位置に配置する構成が望ましい。一方、作業車は、収穫時期以外の時期においては納屋等の保管庫に保管されている。保管庫の天井は低い場合もあり、当該天井と受信装置とが干渉する虞が考えられる。このため、使用時と保管時とで受信装置の位置を変更可能な構成が考えられるが、使用時と保管時とで受信装置の位置を変更することは、作業者にとって煩わしい場合が多い。
【0005】
本発明の目的は、受信装置の測位精度と、作業者にとっての受信装置の扱いやすさと、を両立する作業車を提供することにある。
【課題を解決するための手段】
【0006】
本発明による作業車では、運転者が搭乗する運転部と、前記運転部を覆うキャビンと、航法衛星からの信号を受信する受信装置と、前記キャビンに取り付けられ、前記受信装置を支持する支持部材と、が備えられ、前記受信装置は、その上端部が前記キャビンの上端部よりも低く位置するように配置されていることを特徴とする。
【0007】
本発明によると、保管庫の天井が低い場合であっても、当該天井と受信装置とが干渉する虞が殆ど無い。このため、作業者や管理者は、従来の作業車と同様の保管方法で本発明の作業車を保管庫に保管可能である。これにより、受信装置の測位精度と、作業者にとっての受信装置の扱いやすさと、を両立する作業車が実現される。
【0008】
本発明において、前記キャビンは、前記運転部を上方から覆う樹脂製のカバー部と、機体に支持されるとともに機体平面視において前記カバー部と重複する状態で前記カバー部を支持するフレーム部と、を有し、前記受信装置は、前記カバー部の少なくとも一部が前記受信装置の受信領域の範囲内に位置するように配置されていると好適である。
【0009】
本構成であれば、カバー部が樹脂製であるため、カバー部は航法衛星からの信号を阻害し難い。このため、作業車の使用時に作業者がわざわざ受信装置の位置を高く変更しなくても、受信装置は航法衛星からの信号をしっかりと受信できる。これにより、受信装置の測位精度と、作業者にとっての受信装置の扱いやすさと、を両立する作業車が実現される。
【0010】
本発明において、前記受信装置は、前記フレーム部の全体が前記受信領域の範囲外に位置するように配置されていると好適である。
(【0011】以降は省略されています)
この特許をJ-PlatPat(特許庁公式サイト)で参照する
関連特許
株式会社クボタ
作業車
今日
株式会社クボタ
作業車
27日前
株式会社クボタ
作業車
20日前
株式会社クボタ
作業車
26日前
株式会社クボタ
作業車
26日前
株式会社クボタ
移植機
27日前
株式会社クボタ
移植機
27日前
株式会社クボタ
作業車
27日前
株式会社クボタ
作業車
1か月前
株式会社クボタ
作業車
19日前
株式会社クボタ
作業車
1か月前
株式会社クボタ
作業車
1か月前
株式会社クボタ
作業車
1か月前
株式会社クボタ
作業車
1か月前
株式会社クボタ
作業車
1か月前
株式会社クボタ
作業車
1か月前
株式会社クボタ
作業車
1か月前
株式会社クボタ
作業車
19日前
株式会社クボタ
作業機
1か月前
株式会社クボタ
作業機
6日前
株式会社クボタ
作業車
13日前
株式会社クボタ
作業車
14日前
株式会社クボタ
作業車両
1か月前
株式会社クボタ
作業車両
1か月前
株式会社クボタ
作業車両
7日前
株式会社クボタ
作業車両
1か月前
株式会社クボタ
作業車両
1か月前
株式会社クボタ
作業車両
1か月前
株式会社クボタ
作業車両
1か月前
株式会社クボタ
作業車両
1か月前
株式会社クボタ
作業車両
20日前
株式会社クボタ
作業車両
1か月前
株式会社クボタ
作業車両
1か月前
株式会社クボタ
作業車両
1か月前
株式会社クボタ
作業車両
19日前
株式会社クボタ
作業車両
19日前
続きを見る
他の特許を見る