TOP
|
特許
|
意匠
|
商標
特許ウォッチ
Twitter
他の特許を見る
公開番号
2025148915
公報種別
公開特許公報(A)
公開日
2025-10-08
出願番号
2024049276
出願日
2024-03-26
発明の名称
作業車
出願人
株式会社クボタ
代理人
弁理士法人R&C
主分類
F16H
57/02 20120101AFI20251001BHJP(機械要素または単位;機械または装置の効果的機能を生じ維持するための一般的手段)
要約
【課題】原動機の動力が入力されて入力された動力を変速して走行装置に向けて出力するベルト式無段変速部、及び、ベルト式無段変速部を収容する変速ケースを有する無段変速装置が備えられた作業車において、変速ケースの水抜きのための特別な開閉手間及び作業時間を不要にする。
【解決手段】変速ケース14に水抜き部25が形成されている。水抜き部25は、変速ケース14の底部14cから下向きに突出されたダックビルバルブである。
【選択図】図4
特許請求の範囲
【請求項1】
原動機と、
前記原動機の動力が入力されて入力された動力を変速して走行装置に向けて出力するベルト式無段変速部、及び、前記ベルト式無段変速部を収容する変速ケースを有する無段変速装置と、
前記変速ケースに形成された水抜き部と、が備えられ、
前記水抜き部は、前記変速ケースの底部から下向きに突出されたダックビルバルブである作業車。
続きを表示(約 280 文字)
【請求項2】
前記変速ケースから下向きに延ばされ、前記ダックビルバルブを囲う筒状カバーが備えられている請求項1に記載の作業車。
【請求項3】
前記筒状カバーの下端が前記ダックビルバルブの下端よりも下側に位置している請求項2に記載の作業車。
【請求項4】
前記筒状カバーは、前記ダックビルバルブのフランジ部に対して前記変速ケースが位置する側とは反対側に位置する挟持部を備え、前記フランジ部を前記挟持部と前記変速ケースとによって挟む状態で前記変速ケースに脱着可能に取り付けられるように構成されている請求項2または3に記載の作業車。
発明の詳細な説明
【技術分野】
【0001】
本発明は、作業車に関する。
続きを表示(約 1,300 文字)
【背景技術】
【0002】
特許文献1に示されるように、原動機(エンジン)と、原動機の動力が入力されて入力された動力を変速して走行装置(前車輪、後車輪)に向けて出力するベルト式無段変速部(駆動プーリ、従動プーリ、無端ベルト)、及び、ベルト式無段変速部を収容する変速ケースを有する無段変速装置(ベルト無段変速装置)と、が備えられた作業車がある。
【先行技術文献】
【特許文献】
【0003】
特開2012-51507号公報
【発明の概要】
【発明が解決しようとする課題】
【0004】
上記作業車において、変速ケースに水抜き部が備えられ、変速ケースに入り込んだ洗車水などの水の抜き出しを可能にされたものがある。しかし、水抜き部は、水抜き穴、及び、水抜き穴を開閉する脱着可能な栓部材を備えるので、水抜きが必要になると、栓部材を取り外して水抜き穴を開け、水が抜け出ると栓部材を付け戻すという手間が掛かる。手間が掛かるのみならず、水抜き作業のための特別な作業時間が必要になる。
【0005】
本発明は、水抜きのための特別な開閉手間及び作業時間が不要である作業車を提供する。
【課題を解決するための手段】
【0006】
本発明による作業車は、
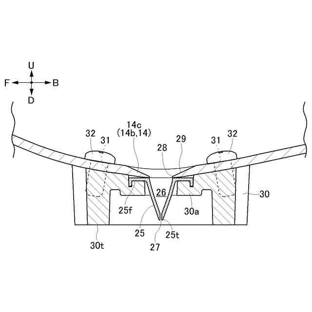
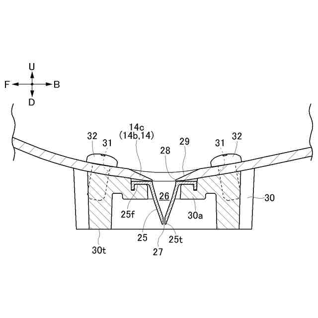
原動機と、前記原動機の動力が入力されて入力された動力を変速して走行装置に向けて出力するベルト式無段変速部、及び、前記ベルト式無段変速部を収容する変速ケースを有する無段変速装置と、前記変速ケースに形成された水抜き部と、が備えられ、前記水抜き部は、前記変速ケースの底部から下向きに突出されたダックビルバルブである。
【0007】
本構成によると、変速ケースに入り込んだ洗車水などの水がダックビルバルブによって形成される水抜き流路を経て重力によって自ずと抜け落ちていく。ダックビルバルブによって形成される水抜き流路は、変速ケースの水抜けを可能にするだけの流れ方向の流路であって、水抜き流路を経ての変速ケースへの塵埃などの浸入が防止されるのであり、これに加え、水抜き流路の外部を経ての変速ケースへの塵埃などの侵入がダックビルバルブの構造によって阻止されるので、変速ケースへの塵埃などの侵入を防止する栓部材を設ける必要がない。水が自ずと抜け落ち、かつ、栓部材が不要であることにより、水抜きのための特別な開閉手間及び作業時間が不要である。
【0008】
本発明においては、
前記変速ケースから下向きに延ばされ、前記ダックビルバルブを囲う筒状カバーが備えられていると好適である。
【0009】
本構成によると、車体走行に伴って飛散した石などのダックビルバルブへの当りが筒状カバーによって防止されるので、ダックビルバルブの破損を防止できる。
【0010】
本発明においては、
前記筒状カバーの下端が前記ダックビルバルブの下端よりも下側に位置していると好適である。
(【0011】以降は省略されています)
この特許をJ-PlatPat(特許庁公式サイト)で参照する
関連特許
株式会社クボタ
作業車
10日前
株式会社クボタ
田植機
1か月前
株式会社クボタ
作業車
3日前
株式会社クボタ
作業車
3日前
株式会社クボタ
作業車
12日前
株式会社クボタ
作業車
10日前
株式会社クボタ
作業車
1か月前
株式会社クボタ
作業機
1か月前
株式会社クボタ
作業車
1か月前
株式会社クボタ
作業機
22日前
株式会社クボタ
田植機
1か月前
株式会社クボタ
田植機
1か月前
株式会社クボタ
作業車
1か月前
株式会社クボタ
作業車
2日前
株式会社クボタ
作業車
2日前
株式会社クボタ
作業車
2日前
株式会社クボタ
作業車
1か月前
株式会社クボタ
作業車両
12日前
株式会社クボタ
作業車両
12日前
株式会社クボタ
作業車両
12日前
株式会社クボタ
作業車両
12日前
株式会社クボタ
作業車両
12日前
株式会社クボタ
作業車両
12日前
株式会社クボタ
作業車両
12日前
株式会社クボタ
作業車両
2日前
株式会社クボタ
作業車両
12日前
株式会社クボタケミックス
伸縮継手
1か月前
株式会社クボタ
作業車両
2日前
株式会社クボタ
作業車両
12日前
株式会社クボタ
圃場作業車
1か月前
株式会社クボタ
コンバイン
3日前
株式会社クボタ
多目的車両
3日前
株式会社クボタ
多目的車両
3日前
株式会社クボタ
コンバイン
3日前
株式会社クボタ
圃場作業車
3日前
株式会社クボタ
コンバイン
3日前
続きを見る
他の特許を見る