TOP
|
特許
|
意匠
|
商標
特許ウォッチ
Twitter
他の特許を見る
公開番号
2025158613
公報種別
公開特許公報(A)
公開日
2025-10-17
出願番号
2024061328
出願日
2024-04-05
発明の名称
作業車
出願人
株式会社クボタ
代理人
弁理士法人R&C
主分類
B62D
1/184 20060101AFI20251009BHJP(鉄道以外の路面車両)
要約
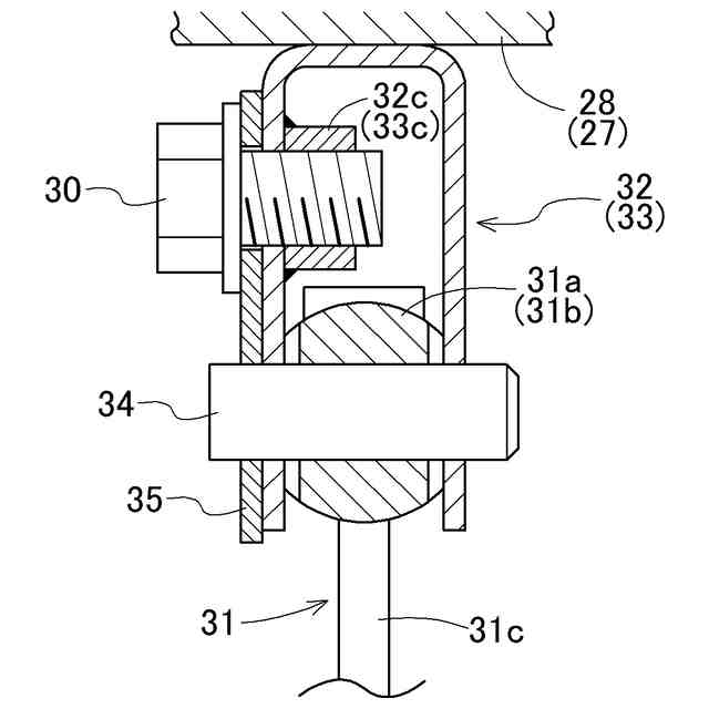
【課題】作業車において、角度設定シリンダによる操縦ハンドル(支持部)の上下角度の固定がガタ付き少なく行われるように構成する。
【解決手段】上下に角度変更可能な支持部28と、支持部28に取り付けられた操縦ハンドル15と、支持部28と固定部33とに亘って取り付けられた角度設定シリンダ31とが備えられる。角度設定シリンダ31に設けられた第1開口部31d,31eと、支持部28及び固定部33のうちの少なくとも一方に設けられた第2開口部32a,33aと、ピン34と、固定部材30とが備えられる。ピン34が、第1開口部31d,31eと第2開口部32a,33aとに亘って挿入され、固定部材30により第2開口部32a,33aとは異なる部分に固定される。
【選択図】図3
特許請求の範囲
【請求項1】
左右方向に沿った軸芯周りに上下に角度変更可能に設けられた支持部と、
前記支持部に取り付けられた操縦ハンドルと、
前記支持部の前方に設けられた固定部と、
前記支持部と前記固定部とに亘って取り付けられ、伸縮可能で、且つ、伸縮が固定及び固定解除可能な角度設定シリンダとが備えられ、
前記角度設定シリンダが伸縮操作されることにより、前記支持部の上下角度が変更され、前記角度設定シリンダの伸縮が固定されることにより、前記支持部の上下角度が固定され、
前記角度設定シリンダと前記支持部との取付部分、及び、前記角度設定シリンダと前記固定部との取付部分のうちの少なくとも一方において、前記角度設定シリンダに設けられた第1開口部と、前記支持部及び前記固定部のうちの少なくとも一方に設けられた第2開口部と、ピンと、前記ピンを前記支持部及び前記固定部のうちの少なくとも一方における前記第2開口部とは異なる部分に固定可能な固定部材とが備えられ、
前記ピンが、前記第1開口部と前記第2開口部とに亘って挿入され、前記固定部材により前記支持部及び前記固定部のうちの少なくとも一方における前記第2開口部とは異なる部分に固定されることにより、前記角度設定シリンダと前記支持部及び前記固定部のうちの少なくとも一方とが取り付けられる作業車。
続きを表示(約 530 文字)
【請求項2】
前記角度設定シリンダと前記支持部との取付部分、及び、前記角度設定シリンダと前記固定部との取付部分の両方において、前記第1開口部と、前記第2開口部と、前記ピンと、前記固定部材とが備えられている請求項1に記載の作業車。
【請求項3】
前記ピンに取り付けられた取付部が備えられ、
前記取付部が、前記固定部材により、前記支持部及び前記固定部のうちの少なくとも一方における前記第2開口部とは異なる部分に固定される請求項1に記載の作業車。
【請求項4】
前記支持部が、前記軸芯から後方に向けて延出され、
前記角度設定シリンダが、前記支持部における前記軸芯よりも後側の部分に取り付けられている請求項1に記載の作業車。
【請求項5】
前記角度設定シリンダの伸縮を固定及び固定解除可能で、人為的に操作可能な操作部が、前記角度設定シリンダにおける前記支持部側の端部に設けられている請求項1に記載の作業車。
【請求項6】
前記角度設定シリンダが、前記支持部の下方に設けられ、
前記操作部が、前記角度設定シリンダから下方に向けて延出されている請求項5に記載の作業車。
発明の詳細な説明
【技術分野】
【0001】
本発明は、作業車において、操向操作を行う操縦ハンドルの構成に関する。
続きを表示(約 1,900 文字)
【背景技術】
【0002】
作業車では、特許文献1に開示されているように、左右方向に沿った軸芯周りに上下に角度変更可能に設けられた支持部に、操縦ハンドルが取り付けられ、角度設定シリンダが支持部と機体の固定部とに亘って取り付けられたものがある。
【0003】
作業者は、角度設定シリンダが伸縮可能な状態に操作することにより、操縦ハンドル(支持部)の上下角度を変更することができ、これに伴って角度設定シリンダが伸縮する。作業者は、角度設定シリンダの伸縮を固定操作することにより、操縦ハンドル(支持部)の上下角度を固定することができる。
【先行技術文献】
【特許文献】
【0004】
特開2012-11800号公報
【発明の概要】
【発明が解決しようとする課題】
【0005】
特許文献1に開示されているような多目的の作業車は、荒れ地や山間地を走行することが多く、走行時の機体の揺れが大きくなることがある。
これにより、角度設定シリンダによる操縦ハンドル(支持部)の上下角度の固定に、ガタ付きが存在すると、操縦ハンドル(支持部)の振動が大きくなり、操縦ハンドル(支持部)等の破損に発展する可能性があるので、角度設定シリンダによる操縦ハンドル(支持部)の上下角度の固定において、ガタ付きを少なくすることが要望されている。
【0006】
本発明は、作業車において、角度設定シリンダによる操縦ハンドル(支持部)の上下角度の固定がガタ付き少なく行われるように構成することを目的としている。
【課題を解決するための手段】
【0007】
本発明の作業車は、左右方向に沿った軸芯周りに上下に角度変更可能に設けられた支持部と、前記支持部に取り付けられた操縦ハンドルと、前記支持部の前方に設けられた固定部と、前記支持部と前記固定部とに亘って取り付けられ、伸縮可能で、且つ、伸縮が固定及び固定解除可能な角度設定シリンダとが備えられ、前記角度設定シリンダが伸縮操作されることにより、前記支持部の上下角度が変更され、前記角度設定シリンダの伸縮が固定されることにより、前記支持部の上下角度が固定され、前記角度設定シリンダと前記支持部との取付部分、及び、前記角度設定シリンダと前記固定部との取付部分のうちの少なくとも一方において、前記角度設定シリンダに設けられた第1開口部と、前記支持部及び前記固定部のうちの少なくとも一方に設けられた第2開口部と、ピンと、前記ピンを前記支持部及び前記固定部のうちの少なくとも一方における前記第2開口部とは異なる部分に固定可能な固定部材とが備えられ、前記ピンが、前記第1開口部と前記第2開口部とに亘って挿入され、前記固定部材により前記支持部及び前記固定部のうちの少なくとも一方における前記第2開口部とは異なる部分に固定されることにより、前記角度設定シリンダと前記支持部及び前記固定部のうちの少なくとも一方とが取り付けられる。
【0008】
作業車において、操縦ハンドルが取り付けられた支持部と、支持部の前方に設けられた固定部とに亘って、角度設定シリンダが取り付けられる場合、角度設定シリンダと支持部とがピンを介して取り付けられ、角度設定シリンダと固定部とがピンを介して取り付けられることが多い。
この構成では、角度設定シリンダと支持部との取付部分、及び、角度設定シリンダと固定部との取付部分に、ガタ付きが発生し易いと考えられる。
【0009】
本発明によると、角度設定シリンダの第1開口部と、支持部(固定部)の第2開口部とに亘って、ピンが挿入されることにより、角度設定シリンダと支持部(固定部)とが取り付けられる。
この場合、ピンと第1開口部と第2開口部との精度を高めることにより、角度設定シリンダと支持部との取付部分、及び、角度設定シリンダと固定部との取付部分のうちの少なくとも一方において、ガタ付きが抑えられる。
【0010】
前述のように、角度設定シリンダの第1開口部と支持部(固定部)の第2開口部とに亘ってピンが挿入される構成では、ピンを抜けないように固定する必要がある。ピンの固定構造として、例えば、ピンの先端部にネジ部が形成され、ピンのネジ部にナット等の固定部材が取り付けられて、ピンが抜けないように固定される構成が考えられる。
しかしながら、この固定構造では、ピンの本体部と先端部(ネジ部)とで外径が変化するので、ピンの強度低下が懸念され、ピンの精度低下が懸念される。
(【0011】以降は省略されています)
この特許をJ-PlatPat(特許庁公式サイト)で参照する
関連特許
株式会社クボタ
作業車
3日前
株式会社クボタ
作業車
1日前
株式会社クボタ
作業機
9日前
株式会社クボタ
作業車
1日前
株式会社クボタ
作業車両
1日前
株式会社クボタ
作業車両
10日前
株式会社クボタ
作業車両
1日前
株式会社クボタ
多目的車両
8日前
株式会社クボタ
車両用シート
8日前
株式会社クボタ
農作物測定装置
16日前
株式会社クボタ
作業車及び座席
8日前
株式会社クボタ
鋳鋼品および鋳鋼品の製造方法
1日前
株式会社クボタ
電動作業車両のバッテリ管理システム
1日前
株式会社クボタ
作業車
16日前
株式会社クボタ
コンバイン
8日前
株式会社クボタ
アンテナ取付構造、データ通信システム、及びアンテナ取付方法
10日前
株式会社クボタケミックス
脚部継手および排水配管構造
8日前
株式会社クボタケミックス
排水配管部材の施工方法および排水配管部材
10日前
個人
カート
4か月前
個人
走行装置
4か月前
個人
三輪バイク
23日前
個人
電動走行車両
4か月前
個人
乗り物
6か月前
個人
発音装置
8か月前
個人
駐輪設備
2か月前
個人
閂式ハンドル錠
4か月前
個人
自転車用歩数計
1か月前
個人
折り畳み自転車
11か月前
個人
電動モビリティ
8か月前
個人
ボギー・フレーム
2か月前
個人
三輪電動車両
1か月前
個人
ルーフ付きトライク
3か月前
個人
自由方向乗車自転車
8か月前
個人
体重掛けリフト台車
11か月前
個人
“zen-go.”
3か月前
個人
ルーフ付きトライク
2か月前
続きを見る
他の特許を見る