TOP
|
特許
|
意匠
|
商標
特許ウォッチ
Twitter
他の特許を見る
10個以上の画像は省略されています。
公開番号
2025158612
公報種別
公開特許公報(A)
公開日
2025-10-17
出願番号
2024061327
出願日
2024-04-05
発明の名称
多目的車両
出願人
株式会社クボタ
代理人
弁理士法人R&C
主分類
F01N
13/08 20100101AFI20251009BHJP(機械または機関一般;機関設備一般;蒸気機関)
要約
【課題】車体の後部に位置する荷台の下方に設けられたエンジン及びマフラーが備えられた多目的車両において、マフラーカバーの設置に起因する荷台位置の上昇を回避しつつ、マフラーカバーの過熱やビビリ音の発生を防止しつつマフラーをカバーすることを可能にする。
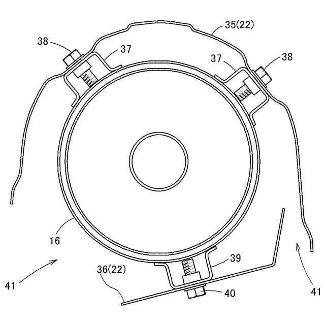
【解決手段】マフラー16を覆うマフラーカバー22が備えられている。マフラーカバー22は、マフラー16の上部を覆う上部カバー35と、マフラー16の下部を覆う下部カバー36とを備えている。上部カバー35と下部カバー36とは、分割されて離間した状態で個々にマフラー16に取り付けられている。
【選択図】図12
特許請求の範囲
【請求項1】
車体の後部に設けられた荷台と、
前記荷台の下方に設けられたエンジンと、
前記荷台の下方に設けられ、前記エンジンの排気音の低減を行うマフラーと、
前記マフラーを覆うマフラーカバーと、が備えられ、
前記マフラーカバーは、前記マフラーの上部を覆う上部カバーと、前記マフラーの下部を覆う下部カバーとを備え、
前記上部カバーと前記下部カバーとは、分割されて離間した状態で個々に前記マフラーに取り付けられている多目的車両。
続きを表示(約 220 文字)
【請求項2】
前記上部カバーの前記マフラーの長手方向での長さが前記マフラーの長手方向での長さよりも長く設定され、
前記下部カバーの前記マフラーの長手方向での長さが前記マフラーの長手方向での長さよりも短く設定されている請求項1に記載の多目的車両。
【請求項3】
前記下部カバーは、前記マフラーのうち、前記マフラーの長手方向での中心に対して前記マフラーの前端側に位置する部位に対応している請求項2に記載の多目的車両。
発明の詳細な説明
【技術分野】
【0001】
本発明は、エンジンの排気音の低減を行うマフラーが備えられた多目的車両に関する。
続きを表示(約 1,700 文字)
【背景技術】
【0002】
特許文献1に示されるように、車体の後部に設けられた荷台と、荷台の下方に設けられたエンジンと、荷台の下方に設けられ、エンジンの排気音の低減を行うマフラーと、が備えられた多目的車両がある。
【先行技術文献】
【特許文献】
【0003】
特許第6655970号公報
【発明の概要】
【発明が解決しようとする課題】
【0004】
上記した多目的車両において、車体フレームに取付けて車体フレームに保持されるマフラーカバー、あるいは、マフラーに取り付けてマフラーに保持されるマフラーカバーを備え、マフラーの上方に位置する荷台、荷台以外のマフラー周辺部品に対するマフラーからの伝熱の抑制が図られている。マフラーカバーが車体フレームに保持される場合、マフラーカバーやエンジン周辺部品と荷台との間隔の確保のために荷台の位置を高くする必要があり、荷物の積み下ろしが行い難くなる。マフラーに保持されるマフラーカバーは、マフラーの全体を包み込むようになっていてマフラーカバーの内側にマフラーの放熱が籠り、マフラーカバーの表面などの温度が高くなり過ぎてしまう。また、マフラーに保持されるマフラーカバーは、マフラーカバーを構成する二つなど、複数のカバー構成部材どうしが連結ネジによって連結されてビビリ音が発生するので、騒音の原因になる。
【0005】
本発明は、マフラーカバーの設置に起因する荷台の高位置化を回避しつつ、マフラーカバーの過熱やビビリ音の発生を防止しつつマフラーを覆うことができる多目的車両を提供する。
【課題を解決するための手段】
【0006】
本発明による多目的車両は、
車体の後部に設けられた荷台と、前記荷台の下方に設けられたエンジンと、前記荷台の下方に設けられ、前記エンジンの排気音の低減を行うマフラーと、前記マフラーを覆うマフラーカバーと、が備えられ、前記マフラーカバーは、前記マフラーの上部を覆う上部カバーと、前記マフラーの下部を覆う下部カバーとを備え、前記上部カバーと前記下部カバーとは、分割されて離間した状態で個々に前記マフラーに取り付けられている。
【0007】
本構成によると、上部カバー及び下部カバーが個々にマフラーに取り付けられるので、上部カバーと下部カバーとを連結せずにマフラーカバーがマフラーに保持される。上部カバーと下部カバーとを連結せずに済み、かつ、マフラーカバーがマフラーに保持されることにより、マフラーカバーのビビリ音の発生を防止しつつ、かつ、荷台の高位置化を回避しつつマフラーを覆うことができる。
上部カバーと下部カバーとが離間しているので、上部カバーと下部カバーとの間に隙間ができてマフラーの放熱が隙間からマフラーカバーの外部に出てマフラーカバーの放熱がマフラーカバーの内部に籠らない。マフラーカバーの内部にマフラーカバーの放熱が籠らないことにより、マフラーカバーの過熱を防止しつつマフラーを覆うことができる。
【0008】
本発明においては、
前記上部カバーの前記マフラーの長手方向での長さが前記マフラーの長手方向での長さよりも長く設定され、前記下部カバーの前記マフラーの長手方向での長さが前記マフラーの長手方向での長さよりも短く設定されていると好適である。
【0009】
本構成によると、マフラーの上部がマフラーの長手方向での全長にわたる範囲で上部カバーによって覆われ、マフラーの下部がマフラーの長手方向での全長よりも短い範囲でしか下部カバーによって覆われないので、マフラーから上方への荷台などへの伝熱を上部カバーによって抑制しながら、マフラーから下方に放熱され易くてマフラーカバーの内側での熱籠りを防止できる。
【0010】
本発明においては、
前記下部カバーは、前記マフラーのうち、前記マフラーの長手方向での中心に対して前記マフラーの前端側に位置する部位に対応していると好適である。
(【0011】以降は省略されています)
この特許をJ-PlatPat(特許庁公式サイト)で参照する
関連特許
株式会社クボタ
作業車
10日前
株式会社クボタ
農業機械
10日前
株式会社クボタ
作業支援システム
11日前
株式会社クボタ
鋳造用砂型の製造方法
18日前
株式会社クボタ
有機性廃棄物の処理方法
10日前
株式会社クボタ
ヘッドレスト及び作業車
10日前
株式会社クボタ
作業車両、作業支援システム
11日前
株式会社クボタ
浄水処理方法および原水評価方法
10日前
株式会社クボタ
粘度測定方法および粘度測定装置
3日前
株式会社クボタ
作業支援装置、作業支援システム
11日前
株式会社クボタ
作業支援装置、作業支援システム、ルート生成方法
11日前
株式会社クボタ
ルート生成装置、作業支援システム、ルート生成方法
11日前
株式会社クボタ
作業機
10日前
株式会社クボタ
移植機
10日前
株式会社クボタ
収穫機
10日前
株式会社クボタ
管路図作成支援装置、管路図作成支援方法、管路図作成支援用プログラム及び管路図作成支援システム
3日前
株式会社長谷工コーポレーション
木造中空床を貫通する樹脂製配管の防火区画構造および防火スリーブ
10日前
株式会社長谷工コーポレーション
木造中空床を貫通する樹脂製排水集合管の防火区画構造および防火スリーブ
10日前
株式会社三五
排気浄化装置
3日前
スズキ株式会社
内燃機関の制御装置
10日前
株式会社SUBARU
排気浄化装置
10日前
トヨタ自動車株式会社
計測システム
1か月前
トヨタ自動車株式会社
エンジン
18日前
株式会社ミクニ
二次空気供給システム
4日前
トヨタ自動車株式会社
エンジン
19日前
トヨタ自動車株式会社
エンジン
10日前
株式会社三五
ハイブリッド車の排気システム
19日前
株式会社クボタ
多目的車両
1か月前
株式会社クボタ
多目的車両
1か月前
株式会社SUBARU
エンジン制御装置
1か月前
トヨタ自動車株式会社
排気浄化装置
19日前
トヨタ自動車株式会社
異常診断装置
1か月前
トヨタ自動車株式会社
水素エンジン
1か月前
トヨタ自動車株式会社
油量判定装置
1か月前
トヨタ自動車株式会社
車両装置
10日前
株式会社アイシン
冷却モジュール
1か月前
続きを見る
他の特許を見る