TOP
|
特許
|
意匠
|
商標
特許ウォッチ
Twitter
他の特許を見る
10個以上の画像は省略されています。
公開番号
2025169661
公報種別
公開特許公報(A)
公開日
2025-11-14
出願番号
2024074589
出願日
2024-05-02
発明の名称
作業車両
出願人
株式会社クボタ
代理人
安田岡本弁理士法人
主分類
B60K
1/04 20190101AFI20251107BHJP(車両一般)
要約
【課題】本発明は、バッテリ容量を十分に確保しつつも、作業時の走行安定性を図ることのできる作業車両を提供する。
【解決手段】本発明は、走行装置と、走行装置を駆動する走行用電動モータと、走行装置によって走行可能に支持される車体であって、所定の作業を行う作業装置を当該車体の前後方向の前方側又は後方側のいずれか一方側に配置した状態で連結可能な連結装置を有する車体と、車体に対して直接的又は間接的に支持される駆動用バッテリであって、走行用電動モータに電力供給可能な駆動用バッテリと、を備え、駆動用バッテリには、車体に配置される第1バッテリと、前方側又は後方側のいずれか他方側であって、前後方向で車体を挟んで作業装置の反対側に配置される第2バッテリと、が含まれる。
【選択図】図1
特許請求の範囲
【請求項1】
走行装置と、
前記走行装置を駆動する走行用電動モータと、
前記走行装置によって走行可能に支持される車体であって、所定の作業を行う作業装置を当該車体の前後方向の前方側又は後方側のいずれか一方側に配置した状態で連結可能な連結装置を有する車体と、
前記車体に対して直接的又は間接的に支持される駆動用バッテリであって、前記走行用電動モータに電力供給可能な駆動用バッテリと、を備え、
前記駆動用バッテリには、前記車体に配置される第1バッテリと、前記前方側又は前記後方側のいずれか他方側であって、前記前後方向で前記車体を挟んで前記作業装置の反対側に配置される第2バッテリと、が含まれる作業車両。
続きを表示(約 910 文字)
【請求項2】
前記作業装置を駆動する装置用電動モータを備え、
前記駆動用バッテリは、前記装置用電動モータにも電力供給可能に構成される請求項1に記載の作業車両。
【請求項3】
前記走行装置は、前記前後方向に間隔をあけて配置された前輪及び後輪を含み、
前記第1バッテリは、前輪と後輪との間に配置される請求項1に記載の作業車両。
【請求項4】
前記第2バッテリを支持可能なバッテリ支持部であって、前記車体に連結されて前記前方側又は前記後方側に配置されるバッテリ支持部を備える請求項1に記載の作業車両。
【請求項5】
前記バッテリ支持部は、前記第2バッテリを二つ以上支持可能に構成される請求項4に記載の作業車両。
【請求項6】
前記車体は、前記前後方向に延びる車体フレームであって、前記第1バッテリを支持する車体フレームを有し、
前記連結装置は、前記車体フレームの前端及び後端のそれぞれに取り付けられ、
前記バッテリ支持部は、前記作業装置の連結される前記連結装置に対して前記前後方向における反対側にある前記連結装置に着脱可能に連結される請求項4に記載の作業車両。
【請求項7】
前記バッテリ支持部は、二つ以上の前記第2バッテリを前記車体の幅方向に並べて支持可能に構成される請求項5に記載の作業車両。
【請求項8】
前記作業装置は、前記車体に対して幅方向に偏倚して前記連結装置に連結され、
前記バッテリ支持部は、前記作業装置の前記車体に対する偏倚方向の反対側に前記第2バッテリを支持可能に構成される請求項7に記載の作業車両。
【請求項9】
前記第2バッテリは、充電済みの別の第2バッテリと交換可能である請求項1に記載の作業車両。
【請求項10】
前記車体は、前記車体フレーム上の機器に対して上方及び側方から覆うボンネットを有し、
前記第1バッテリは、前記ボンネット内に配置される請求項6に記載の作業車両。
(【請求項11】以降は省略されています)
発明の詳細な説明
【技術分野】
【0001】
本発明は、走行装置を駆動する電動モータを備えた作業車両に関する。
続きを表示(約 3,200 文字)
【背景技術】
【0002】
従来から、トラクタ等の作業車両は、走行装置に支持された車体と備え、所定の作業を行う作業装置が車体の前方側又は後方側のいずれか一方に配置された状態で、車体に連結される。また、この種の作業車両において、作業装置とは前後方向の反対側(車体の前方側又は後方側のいずれか他方)にバランスウエイトが取り付けられ、当該作業車両の前後方向での重量バランスが図られる(例えば、特許文献1参照)。
これにより、走行装置が地面に対して適切に接触することになり、作業車両は、作業場(例えば、圃場)内で走行しつつ適切に作業装置に作業を行わせることができる。
近年では、作業車両として、走行装置を駆動する駆動源を内燃機関(エンジン)から電動モータに代えた電動作業車が提供されつつある(例えば、特許文献2参照)。
【先行技術文献】
【特許文献】
【0003】
特開2024-2265号公報
特開2024-32808号公報
【発明の概要】
【発明が解決しようとする課題】
【0004】
ところで、走行装置を駆動する駆動源を電動モータにした場合、電動モータに給電を行うバッテリが必要となるが、トラクタ等の作業車両において、バッテリを配置できるスペースに限りがあるため、追加のバッテリや、必要十分な充電容量のバッテリを搭載できず、十分な作業時間(内容)を確保できない。また、追加のバッテリを配置できたとしても、バッテリは、重量物であるため、バランスウエイトで作業装置を連結したときの重量バランスを図ったとしても、追加のバッテリがその重量バランスを崩してしまい、作業時の走行安定性が損なわれる場合がある。
【0005】
そこで、本発明は、バッテリ容量を十分に確保しつつも、作業時の走行安定性を図ることのできる作業車両を提供する。
【課題を解決するための手段】
【0006】
本発明は、走行装置と、前記走行装置を駆動する走行用電動モータと、前記走行装置によって走行可能に支持される車体であって、所定の作業を行う作業装置を当該車体の前後方向の前方側又は後方側のいずれか一方側に配置した状態で連結可能な連結装置を有する車体と、前記車体に対して直接的又は間接的に支持される駆動用バッテリであって、前記走行用電動モータに電力供給可能な駆動用バッテリと、を備え、前記駆動用バッテリには、前記車体に配置される第1バッテリと、前記前方側又は前記後方側のいずれか他方側であって、前記前後方向で前記車体を挟んで前記作業装置の反対側に配置される第2バッテリと、が含まれる。
【発明の効果】
【0007】
本発明によれば、バッテリ容量を十分に確保しつつも、作業時の走行安定性を図ることができる。
【図面の簡単な説明】
【0008】
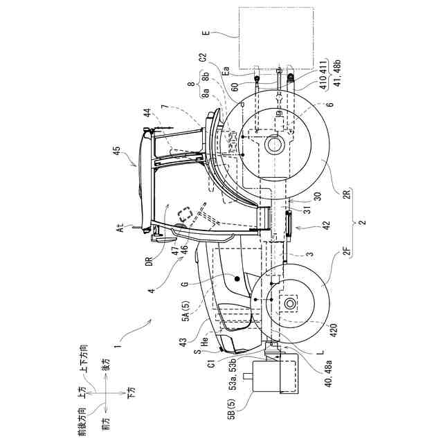
図1は、本発明の一実施形態に係る作業車両の左側面図であって、連結した作業装置を仮想線で図示した作業車両の左側面図である。
図2は、同実施形態に係る作業車両の平面図であって、連結した作業装置を仮想線で図示した作業車両の平面図である。
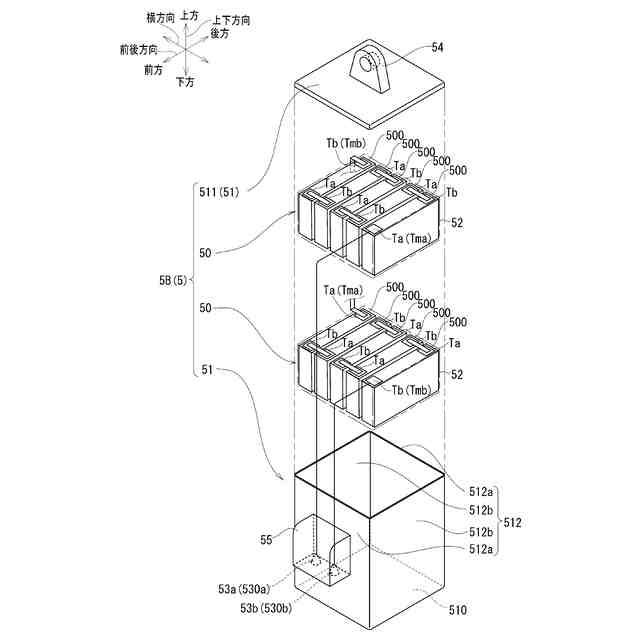
図3は、同実施形態に係る作業車両の第2バッテリの斜視図である。
図4は、同実施形態に係る作業車両の第2バッテリの分解斜視図である。
図5は、同実施形態に係る作業車両の第2バッテリの外部端子及び該外部端子周辺の要部拡大断面図であって、第2バッテリの外部端子をバッテリ支持部の接続端子に電気的に接続した状態の要部拡大断面図である。
図6は、同実施形態に係る作業車両の第2バッテリの外部端子及び該外部端子周辺の要部拡大断面図であって、第2バッテリの外部端子をバッテリ支持部の接続端子に対する電気的な接続を解除した状態の要部拡大断面図である。
図7は、同実施形態に係る作業車両の連結装置(第1連結装置)の概略斜視図である。
図8は、同実施形態に係る作業車両のバッテリ支持部及び第2バッテリの斜視図であって、第2バッテリをバッテリ支持部に搭載した状態の斜視図である。
図9は、同実施形態に係る作業車両のバッテリ支持部及び第2バッテリの斜視図であって、第2バッテリをバッテリ支持部に搭載する前(分解状態)の斜視図である。
図10は、同実施形態に係る作業車両のバッテリ支持部の概略斜視図である。
図11は、同実施形態に係る作業車両(電動作業車両)のバッテリ管理システムのブロック図であって、作業車両の電気系統のブロック図を含むシステムブロック図である。
図12は、同実施形態に係る作業車両の情報送信処理のフロー図である。
図13は、同実施形態に係る作業車両(電動作業車両)のバッテリ監視システムのサーバーによる要求処理のフロー図である。
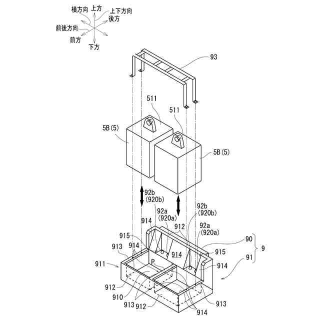
図14は、同実施形態に係る作業車両の第2バッテリをクレーン装置付きの運搬車両を用いて交換する際の説明図である。
図15は、同実施形態に係る作業車両の第2バッテリを専用の交換装置付きの運搬車両を用いて交換する際の説明図である。
図16は、同実施形態に係る作業車両の第2バッテリを別の作業車両に連結した専用の作業装置(インプルメント)を用いて交換する際の説明図である。
図17は、同実施形態に係る作業車両の第2バッテリを定置式の充電装置を用いて交換する際の説明図である。
図18は、同実施形態に係る作業車両の第2バッテリをPTO駆動式の充電装置を用いて交換する際の説明図である。
図19は、本発明の他実施形態に係る作業車両の左側面図であって、連結した作業装置を仮想線で図示した作業車両の左側面図である。
図20は、本発明の別の実施形態に係る作業車両の第2バッテリ及びバッテリ支持部の斜視図である。
【発明を実施するための形態】
【0009】
以下、本発明の一実施形態に係る作業車両、及び電動作業車両のバッテリ管理システムについて、図面を参酌しつつ説明する。なお、以下の作業車両の説明にあたり、作業車両の直進方向(真っ直ぐ前進又は後退する方向)を前後方向といい、前後方向における前進側を前方といい、前後方向における後退側を後方ということとする。これに伴い、前後方向及び上下方向と直交する方向であって、作業車両の車幅に対応する方向を横方向ということとする。
【0010】
図1及び図2に示すように、作業車両1には、作業場で所定の作業を行う作業装置Eが連結される。作業装置Eは、作業車両1の前方又は後方(図1及び図2においては、後方)に配置された状態で作業車両1に連結される。本実施形態において、作業車両1は、作業場である圃場で使用される農業用の作業車両(トラクタ)である。図1及び図2において、作業装置Eが仮想線で簡略化して図示に示されているが、作業車両1に連結される作業装置Eには、例えば、圃場の土を耕すロータリ(耕耘装置)や、圃場の土壌の天地返しを行うプラウ、圃場の土の塊を破砕するソイラー、ハロー、畔塗を行う畔塗機、圃場に種を撒く播種機、畝を作る畝立て機、肥料や土壌改良剤を散布するブロードキャスタ、畝に対してマルチ張りを行うマルチャー(マルチ)、畝と畝との間の除草等を行うカルチ(カルチベータ-)、草刈りを行うフレールモア、圃場の土壌内の作物を掘り起こす収穫機(掘取機)等がある。作業車両1に連結される作業装置Eは、作業内容(目的)に応じて別の作業装置Eに交換(変更)される。
(【0011】以降は省略されています)
この特許をJ-PlatPat(特許庁公式サイト)で参照する
関連特許
株式会社クボタ
作業車
1か月前
株式会社クボタ
作業車
21日前
株式会社クボタ
作業車
16日前
株式会社クボタ
作業車
15日前
株式会社クボタ
作業車
22日前
株式会社クボタ
作業車
28日前
株式会社クボタ
作業車
28日前
株式会社クボタ
作業車
今日
株式会社クボタ
移植機
29日前
株式会社クボタ
移植機
29日前
株式会社クボタ
作業機
8日前
株式会社クボタ
作業車
29日前
株式会社クボタ
作業車
29日前
株式会社クボタ
作業車
1か月前
株式会社クボタ
作業車
2日前
株式会社クボタ
作業車
1か月前
株式会社クボタ
作業車
1か月前
株式会社クボタ
作業車
1か月前
株式会社クボタ
作業車
今日
株式会社クボタ
作業車
21日前
株式会社クボタ
作業車両
1か月前
株式会社クボタ
作業車両
1か月前
株式会社クボタ
作業車両
21日前
株式会社クボタ
作業車両
21日前
株式会社クボタ
作業車両
22日前
株式会社クボタ
作業車両
今日
株式会社クボタ
作業車両
今日
株式会社クボタ
作業車両
9日前
株式会社クボタ
多目的車両
18日前
株式会社クボタ
多目的車両
28日前
株式会社クボタ
コンバイン
1か月前
株式会社クボタ
多目的車両
1か月前
株式会社クボタ
多目的車両
1か月前
株式会社クボタ
豆類選別機
1か月前
株式会社クボタ
豆類選別機
1か月前
株式会社クボタ
豆類選別機
1か月前
続きを見る
他の特許を見る