TOP
|
特許
|
意匠
|
商標
特許ウォッチ
Twitter
他の特許を見る
公開番号
2025160616
公報種別
公開特許公報(A)
公開日
2025-10-23
出願番号
2024063260
出願日
2024-04-10
発明の名称
作業車両
出願人
株式会社クボタ
代理人
弁理士法人R&C
主分類
B60R
16/02 20060101AFI20251016BHJP(車両一般)
要約
【課題】運転者が種々の車両異常を区別して把握することができる技術を簡単な構成で実現できることである。
【解決手段】作業車両は、車両状態を検出して状態検出信号を出力する車両状態検出部VSと、状態検出信号に基づいて車両異常を検知する異常検知部51と、検知された車両異常の異常状態を決定する異常状態決定部52と、異常状態に基づいて、単純可聴音の複数の出力周期パターンから1つの出力周期パターンを決定する出力周期パターン決定部54と、異常報知音として決定された出力周期パターンに基づいて単純可聴音を繰り返し出力する音響デバイス95とを備える。
【選択図】図3
特許請求の範囲
【請求項1】
車両状態を検出して状態検出信号を出力する車両状態検出部と、
前記状態検出信号に基づいて車両異常を検知する異常検知部と、
検知された前記車両異常の異常状態を決定する異常状態決定部と、
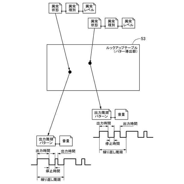
前記異常状態に基づいて、単純可聴音の複数の出力周期パターンから1つの前記出力周期パターンを決定する出力周期パターン決定部と、
異常報知音として、前記出力周期パターン決定部によって決定された前記出力周期パターンに基づいて前記単純可聴音を繰り返し出力する音響デバイスと、
を備える作業車両。
続きを表示(約 500 文字)
【請求項2】
前記出力周期パターンは、前記単純可聴音の繰り返し周期内の出力時間と停止時間とを規定している請求項1に記載の作業車両。
【請求項3】
前記車両状態には、車両駆動状態、車両操作状態、運転者状態が含まれ、
前記異常状態が大きなダメージを与える可能性が高い場合に、当該異常状態に基づいて導出される前記出力周期パターンに付帯される音量は、車両外部においても把握できる報知音量である請求項2に記載の作業車両。
【請求項4】
前記異常状態には、前記車両異常の種別及び前記車両異常の異常レベルが含まれている請求項1に記載の作業車両。
【請求項5】
前記異常状態には、報知優先順位が設定されており、前記報知優先順位の最も高い前記異常状態が優先的に報知される請求項1に記載の作業車両。
【請求項6】
前記異常状態を示すコードやメッセージが、前記単純可聴音の出力とともに、表示デバイスに表示される請求項1に記載の作業車両。
【請求項7】
前記音響デバイスがブザーである請求項1から6のいずれか一項に記載の作業車両。
発明の詳細な説明
【技術分野】
【0001】
本発明は、車両異常を検知して、異常が報知される作業車両に関する。
続きを表示(約 1,700 文字)
【背景技術】
【0002】
特許文献1による作業車両は、車速検出部により検出された車速が所定車速であるにもかかわらず、回転検出部により検出されるエンジン回転数が予め設定された許容範囲を外れた場合、駆動ベルトの摩耗を警告する警告報知を行う報知部を備えている。その際、報知部の一例として、音を発生させる音発生装置としてのブザー装置が挙げられている。
【0003】
特許文献2には、車両トラブルが検知されると、モーアユニットの刈刃の回転駆動に、脈動を与えることで、運転者に車両トラブルを認識させる作業車両(草刈機)が開示されている。その際、車速が早くなるほど、脈動が大きくなるように駆動制御される。
【先行技術文献】
【特許文献】
【0004】
特開2018-25207号公報
特許第6820801号公報
【発明の概要】
【発明が解決しようとする課題】
【0005】
特許文献1による作業車両では、運転者は駆動ベルトの異常をブザー音によって把握することができるが、それ以外の車両異常は、ブザー音を通じて、把握することができない。特許文献2では、車両トラブルをモーアユニットの脈動を伴う回転を通じて把握することができ、さらに、高速走行では脈動を強くすることにより、高速走行に伴う振動によって脈動が感じ難くなる問題を解消している。しかしながら、脈動の変化だけで、種々の車両トラブルを運転者に把握させることは考慮されていないし、脈動の強さによって、車両トラブルの種類を運転者に把握させることは困難である。
【0006】
このような実情から、本発明の目的は、運転者が種々の車両異常を区別して把握することができる技術を簡単な構成で実現できることである。
【課題を解決するための手段】
【0007】
本発明による作業車両は、車両状態を検出して状態検出信号を出力する車両状態検出部と、前記状態検出信号に基づいて車両異常を検知する異常検知部と、検知された前記車両異常の異常状態を決定する異常状態決定部と、前記異常状態に基づいて、単純可聴音の複数の出力周期パターンから1つの前記出力周期パターンを決定する出力周期パターン決定部と、異常報知音として、前記出力周期パターン決定部によって決定された前記出力周期パターンに基づいて前記単純可聴音を繰り返し出力する音響デバイスと、を備える。
【0008】
この構成によれば、異常状態に応じて、決定される出力周期パターンで単純可聴音が音響デバイスから出力されるので、単純可聴音が出力されるだけにもかかわらず、この音を聞く者は出力周期パターンを認識することで、特定の異常状態を把握することができる。また、単純可聴音を出力する音響デバイスとしては、ブザーを用いることができるので、コスト的にも有利である。ここでの、単純可聴音とは、「ブー」や「ピー」といったビープ音を意味する。
【0009】
出力周期パターンは、前記単純可聴音の出力時間と停止時間との組み合わせ(リズム)であるので、適切に選ばれた任意のパターンは、種々の異常状態に割り当てることができる。例えば、報知緊急度の高い異常状態に対しては、心理的に緊張感を与える特徴的なリズムを有する出力周期パターンが選択されると、好適である。このことから、本発明では、前記出力周期パターンは、前記単純可聴音の繰り返し周期内の出力時間と停止時間とを規定することが提案される。
【0010】
作業車両の車両状態には、車両のエンジン状態や変速状態などの駆動状態、運転者によって操作される操作具の操作状態、運転者が正規の位置または姿勢であるかどうかを示す運転者状態、などが含まれている。このことから、本発明では、前記車両状態には、車両駆動状態、車両操作状態、運転者状態が含まれ、前記異常状態が大きなダメージを与える可能性が高い場合に、当該異常状態に基づいて導出される前記出力周期パターンに付帯される音量は、車両外部においても把握できる報知音量であることが提案される。
(【0011】以降は省略されています)
この特許をJ-PlatPat(特許庁公式サイト)で参照する
関連特許
株式会社クボタ
作業車
1か月前
株式会社クボタ
作業車
1か月前
株式会社クボタ
作業車
21日前
株式会社クボタ
作業車
23日前
株式会社クボタ
作業機
15日前
株式会社クボタ
作業機
29日前
株式会社クボタ
作業車
1か月前
株式会社クボタ
作業車
1か月前
株式会社クボタ
作業車
1か月前
株式会社クボタ
作業車
1か月前
株式会社クボタ
作業車
7日前
株式会社クボタ
作業車
1か月前
株式会社クボタ
移植機
1か月前
株式会社クボタ
移植機
1か月前
株式会社クボタ
作業車
1か月前
株式会社クボタ
作業車
1か月前
株式会社クボタ
作業車
21日前
株式会社クボタ
作業車両
1か月前
株式会社クボタ
作業車両
21日前
株式会社クボタ
作業車両
1か月前
株式会社クボタ
作業車両
1か月前
株式会社クボタ
作業車両
1か月前
株式会社クボタ
作業車両
1か月前
株式会社クボタ
作業車両
1か月前
株式会社クボタ
農業機械
7日前
株式会社クボタ
作業車両
21日前
株式会社クボタ
豆類選別機
1か月前
株式会社クボタ
多目的車両
1か月前
株式会社クボタ
多目的車両
1か月前
株式会社クボタ
ガスケット
1か月前
株式会社クボタ
多目的車両
1か月前
株式会社クボタ
豆類選別機
1か月前
株式会社クボタ
豆類選別機
1か月前
株式会社クボタ
多目的車両
1か月前
株式会社クボタ
豆類選別機
1か月前
株式会社クボタ
電動作業車
1か月前
続きを見る
他の特許を見る