TOP
|
特許
|
意匠
|
商標
特許ウォッチ
Twitter
他の特許を見る
10個以上の画像は省略されています。
公開番号
2025157882
公報種別
公開特許公報(A)
公開日
2025-10-16
出願番号
2024060205
出願日
2024-04-03
発明の名称
移植機
出願人
株式会社クボタ
代理人
安田岡本弁理士法人
主分類
A01C
11/02 20060101AFI20251008BHJP(農業;林業;畜産;狩猟;捕獲;漁業)
要約
【課題】スタンド部材(41F)をスタンド位置(X1)と退避位置(Y1)とに変更する操作が走行体(2)の前部に移動しなくても行える移植機(1)を提供する。
【解決手段】移植機(1)は、圃場に苗を植え付ける移植装置(3)と、移植装置(3)が搭載された走行体(2)と、走行体(2)の後方に設けられた操縦ハンドル(4)と、走行体(2)の前部に設けられ、走行体(2)を支持するスタンド位置(X1)とスタンド位置(X1)から退避した退避位置(Y1)とに変更自在なスタンド部材(41F)と、スタンド部材(41)をスタンド位置(X1)と退避位置(Y1)とに操縦ハンドル(4)側から操作する操作装置(45)と、を備えている。
【選択図】図11
特許請求の範囲
【請求項1】
圃場に苗を植え付ける移植装置と、
前記移植装置が搭載された走行体と、
前記走行体の後方に設けられた操縦ハンドルと、
前記走行体の前部に設けられ、前記走行体を支持するスタンド位置と前記スタンド位置から退避した退避位置とに変更自在なスタンド部材と、
前記スタンド部材を前記スタンド位置と前記退避位置とに前記操縦ハンドル側から操作する操作装置と、
を備えている移植機。
続きを表示(約 1,000 文字)
【請求項2】
前記操作装置は、
前記スタンド部材を前記スタンド位置から引き上げて前記退避位置に変更する引上げ機構と、
前記引上げ機構を前記操縦ハンドル側から操作する操作部とを有している請求項1に記載の移植機。
【請求項3】
前記引上げ機構は、
前記スタンド部材に設けられた当接部と、
長手方向の中途部が前記スタンド部材に回動自在に支持されたアームと、
前記アームの長手方向の一端側に設けられ、前記走行体に設けられた被係合部に係合することで前記スタンド部材を前記スタンド位置に位置決めする係合部と、を有していて、
前記スタンド部材が前記スタンド位置に在る状態で前記アームの長手方向の他端側を引き上げることにより、前記アームが回動して前記係合部が前記被係合部から離脱すると共に前記アームが前記当接部に当接し且つ該状態で前記アームが上方移動して前記スタンド部材を前記退避位置へ引き上げる構成とされている請求項2に記載の移植機。
【請求項4】
前記引上げ機構は、前記係合部が前記被係合部に係合する方向に前記アームを付勢する付勢部材を有している請求項3に記載の移植機。
【請求項5】
前記スタンド部材は、前記操作部の操作により前記退避位置からスタンド位置に自重で位置変更する請求項2~4のいずれか1項に記載の移植機。
【請求項6】
前記引上げ機構は、前記操作レバーと前記アームの前記他端側とを連結するケーブルを有し、
前記操作部は、前記操縦ハンドル側に設けられた操作レバーを有し、
前記スタンド部材は、前記操作レバーの一方向の操作によって前記スタンド位置から前記退避位置に引き上げられる請求項3または4に記載の移植機。
【請求項7】
前記スタンド部材は、前記走行体に回動自在に支持されると共に回動することで前記スタンド位置と前記退避位置とに変更自在とされ、
前記係合部は、前記スタンド部材が略鉛直方向に延伸する状態である前記スタンド位置において前記被係合部に係合する請求項3または4に記載の移植機。
【請求項8】
前記スタンド部材は、前記アームを回動自在に支持する回動支持部と、前記回動支持部及び前記当接部が設けられたステー部とを有し、
前記被係合部は、下方に開放状の溝によって構成され、
前記係合部は、前記被係合部に下方から嵌まることで係合する請求項3または4に記載の移植機。
発明の詳細な説明
【技術分野】
【0001】
本発明は、例えば、圃場に苗を植え付ける歩行型の移植機に関する。
続きを表示(約 1,800 文字)
【背景技術】
【0002】
従来、歩行型の移植機として特許文献1に開示された移植機が知られている。
【0003】
特許文献1に開示された移植機は、圃場に苗を植え付ける移植装置が搭載された走行体の後方に操縦ハンドルが設けられている。走行体の前部及び後部には、走行体を支持するスタンド位置と該スタンド位置から退避した退避位置とに変更自在なスタンド部材が設けられている。
【0004】
歩行型の移植機にあっては、移植機を走行させる際には、作業者は、走行体の後方である操縦ハンドル側に位置すると共に走行体の移動に追従して歩行する。
【先行技術文献】
【特許文献】
【0005】
特開2002-370678号公報
【発明の概要】
【発明が解決しようとする課題】
【0006】
特許文献1に開示の移植機にあっては、走行体の前部に設けられたスタンド部材は、走行体の前部において、作業者がスタンド位置と退避位置とに変更操作する構造のものである。それ故、前側のスタンド部材をスタンド位置と退避位置とに変更する際には、作業者は操縦ハンドル側から走行体の前部に移動しなければならず、前側のスタンド部材をスタンド位置と退避位置とに変更する操作が面倒であるという問題がある。
【0007】
本発明は、前記問題点に鑑み、スタンド部材をスタンド位置と退避位置とに変更する操作が走行体の前部に移動しなくても行える移植機を提供することを目的とする。
【課題を解決するための手段】
【0008】
本発明の一態様に係る移植機は、圃場に苗を植え付ける移植装置と、前記移植装置が搭載された走行体と、前記走行体の後方に設けられた操縦ハンドルと、前記走行体の前部に設けられ、前記走行体を支持するスタンド位置と前記スタンド位置から退避した退避位置とに変更自在なスタンド部材と、前記スタンド部材を前記スタンド位置と前記退避位置とに前記操縦ハンドル側から操作する操作装置と、を備えている。
【発明の効果】
【0009】
上記の移植機によれば、スタンド部材をスタンド位置と退避位置とに変更する操作が走行体の前部に移動しなくても行うことができ、至便である。
【図面の簡単な説明】
【0010】
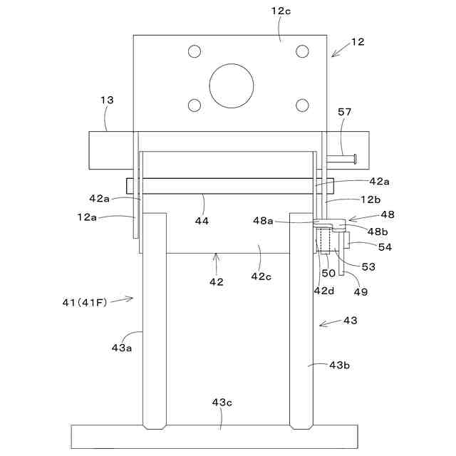
移植機の概略側面図である。
移植機の概略平面図である。
走行体の概略側面図である。
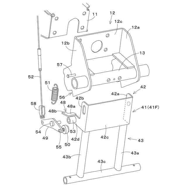
走行体の前部及び引上げ機構を示す側面図である。
走行体の前部及び引上げ機構を示す斜視図である。
走行体の前部及び引上げ機構の分解斜視図である。
走行体の前部及び引上げ機構を示す背面図である。
引上げ機構の側面拡大図である。
引上げ機構の動作途中の側面図である。
スタンド部材をスタンド位置にした状態の引上げ機構の側面図である。
操作装置の概略側面図である。
操作部の平面図である。
第1の予備苗台装置、第2の予備苗台装置等の正面図である。
第1の予備苗台装置、第2の予備苗台装置等の斜視図である。
第1の予備苗台装置、第2の予備苗台装置等の斜視図である。
第1の予備苗台装置、第2の予備苗台装置等の斜視図である。
ガイドプレート等の右側面図である。
位置変更装置の一部の分解斜視図である。
位置変更装置の一部の右側面図である。
支持ブラケット内部の正面断面図である。
苗トレイ及びトレイ載置装置等の斜視図である。
予備トレイ載置台が第1位置であるときの第1の予備苗台装置等の左側面図である。
予備トレイ載置台が第2位置であるときの第1の予備苗台装置等の左側面図である。
予備トレイ載置台が第1位置から第3位置に姿勢変更する際のガイドプレート等を示す左側面図である。
予備トレイ載置台が第3位置であるときの第1の予備苗台装置等の左側面図である。
予備トレイ載置台が第1位置から第3位置に姿勢変更する際のガイドプレート等を示す左側面図である。
【発明を実施するための形態】
(【0011】以降は省略されています)
この特許をJ-PlatPat(特許庁公式サイト)で参照する
関連特許
株式会社クボタ
作業機
15日前
株式会社クボタ
作業車
7日前
株式会社クボタ
作業車
21日前
株式会社クボタ
作業車
21日前
株式会社クボタ
作業機
29日前
株式会社クボタ
作業車
23日前
株式会社クボタ
作業車両
21日前
株式会社クボタ
農業機械
7日前
株式会社クボタ
作業車両
21日前
株式会社クボタ
作業車両
1か月前
株式会社クボタ
多目的車両
28日前
株式会社クボタ
車両用シート
28日前
株式会社クボタ
竪型の反応炉
15日前
株式会社クボタ
作業車及び座席
28日前
株式会社クボタ
農作物測定装置
1か月前
株式会社クボタ
作業支援システム
8日前
株式会社クボタ
鋳造用砂型の製造方法
15日前
株式会社クボタ
ヘッドレスト及び作業車
7日前
株式会社クボタ
有機性廃棄物の処理方法
7日前
株式会社クボタ
作業車両、作業支援システム
8日前
株式会社クボタ
鋳鋼品および鋳鋼品の製造方法
21日前
株式会社クボタ
浄水処理方法および原水評価方法
7日前
株式会社クボタ
作業支援装置、作業支援システム
8日前
株式会社クボタ
粘度測定方法および粘度測定装置
今日
株式会社クボタケミックス
揚水装置、揚水装置を用いた施工方法
1か月前
株式会社クボタ
電動作業車両のバッテリ管理システム
21日前
株式会社クボタ
作業支援装置、作業支援システム、ルート生成方法
8日前
株式会社クボタ
ルート生成装置、作業支援システム、ルート生成方法
8日前
株式会社クボタ
作業機
7日前
株式会社クボタ
移植機
7日前
株式会社クボタ
作業車
1か月前
株式会社クボタ
収穫機
7日前
株式会社クボタ
コンバイン
28日前
株式会社クボタ
アンテナ取付構造、データ通信システム、及びアンテナ取付方法
1か月前
株式会社クボタケミックス
脚部継手および排水配管構造
28日前
株式会社クボタケミックス
排水配管部材の施工方法および排水配管部材
1か月前
続きを見る
他の特許を見る