TOP
|
特許
|
意匠
|
商標
特許ウォッチ
Twitter
他の特許を見る
10個以上の画像は省略されています。
公開番号
2025155400
公報種別
公開特許公報(A)
公開日
2025-10-14
出願番号
2024059215
出願日
2024-04-01
発明の名称
豆類選別機
出願人
株式会社クボタ
,
株式会社斎藤農機製作所
代理人
弁理士法人R&C
主分類
B07B
1/12 20060101AFI20251006BHJP(固体相互の分離;仕分け)
要約
【課題】整列部及び選別部を備えた豆類選別機において、整列部での被選別物の整列及び搬送が適切に行われるように構成する。
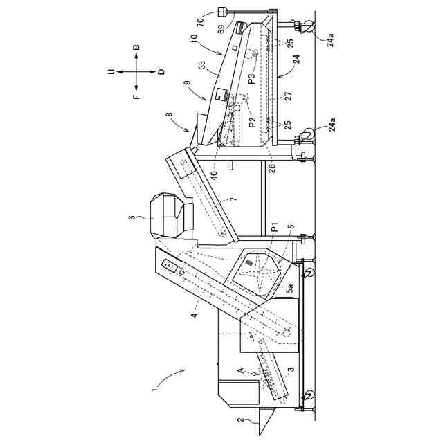
【解決手段】供給された被選別物Aを選別しながら搬送する前選別部8と、前選別部8から供給された被選別物Aを搬送しながら、被選別物Aの長手方向が搬送方向に沿った姿勢となるように、被選別物Aを整列させる整列部9と、整列部9から供給された被選別物Aを良品と不良品とに選別する選別部とが備えられている。前選別部8は、供給された被選別物Aを、単一の莢部または単一の莢部及び当該単一の莢部に対応する果柄に分離された分離品B1と、分離品B1以外の非分離品B2とに選別し、分離品B1を被選別物Aとして整列部9に供給する。
【選択図】図9
特許請求の範囲
【請求項1】
供給された被選別物を、選別しながら搬送する前選別部と、
前記前選別部から供給された被選別物を搬送しながら、被選別物の長手方向が搬送方向に沿った姿勢となるように、被選別物を整列させる整列部と、
前記整列部から供給された被選別物を良品と不良品とに選別する選別部とが備えられ、
前記前選別部は、供給された被選別物を、単一の莢部または単一の莢部及び当該単一の莢部に対応する果柄に分離された分離品と、前記分離品以外の非分離品とに選別し、前記分離品を被選別物として前記整列部に供給する豆類選別機。
続きを表示(約 1,500 文字)
【請求項2】
前記前選別部は、
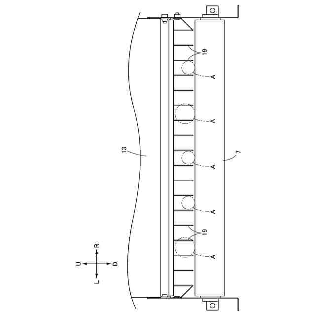
供給された被選別物のうち、前記分離品を下方に落下させる通過落下部と、
前記通過落下部の下方に設けられ、前記通過落下部から落下した前記分離品を前記整列部に案内する通過案内部と、
供給された被選別物のうち、前記非分離品を前記通過案内部に落下させずに保持する保持部とを有している請求項1に記載の豆類選別機。
【請求項3】
前記前選別部は、前記前選別部の搬送方向に沿って設けられた細長部材を有し、複数の前記細長部材が、前記前選別部の搬送方向と直交する方向に沿った横方向に、間隔を空けて設けられ、
隣接する前記細長部材の隙間が前記通過落下部であり、前記細長部材が前記保持部である請求項2に記載の豆類選別機。
【請求項4】
前記前選別部は、前記細長部材の終端部が取り付けられ、前記細長部材を前記前選別部の搬送方向の上流側に向けて片持ち状に支え、前記細長部材の終端部が前記細長部材の始端部よりも低くなる傾斜姿勢で支える支持部材と、前記細長部材の終端部に設けられた回収部とを有し、
前記支持部材に振動を与える振動装置が備えられている請求項3に記載の豆類選別機。
【請求項5】
前記前選別部は、
前記細長部材の終端部と前記回収部との間に設けられ、前記通過落下部から落下せずに前記細長部材に乗って前記細長部材の終端部に搬送された前記分離品を、前記整列部に落下させる下流通過部を有している請求項4に記載の豆類選別機。
【請求項6】
前記通過案内部の終端部から間隔を空けた上方の位置に、前記前選別部の搬送方向と直交する方向に沿った横方向に沿って設けられた縦壁部が備えられ、
前記通過案内部に落下した前記分離品が、前記通過案内部の終端部と前記縦壁部の下端部との間を通って前記整列部に供給される請求項2に記載の豆類選別機。
【請求項7】
前記前選別部の搬送方向と直交する方向に沿った横方向に沿って、前記通過案内部に設けられ、前記通過案内部における前記前選別部の搬送方向と直交する方向に沿った横方向での端部に近いほど低くなる傾斜部が備えられている請求項2に記載の豆類選別機。
【請求項8】
前記傾斜部における前記前選別部の搬送方向と直交する方向に沿った横方向での外方の端部は、前記通過落下部における前記前選別部の搬送方向と直交する方向に沿った横方向の外方の端部よりも、外方に位置している請求項7に記載の豆類選別機。
【請求項9】
前記通過案内部の終端部から間隔を空けた上方の位置に、前記前選別部の搬送方向と直交する方向に沿った横方向に沿って設けられた縦壁部が備えられ、
前記通過案内部に落下した前記分離品が、前記通過案内部の終端部と前記縦壁部の下端部との間を通って前記整列部に供給され、
前記傾斜部は、前記縦壁部から前記前選別部の搬送方向の上流側に間隔を空けて設けられている請求項7に記載の豆類選別機。
【請求項10】
前記整列部は、
前記前選別部から前記分離品が供給され、前記整列部の搬送方向に沿った複数の山部が、前記整列部の搬送方向と直交する方向に沿った横方向に並べて設けられた第1部分と、
前記第1部分から前記分離品が供給され、前記整列部の搬送方向に沿った第1山部と、前記第1山部よりも高く前記整列部の搬送方向に沿った第2山部とが、前記整列部の搬送方向と直交する方向に沿った横方向に、間隔を空けて互いに交互に設けられ、前記分離品を前記選別部に供給する第2部分とを有している請求項1に記載の豆類選別機。
(【請求項11】以降は省略されています)
発明の詳細な説明
【技術分野】
【0001】
本発明は、例えば枝豆、エンドウ豆やインゲン豆等の豆類を選別する豆類選別機に関する。
続きを表示(約 1,700 文字)
【背景技術】
【0002】
豆類選別機の一例が、特許文献1に開示されている。
特許文献1では、被選別物が整列部に供給され、整列部において、被選別物の長手方向が搬送方向に沿った姿勢となるように、被選別物が整列されながら搬送される。整列した被選別物が、選別部に供給され、選別部において良品及び不良品に選別される。
整列部において、被選別物の長手方向が搬送方向に沿った姿勢となるように、被選別物が整列されることにより、選別部での選別精度が向上する。
【先行技術文献】
【特許文献】
【0003】
特開2013-94764号公報
【発明の概要】
【発明が解決しようとする課題】
【0004】
豆類選別機で選別される被選別物には、以下の説明のように、分離品と非分離品とがある。
分離品は、単一の莢部のものや、単一の莢部とこの莢部に繋がった果柄とによるもの等がある。非分離品は、分離品以外のものであり、複数の莢部か果柄を介して繋がったものや、莢部の果柄に別の果柄が繋がったもの等がある(特許文献1の図8及び図9参照)。
【0005】
整列部において、分離品は被選別物の長手方向が搬送方向に沿った姿勢に整列されながら搬送され易いのに対して、非分離品は整列部で滞留することがある。非分離品が整列部で滞留すると、非分離品が整列部での被選別物の整列及び搬送に対して影響を及ぼす可能性があるので、改善の余地がある。
【0006】
本発明は、整列部及び選別部を備えた豆類選別機において、整列部での被選別物の整列及び搬送が適切に行われるように構成することを目的としている。
【課題を解決するための手段】
【0007】
本発明の豆類選別機は、供給された被選別物を、選別しながら搬送する前選別部と、前記前選別部から供給された被選別物を搬送しながら、被選別物の長手方向が搬送方向に沿った姿勢となるように、被選別物を整列させる整列部と、前記整列部から供給された被選別物を良品と不良品とに選別する選別部とが備えられ、前記前選別部は、供給された被選別物を、単一の莢部または単一の莢部及び当該単一の莢部に対応する果柄に分離された分離品と、前記分離品以外の非分離品とに選別し、前記分離品を被選別物として前記整列部に供給する。
【0008】
本発明によると、被選別物が整列部に供給される前に、被選別物は、分離品と非分離品とに選別される。次に分離品が前選別部から整列部に供給されるのであり、非分離品は整列部に供給され難い。
このように整列部に供給される非分離品が少なくなることにより、非分離品が整列部での被選別物の整列及び搬送に対して影響を及ぼす可能性が抑えられるので、豆類選別機における選別性能の向上及び良品の分離品の回収効率の向上を図ることができる。
【0009】
本発明において、前記前選別部は、供給された被選別物のうち、前記分離品を下方に落下させる通過落下部と、前記通過落下部の下方に設けられ、前記通過落下部から落下した前記分離品を前記整列部に案内する通過案内部と、供給された被選別物のうち、前記非分離品を前記通過案内部に落下させずに保持する保持部とを有していると好適である。
【0010】
被選別物において、非分離品は分離品よりも大きいことが多い。
本発明によると、前選別部は、通過落下部と通過案内部と保持部とを有している。被選別物が前選別部に供給されることにより、分離品は前選別部の通過落下部から通過案内部に落下し、整列部に供給される。非分離品は、前選別部の通過落下部から落下せずに、前選別部の保持部に残る。
これにより、被選別物における分離品と非分離品との大小関係に着目して、これを有効に利用することによって、分離品及び非分離品の選別性能を確保しながら、前選別部の構造の簡素化を図ることができる。
(【0011】以降は省略されています)
この特許をJ-PlatPat(特許庁公式サイト)で参照する
関連特許
株式会社クボタ
田植機
1か月前
株式会社クボタ
作業車
6日前
株式会社クボタ
作業車
1か月前
株式会社クボタ
作業機
1か月前
株式会社クボタ
作業車
1か月前
株式会社クボタ
作業機
25日前
株式会社クボタ
作業車
15日前
株式会社クボタ
作業車
13日前
株式会社クボタ
田植機
1か月前
株式会社クボタ
作業車
1か月前
株式会社クボタ
田植機
1か月前
株式会社クボタ
作業車
6日前
株式会社クボタ
作業車
13日前
株式会社クボタ
作業車
5日前
株式会社クボタ
作業車
5日前
株式会社クボタ
作業車
5日前
株式会社クボタ
作業車両
15日前
株式会社クボタ
作業車両
15日前
株式会社クボタ
作業車両
15日前
株式会社クボタ
作業車両
15日前
株式会社クボタ
作業車両
15日前
株式会社クボタ
作業車両
15日前
株式会社クボタ
作業車両
15日前
株式会社クボタ
作業車両
15日前
株式会社クボタ
作業車両
5日前
株式会社クボタ
作業車両
5日前
株式会社クボタ
作業車両
15日前
株式会社クボタ
多目的車両
6日前
株式会社クボタ
多目的車両
今日
株式会社クボタ
豆類選別機
今日
株式会社クボタ
圃場作業車
1か月前
株式会社クボタ
豆類選別機
今日
株式会社クボタ
多目的車両
6日前
株式会社クボタ
多目的車両
6日前
株式会社クボタ
豆類選別機
今日
株式会社クボタ
豆類選別機
今日
続きを見る
他の特許を見る