TOP
|
特許
|
意匠
|
商標
特許ウォッチ
Twitter
他の特許を見る
10個以上の画像は省略されています。
公開番号
2025155401
公報種別
公開特許公報(A)
公開日
2025-10-14
出願番号
2024059216
出願日
2024-04-01
発明の名称
豆類選別機
出願人
株式会社クボタ
,
株式会社斎藤農機製作所
代理人
弁理士法人R&C
主分類
B07B
13/07 20060101AFI20251006BHJP(固体相互の分離;仕分け)
要約
【課題】豆類選別機において、小さな実等の不良品が良品として回収されないように構成する。
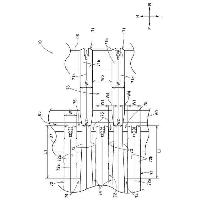
【解決手段】第1支持部71と第2支持部72とが、長手方向が互いに沿うように設けられ、長手方向と直交する横方向に互いに交互に設けられる。第1支持部71と第2支持部72との間に形成された隙間75が備えられる。被選別物が第1支持部71と第2支持部72との間に位置し長手方向に沿って搬送され、隙間75において、被選別物のうち、不良品が隙間75から落下し、良品が隙間75を落下せずに通過して回収される。第1支持部71及び第2支持部72のうちの少なくとも一方が長手方向に沿って位置変更されることにより、隙間75の幅W4が大小に変更される。
【選択図】図14
特許請求の範囲
【請求項1】
複数の第1支持部と、
複数の第2支持部とが備えられ、
前記第1支持部と前記第2支持部とは、前記第1支持部の長手方向と前記第2支持部の長手方向とが互いに沿うように設けられ、且つ、前記長手方向と直交する横方向に互いに交互に設けられ、
隣接する前記第1支持部と前記第2支持部との間に形成された隙間が備えられ、
被選別物が、隣接する前記第1支持部と前記第2支持部との間に位置し、前記長手方向に沿って搬送され、前記隙間において、被選別物のうち、不良品が前記隙間から落下し、良品が前記隙間を落下せずに通過して回収され、
前記第1支持部及び前記第2支持部のうちの少なくとも一方を、前記長手方向に沿って位置変更可能な位置変更部が備えられ、
前記第1支持部及び前記第2支持部のうちの少なくとも一方が前記長手方向に沿って位置変更されることにより、前記隙間の幅が大小に変更される豆類選別機。
続きを表示(約 1,300 文字)
【請求項2】
前記第1支持部及び前記第2支持部は、前記長手方向に沿った頂上部と、前記頂上部から前記横方向の一方の斜め下方に向けて延出された一方の傾斜部と、前記頂上部から前記横方向の他方の斜め下方に向けて延出された他方の傾斜部とを有して、断面が山形状に形成されている請求項1に記載の豆類選別機。
【請求項3】
前記第1支持部の前記頂上部と前記第2支持部の前記頂上部とが、同じ高さに位置している請求項2に記載の豆類選別機。
【請求項4】
前記第1支持部及び前記第2支持部のうちの少なくとも一方において、前記横方向での幅が前記長手方向に沿って大小に変化する幅変化部が設けられ、
前記幅変化部が、前記隙間が形成される部分に位置して、前記隙間の一部となり、
前記隙間が形成される部分に対して、前記幅変化部が前記長手方向に位置変更されることにより、前記隙間の幅が大小に変更される請求項1に記載の豆類選別機。
【請求項5】
前記第1支持部及び前記第2支持部は、前記長手方向に沿った頂上部と、前記頂上部から前記横方向の一方の斜め下方に向けて延出された一方の傾斜部と、前記頂上部から前記横方向の他方の斜め下方に向けて延出された他方の傾斜部とを有して、断面が山形状に形成され、
前記幅変化部は、前記傾斜部の下端部から前記頂上部に向けて入り込み、前記長手方向に沿って前記頂上部への入り込みが大小に変化する欠損部である請求項4に記載の豆類選別機。
【請求項6】
前記隙間よりも前記第1支持部の始端部側及び前記第2支持部の始端部側において、隣接する前記第1支持部と前記第2支持部との間に、上流隙間が形成され、
前記上流隙間の幅は前記隙間の幅よりも小さい請求項1に記載の豆類選別機。
【請求項7】
前記上流隙間の幅は、前記第1支持部及び前記第2支持部のうちの少なくとも一方が前記長手方向に沿って位置変更されても、同じ値に維持される請求項6に記載の豆類選別機。
【請求項8】
前記第1支持部の終端部が前記第2支持部の終端部よりも前記長手方向の下流側に位置するように、前記第1支持部が形成され、
前記隙間が、隣接する前記第1支持部と前記第2支持部の終端部との間に形成され、
隣接する前記第1支持部の終端部の間に、良品が落下する下流隙間が形成されており、
前記第2支持部の位置が固定され、
前記位置変更部は、前記第1支持部を前記長手方向に沿って位置変更可能である請求項1に記載の豆類選別機。
【請求項9】
平面視で前記隙間と前記下流隙間との間に設けられ、前記第1支持部の下方に設けられ、前記下流隙間から落下した良品を案内する案内部材が備えられている請求項8に記載の豆類選別機。
【請求項10】
平面視で前記第2支持部の終端部と前記案内部材との間に設けられ、前記第1支持部の下方に設けられ、前記横方向に沿って全ての前記第1支持部及び全ての前記第2支持部に亘って設けられ、不良品が落下する不良品落下部が備えられている請求項9に記載の豆類選別機。
発明の詳細な説明
【技術分野】
【0001】
本発明は、例えば枝豆、エンドウ豆やインゲン豆等の豆類を選別する豆類選別機に関する。
続きを表示(約 1,600 文字)
【背景技術】
【0002】
豆類選別機の一例が搭載された収穫機が、特許文献1に開示されている。
特許文献1の豆類選別機では、複数の棒状部材が、被選別物の搬送方向に沿って延出され、被選別物の搬送方向と直交する横方向に隙間を空けて設けられている。被選別物が複数の棒状部材に供給され、被選別物うち、良品が隣接する棒状部材の隙間から落下して回収される。
【先行技術文献】
【特許文献】
【0003】
特開2022-171235号公報(図2及び図3参照)
【発明の概要】
【発明が解決しようとする課題】
【0004】
被選別物には、適切な大きさの良品に加えて小さな不良品が含まれていることがある。特許文献1の豆類選別機では、小さな不良品も隣接する棒状部材の隙間から落下することがあるので、小さな不良品も良品として回収されることがあり、改善の余地がある。
【0005】
本発明は、豆類選別機において、小さな不良品が良品として回収されないように構成することを目的としている。
【課題を解決するための手段】
【0006】
本発明の豆類選別機は、複数の第1支持部と、複数の第2支持部とが備えられ、前記第1支持部と前記第2支持部とは、前記第1支持部の長手方向と前記第2支持部の長手方向とが互いに沿うように設けられ、且つ、前記長手方向と直交する横方向に互いに交互に設けられ、隣接する前記第1支持部と前記第2支持部との間に形成された隙間が備えられ、被選別物が、隣接する前記第1支持部と前記第2支持部との間に位置し、前記長手方向に沿って搬送され、前記隙間において、被選別物のうち、不良品が前記隙間から落下し、良品が前記隙間を落下せずに通過して回収され、前記第1支持部及び前記第2支持部のうちの少なくとも一方を、前記長手方向に沿って位置変更可能な位置変更部が備えられ、前記第1支持部及び前記第2支持部のうちの少なくとも一方が前記長手方向に沿って位置変更されることにより、前記隙間の幅が大小に変更される。
【0007】
本発明によると、被選別物は、隣接する第1支持部と第2支持部との間に位置して搬送される。被選別物が隙間に達すると、被選別物のうち、小さな不良品は隙間から落下し易いのであり、良品は隙間を落下せずに通過して回収される。
本発明によると、小さな不良品に応じて隙間の幅を大小に調節することができるので、小さな不良品が隙間から落下しない状態が少なくなる。これにより、小さな不良品が良品として回収されることが少なくなるので、豆類選別機における良品の回収効率の向上を図ることができる。
【0008】
本発明によると、第1支持部及び第2支持部のうちの少なくとも一方が、長手方向に沿って位置変更されることにより、隙間の幅が大小に調節される。
これにより、隙間の幅が大小に調節されても、第1支持部と第2支持部との高さ関係は変化しないので、第1支持部及び第2支持部による被選別物の搬送が安定して行われる。
【0009】
本発明において、前記第1支持部及び前記第2支持部は、前記長手方向に沿った頂上部と、前記頂上部から前記横方向の一方の斜め下方に向けて延出された一方の傾斜部と、前記頂上部から前記横方向の他方の斜め下方に向けて延出された他方の傾斜部とを有して、断面が山形状に形成されていると好適である。
【0010】
本発明によると、第1支持部及び第2支持部が山形状に形成されることにより、被選別物は、隣接する第1支持部と第2支持部との間から外部に出て行き難く、隙間に安定して供給されるので、豆類選別機における良品の回収効率の向上の面で有利である。
(【0011】以降は省略されています)
この特許をJ-PlatPat(特許庁公式サイト)で参照する
関連特許
株式会社クボタ
作業車
6日前
株式会社クボタ
作業車
5日前
株式会社クボタ
作業車
6日前
株式会社クボタ
作業車
13日前
株式会社クボタ
作業車
13日前
株式会社クボタ
作業機
25日前
株式会社クボタ
作業車
5日前
株式会社クボタ
作業車
5日前
株式会社クボタ
作業車
1か月前
株式会社クボタ
作業車
15日前
株式会社クボタ
作業車両
15日前
株式会社クボタ
作業車両
15日前
株式会社クボタ
作業車両
15日前
株式会社クボタ
作業車両
5日前
株式会社クボタ
作業車両
15日前
株式会社クボタ
作業車両
15日前
株式会社クボタ
作業車両
15日前
株式会社クボタ
作業車両
15日前
株式会社クボタ
作業車両
15日前
株式会社クボタ
作業車両
15日前
株式会社クボタ
作業車両
5日前
株式会社クボタ
豆類選別機
今日
株式会社クボタ
コンバイン
6日前
株式会社クボタ
圃場作業車
6日前
株式会社クボタ
コンバイン
6日前
株式会社クボタ
多目的車両
6日前
株式会社クボタ
多目的車両
6日前
株式会社クボタ
多目的車両
6日前
株式会社クボタ
多目的車両
6日前
株式会社クボタ
豆類選別機
今日
株式会社クボタ
豆類選別機
今日
株式会社クボタ
豆類選別機
今日
株式会社クボタ
豆類選別機
今日
株式会社クボタ
豆類選別機
今日
株式会社クボタ
多目的車両
今日
株式会社クボタ
多目的車両
今日
続きを見る
他の特許を見る