TOP
|
特許
|
意匠
|
商標
特許ウォッチ
Twitter
他の特許を見る
10個以上の画像は省略されています。
公開番号
2025149231
公報種別
公開特許公報(A)
公開日
2025-10-08
出願番号
2024049738
出願日
2024-03-26
発明の名称
コンバイン
出願人
株式会社クボタ
代理人
弁理士法人R&C
主分類
A01F
12/50 20060101AFI20251001BHJP(農業;林業;畜産;狩猟;捕獲;漁業)
要約
【課題】袋詰め型式のコンバインにおいて、袋詰め作業の作業性を向上させる。
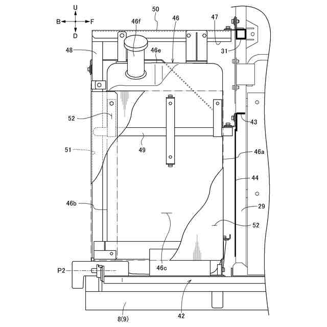
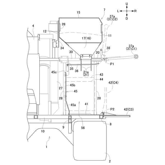
【解決手段】穀粒貯留部7と、袋保持部とが備えられる。穀粒貯留部7の排出口よりも後側に設けられた燃料タンク46と、穀粒貯留部7及び袋保持部の下方に設けられた第1作業台41とが備えられる。第1作業台41の外端部41cから外方に向けて延出された使用姿勢と、第1作業台41の外端部41cから上方に向けて延出された格納姿勢とに、姿勢変更可能に設けられた第2作業台42が備えられる。第2作業台42の後端部42bが燃料タンク46の前端部46aよりも後側に位置するまで、第2作業台42が後方に向けて延出されている。
【選択図】図8
特許請求の範囲
【請求項1】
走行装置が設けられた機体と、
平面視で前記機体の右部又は左部に設けられ、脱穀処理された穀粒が供給され、穀粒を貯留可能な穀粒貯留部と、
前記穀粒貯留部の下部に設けられ、開閉可能な排出口と、
穀粒袋を前記排出口の下方の位置に保持可能で、前記排出口から出る穀粒が前記穀粒袋の内部に案内されるようにする袋保持部と、
前記排出口よりも後側に設けられた燃料タンクと、
前記穀粒貯留部及び前記袋保持部の下方に設けられた第1作業台と、
前記第1作業台の外端部から外方に向けて延出された使用姿勢と、前記第1作業台の外端部から上方に向けて延出された格納姿勢とに、姿勢変更可能に設けられた第2作業台とが備えられ、
前記第2作業台の後端部が前記燃料タンクの前端部よりも後側に位置するまで、前記第2作業台が後方に向けて延出されているコンバイン。
続きを表示(約 790 文字)
【請求項2】
給油口が、前記燃料タンクにおける前端部と後端部との間の部分に設けられ、
前記第2作業台の後端部が前記給油口よりも後側に位置するまで、前記第2作業台が後方に向けて延出されている請求項1に記載のコンバイン。
【請求項3】
前記給油口は、前記燃料タンクの上部における前端部と後端部との間の部分に設けられ、平面視で、前記第2作業台側に向けて延出されている請求項2に記載のコンバイン。
【請求項4】
前記給油口に燃料を入れる為の補給タンクが載置可能で、前記燃料タンクの上方に設けられた載置台が備えられている請求項2又は3に記載のコンバイン。
【請求項5】
前記第2作業台の後端部が前記燃料タンクの後端部の位置に達するまで、前記第2作業台が後方に向けて延出されている請求項1に記載のコンバイン。
【請求項6】
前記第2作業台の後端部が前記穀粒貯留部の後端部よりも後側に位置するまで、前記第2作業台が後方に向けて延出されている請求項1に記載のコンバイン。
【請求項7】
前記燃料タンクの前端部が平面視で前記穀粒貯留部の後端部よりも前側に位置するまで、前記燃料タンクが前記穀粒貯留部の後部の下方に入り込んでいる請求項6に記載のコンバイン。
【請求項8】
前記第2作業台と前記燃料タンクとの間に形成された荷物置き部が備えられている請求項1に記載のコンバイン。
【請求項9】
収穫された作物を脱穀処理する脱穀装置と、前記穀粒貯留部及び前記第1作業台とが、平面視で、左右方向に並んで前記機体に設けられ、
前記燃料タンクが、前記脱穀装置と前記穀粒貯留部及び前記第1作業台との間の領域に、背面視で重複するように設けられている請求項8に記載のコンバイン。
発明の詳細な説明
【技術分野】
【0001】
本発明は、収穫され脱穀処理された穀粒を穀粒袋に詰める袋詰め型式のコンバインに関する。
続きを表示(約 1,700 文字)
【背景技術】
【0002】
袋詰め型式のコンバインの一例が、特許文献1に開示されている。
特許文献1では、穀粒貯留部及び作業台が機体の右部に設けられ、袋保持部が穀粒貯留部の下方に設けられており、脱穀処理された穀粒が穀粒貯留部に供給されて貯留される。
【0003】
作業台に立つ作業者は、袋保持部に保持された空の穀粒袋を、穀粒貯留部の排出口の下方に位置させ、穀粒貯留部の排出口を開操作して、穀粒貯留部の穀粒を排出口から穀粒袋の内部に供給する。
作業者は、穀粒袋が満杯になると、穀粒貯留部の排出口を閉操作して、穀粒袋を袋保持部から取り出し、穀粒袋の開口部を閉操作して、穀粒袋を圃場に落とす。コンバインによる作物の刈り取り及び脱穀と並行して、作業者は以上の袋詰め作業を繰り返す。
【先行技術文献】
【特許文献】
【0004】
特開2010-246505号公報(図1及び図3の11,14,15を参照)
【発明の概要】
【発明が解決しようとする課題】
【0005】
前述のような袋詰め型式のコンバインにおいて、作業者は作業台に立ちながら袋詰め作業を繰り返すので、袋詰め作業の作業性の向上が要望されている。
本発明は、袋詰め型式のコンバインにおいて、袋詰め作業の作業性を向上させることを目的としている。
【課題を解決するための手段】
【0006】
本発明のコンバインは、走行装置が設けられた機体と、平面視で前記機体の右部又は左部に設けられ、脱穀処理された穀粒が供給され、穀粒を貯留可能な穀粒貯留部と、前記穀粒貯留部の下部に設けられ、開閉可能な排出口と、穀粒袋を前記排出口の下方の位置に保持可能で、前記排出口から出る穀粒が前記穀粒袋の内部に案内されるようにする袋保持部と、前記排出口よりも後側に設けられた燃料タンクと、前記穀粒貯留部及び前記袋保持部の下方に設けられた第1作業台と、前記第1作業台の外端部から外方に向けて延出された使用姿勢と、前記第1作業台の外端部から上方に向けて延出された格納姿勢とに、姿勢変更可能に設けられた第2作業台とが備えられ、前記第2作業台の後端部が前記燃料タンクの前端部よりも後側に位置するまで、前記第2作業台が後方に向けて延出されている。
【0007】
軟弱で深い圃場では走行装置が圃場に沈み込み易いので、走行時に機体が前上がり姿勢になるようにして、軟弱で深い圃場での走行性能の向上を図ることが考えられている。
本発明によると、穀粒貯留部が機体の右部(左部)に設けられ、燃料が満杯の場合に重量物と言って良い燃料タンクが、穀粒貯留部の排出口よりも後側に設けられているので、機体の重心が後側になり易く、走行時に機体が前上がり姿勢になり易くなる。
【0008】
本発明によると、第1作業台と第2作業台とが設けられており、第1作業台は、穀粒貯留部及び袋保持部の下方に設けられている。第2作業台は、第1作業台の外端部から外方に向けて延出された使用姿勢と、第1作業台の外端部から上方に向けて延出された格納姿勢とに、姿勢変更可能に設けられている。この場合、作業者は主に第2作業台に立って袋詰め作業を行う。
【0009】
前述の構成において、本発明によると、第2作業台の後端部が燃料タンクの前端部よりも後側に位置するまで、第2作業台が後方に向けて延出されており、前後方向に比較的長い第2作業台が得られる。
これにより、第1作業台及び第2作業台において、作業者が主に立って袋詰め作業を行う第2作業台が、前後方向に比較的長いものに構成されることにより、第2作業台に立つ作業者にとって袋詰め作業を行う為の領域が広くなるので、袋詰め作業の作業性が向上する。
【0010】
本発明において、給油口が、前記燃料タンクにおける前端部と後端部との間の部分に設けられ、前記第2作業台の後端部が前記給油口よりも後側に位置するまで、前記第2作業台が後方に向けて延出されていると好適である。
(【0011】以降は省略されています)
この特許をJ-PlatPat(特許庁公式サイト)で参照する
関連特許
株式会社クボタ
作業車
26日前
株式会社クボタ
作業車
12日前
株式会社クボタ
作業車
1か月前
株式会社クボタ
作業車
1か月前
株式会社クボタ
作業車
26日前
株式会社クボタ
作業車
26日前
株式会社クボタ
作業車
27日前
株式会社クボタ
作業車
19日前
株式会社クボタ
作業車
19日前
株式会社クボタ
移植機
19日前
株式会社クボタ
移植機
19日前
株式会社クボタ
作業車
18日前
株式会社クボタ
作業車
18日前
株式会社クボタ
作業車
27日前
株式会社クボタ
作業車
1か月前
株式会社クボタ
作業車
1か月前
株式会社クボタ
作業車
5日前
株式会社クボタ
作業車
6日前
株式会社クボタ
作業車
11日前
株式会社クボタ
作業車
11日前
株式会社クボタ
作業機
1か月前
株式会社クボタ
作業車両
11日前
株式会社クボタ
作業車両
1か月前
株式会社クボタ
作業車両
26日前
株式会社クボタ
作業車両
26日前
株式会社クボタ
作業車両
11日前
株式会社クボタ
作業車両
1か月前
株式会社クボタ
作業車両
1か月前
株式会社クボタ
作業車両
1か月前
株式会社クボタ
作業車両
1か月前
株式会社クボタ
作業車両
12日前
株式会社クボタ
作業車両
1か月前
株式会社クボタ
作業車両
1か月前
株式会社クボタ
作業車両
1か月前
株式会社クボタ
作業車両
1か月前
株式会社クボタ
豆類選別機
21日前
続きを見る
他の特許を見る