TOP
|
特許
|
意匠
|
商標
特許ウォッチ
Twitter
他の特許を見る
公開番号
2025141297
公報種別
公開特許公報(A)
公開日
2025-09-29
出願番号
2024041171
出願日
2024-03-15
発明の名称
作業車
出願人
株式会社クボタ
代理人
弁理士法人R&C
主分類
B62D
25/08 20060101AFI20250919BHJP(鉄道以外の路面車両)
要約
【課題】作業車において、操作ペダルの領域と助手席の前方下方の領域とを仕切る仕切り部を設ける場合、助手席に着座する助手者が操作ペダルを誤って踏み操作することを適切に防止する。
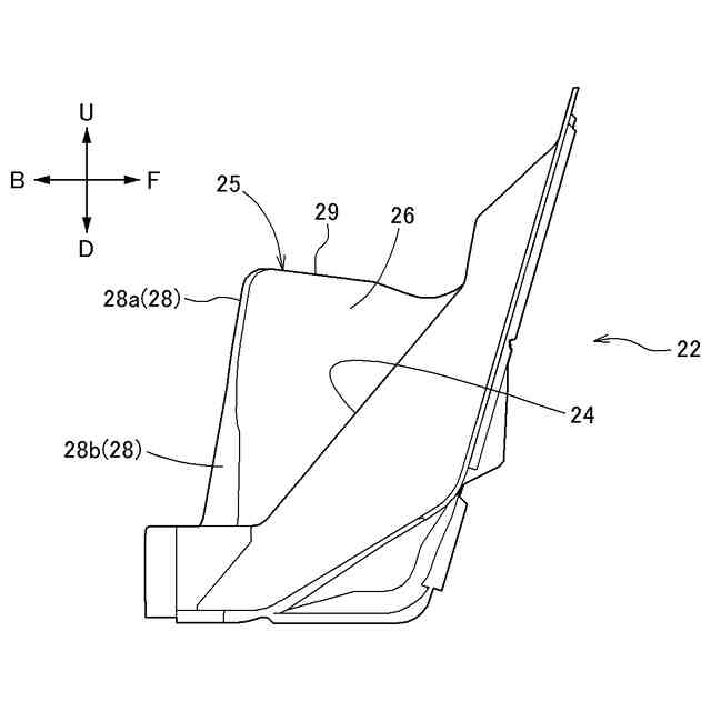
【解決手段】運転席の前方下方に設けられ、運転席に着座する運転者が踏み操作することにより走行速度を制御する操作ペダル20が備えられている。助手席の前方下方に設けられ、助手席に着座する助手者が足を置く為の足載置部24が備えられている。操作ペダル20と足載置部24との間に設けられ、操作ペダル20の領域と足載置部24とを仕切る仕切り部25が備えられている。仕切り部25の後部に、平面視で前側ほど足載置部24に接近する後傾斜面部28が備えられている。
【選択図】図5
特許請求の範囲
【請求項1】
運転席と、
前記運転席に隣接する助手席と、
前記運転席の前方下方に設けられ、前記運転席に着座する運転者が踏み操作することにより走行速度を制御する操作ペダルと、
前記助手席の前方下方に設けられ、前記助手席に着座する助手者が足を置く為の足載置部と、
前記操作ペダルと前記足載置部との間に設けられ、前記操作ペダルの領域と前記足載置部とを仕切る仕切り部とが備えられ、
前記仕切り部の後部に、平面視で前側ほど前記足載置部に接近する後傾斜面部が備えられている作業車。
続きを表示(約 270 文字)
【請求項2】
前記後傾斜面部は、背面視で下側ほど左右幅が大きくなる形状となっている請求項1に記載の作業車。
【請求項3】
前記仕切り部における前記操作ペダル側の横面部に、背面視で下側ほど前記操作ペダルに接近する横傾斜面部が備えられ、
前記後傾斜面部と前記横傾斜面部とが接続されて、前記後傾斜面部は、背面視で下側ほど左右幅が大きくなる形状となっている請求項2に記載の作業車。
【請求項4】
前記仕切り部の上端部が、前記操作ペダルよりも高い位置に設けられる請求項1~3のうちのいずれか一項に記載の作業車。
発明の詳細な説明
【技術分野】
【0001】
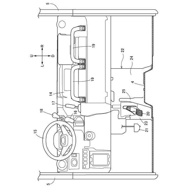
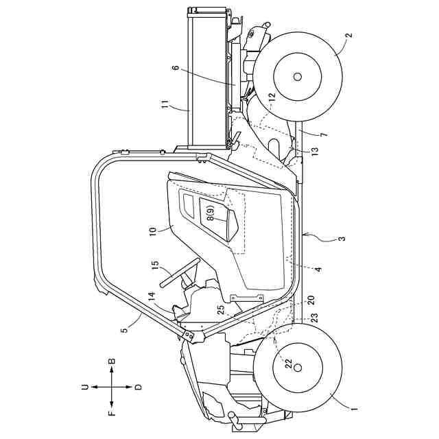
本発明は、作業車における運転席及び助手席の付近の構成に関する。
続きを表示(約 1,400 文字)
【背景技術】
【0002】
作業車の一例である多目的車両では、特許文献1に開示されているように、運転席と助手席とが左右方向に並べて設けられたものがある。
作業車では、運転席及び助手席が左右方向に連続した大きな座席に構成されたり、助手席の左右幅が運転席の左右幅よりも大きなものに構成されたりして、助手席に2名が着座可能に構成されることがある。
【先行技術文献】
【特許文献】
【0003】
特開2023-7623号公報(図2参照)
【発明の概要】
【発明が解決しようとする課題】
【0004】
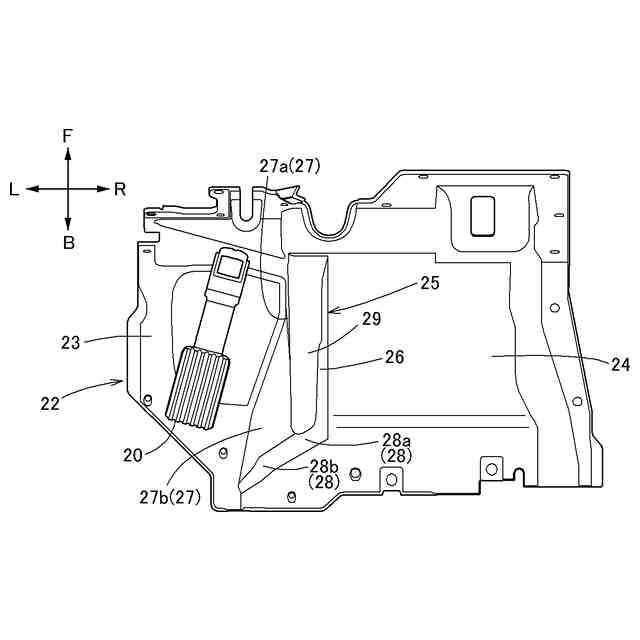
作業車において助手席に2名が着座すると、運転席に隣接する助手席に着座する助手者が運転席に近くなるので、助手席に着座する助手者が、運転席の前方下方に設けられた走行速度の制御用の操作ペダル(例えばアクセルペダル)を、誤って踏み操作する可能性が懸念されている。
これにより、助手席に着座する助手者が操作ペダルを誤って踏み操作しないように、操作ペダルの領域と助手席の前方下方の領域とを仕切る仕切り部を設けることが提案されている。
【0005】
本発明は、作業車において、操作ペダルの領域と助手席の前方下方の領域とを仕切る仕切り部を設ける場合、助手席に着座する助手者が操作ペダルを誤って踏み操作することを適切に防止することを目的としている。
【課題を解決するための手段】
【0006】
本発明の作業車は、運転席と、前記運転席に隣接する助手席と、前記運転席の前方下方に設けられ、前記運転席に着座する運転者が踏み操作することにより走行速度を制御する操作ペダルと、前記助手席の前方下方に設けられ、前記助手席に着座する助手者が足を置く為の足載置部と、前記操作ペダルと前記足載置部との間に設けられ、前記操作ペダルの領域と前記足載置部とを仕切る仕切り部とが備えられ、前記仕切り部の後部に、平面視で前側ほど前記足載置部に接近する後傾斜面部が備えられている。
【0007】
本発明によると、助手席に着座する助手者が、自身の足を足載置部(仕切り部の助手席側の横方)に置いていると、助手者が足を操作ペダル側に動かそうとしても、助手者の足が仕切り部により止められる。
【0008】
助手席に着座する助手者が、例えば、自身の足を仕切り部の後方付近に置いていたとする。この状態において、助手者が足を前方に動かそうとすると、助手者の足が仕切り部の後傾斜面部に当たり易いのであり、助手者の足は仕切り部の後傾斜面部に沿って足置き部に案内され易い。
これにより、助手席に着座する助手者が、自身の足を仕切り部の後方付近に置いた状態から足を前方に動かそうとしても、助手者の足が仕切り部から操作ペダル側に動くことは少ない。
【0009】
本発明によると、助手席に着座する助手者が、自身の足を足載置部(仕切り部の助手席側の横方)に置いた状態、並びに、仕切り部の後方付近に置いた状態の両方の状態において、助手者の足が操作ペダル側に動くことを少なくすることができるので、助手席に着座する助手者が操作ペダルを誤って踏み操作することを適切に防止することができる。
【0010】
本発明において、前記後傾斜面部は、背面視で下側ほど左右幅が大きくなる形状となっていると好適である。
(【0011】以降は省略されています)
この特許をJ-PlatPat(特許庁公式サイト)で参照する
関連特許
株式会社クボタ
作業機
今日
株式会社クボタ
作業車
6日前
株式会社クボタ
作業車
6日前
株式会社クボタ
作業車
22日前
株式会社クボタ
作業車
8日前
株式会社クボタ
作業車
21日前
株式会社クボタ
作業機
14日前
株式会社クボタ
作業車両
15日前
株式会社クボタ
作業車両
6日前
株式会社クボタ
作業車両
6日前
株式会社クボタ
電動作業車
22日前
株式会社クボタ
多目的車両
13日前
株式会社クボタ
車両用シート
13日前
株式会社クボタ
竪型の反応炉
今日
株式会社クボタ
農作物測定装置
21日前
株式会社クボタ
作業車及び座席
13日前
株式会社クボタ
鋳造用砂型の製造方法
今日
株式会社クボタ
鋳鋼品および鋳鋼品の製造方法
6日前
株式会社クボタ
電動作業車両のバッテリ管理システム
6日前
株式会社クボタケミックス
揚水装置、揚水装置を用いた施工方法
21日前
株式会社クボタ
作業車
21日前
株式会社クボタ
コンバイン
13日前
株式会社クボタ
農作業機、農作業機の制御方法、及びコンピュータプログラム
22日前
株式会社クボタ
アンテナ取付構造、データ通信システム、及びアンテナ取付方法
15日前
株式会社クボタケミックス
脚部継手および排水配管構造
13日前
株式会社クボタケミックス
排水配管部材の施工方法および排水配管部材
15日前
個人
カート
4か月前
個人
走行装置
5か月前
個人
台車
今日
個人
三輪バイク
28日前
個人
乗り物
6か月前
個人
電動走行車両
5か月前
個人
電動モビリティ
8か月前
個人
折り畳み自転車
11か月前
個人
発音装置
8か月前
個人
閂式ハンドル錠
5か月前
続きを見る
他の特許を見る