TOP
|
特許
|
意匠
|
商標
特許ウォッチ
Twitter
他の特許を見る
公開番号
2025164435
公報種別
公開特許公報(A)
公開日
2025-10-30
出願番号
2024068412
出願日
2024-04-19
発明の名称
農作物測定装置
出願人
株式会社クボタ
代理人
弁理士法人サンクレスト国際特許事務所
主分類
G01N
21/3563 20140101AFI20251023BHJP(測定;試験)
要約
【課題】圃場において投光部と受光部とを好適な位置に容易に設けることができる農作物測定装置を提供する。
【解決手段】 農作物測定装置は、筒状の第1容器、投光部、受光部、保持部を備える。前記筒状の第1容器は、農作物を収容する。前記投光部は、前記農作物に投光する。前記受光部は、前記農作物からの反射光および透過光を受光する。前記保持部は、前記第1容器の内部に収容される前記農作物に対向するように前記投光部と前記受光部とを保持する。
【選択図】図1
特許請求の範囲
【請求項1】
農作物を収容する筒状の第1容器と、
前記農作物に投光する投光部と、
前記農作物からの反射光および透過光を受光する受光部と、
前記第1容器の内部に収容される前記農作物に対向するように前記投光部と前記受光部とを保持する保持部と
を備える、農作物測定装置。
続きを表示(約 640 文字)
【請求項2】
前記第1容器の一部または全部は、遮光材料により構成されている、請求項1に記載の農作物測定装置。
【請求項3】
前記第1容器の第1端部側の開口を開閉自在に閉じる開閉機構と、
前記第1容器の第2端部側の開口を閉塞する閉塞部材と、
をさらに含む、請求項2に記載の農作物測定装置。
【請求項4】
前記投光部および前記受光部を、前記農作物に対し対向させて移動させる移動機構をさらに備える、請求項1から請求項3のいずれか1項に記載の農作物測定装置。
【請求項5】
前記移動機構は、前記保持部を、前記第1容器の軸方向および周方向の少なくとも一方に沿って移動させる保持部移動装置を含む、
請求項4に記載の農作物測定装置。
【請求項6】
前記移動機構は、前記第1容器を前記第1容器の軸方向に移動させるとともに、前記第1容器を前記第1容器の中心軸回りに回転させる、容器移動装置を含む、
請求項4に記載の農作物測定装置。
【請求項7】
前記第1容器の内側に位置する筒状の第2容器を更に備え、
前記投光部と前記受光部とは、前記第1容器と前記第2容器との間に位置する、請求項1から請求項3のいずれか1項に記載の農作物測定装置。
【請求項8】
前記農作物は、
ブドウである、請求項1から請求項3のいずれか1項に記載の農作物測定装置。
発明の詳細な説明
【技術分野】
【0001】
本開示は、農作物測定装置に関する。
続きを表示(約 1,000 文字)
【背景技術】
【0002】
特許文献1には、イチゴ、トマト、みかん等の農作物中に含まれる糖度等の内部品質を非破壊で判定する装置が記載されている。
【先行技術文献】
【特許文献】
【0003】
特開2004-251777号公報
【発明の概要】
【発明が解決しようとする課題】
【0004】
当該装置は、投光部と受光部を農作物の両側に配置して、光を走査させ、農作物を透過して受光した光に基づいて農作物の品質を判定する。しかし、圃場において形状が一様ではない農作物に対し、光を走査することは容易ではない。
【0005】
本開示は、上記の従来の問題点に鑑み、圃場において投光部と受光部とを好適な位置に容易に設けることができる農作物測定装置を提供することを目的とする。
【課題を解決するための手段】
【0006】
本開示の一態様に係る農作物測定装置は、農作物を収容する筒状の第1容器と、前記農作物に投光する投光部と、前記農作物からの反射光および透過光を受光する受光部と、前記第1容器の内部に収容される前記農作物に対向するように前記投光部と前記受光部とを保持する保持部と、を備える。
【発明の効果】
【0007】
本開示によれば、圃場において投光部と受光部とを好適な位置に容易に設けることができる。
【図面の簡単な説明】
【0008】
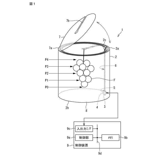
図1は、実施形態1に係る農作物測定装置の概観を示す概観図である。
図2は、移動機構の拡大斜視図である。
図3は、実施形態2に係る農作物測定装置の概観を示す概観図である。
図4は、実施形態3に係る農作物測定装置の概観を示す概観図である。
図5は、変形例1に係る農作物測定装置の概観を示す概観図である。
【発明を実施するための形態】
【0009】
<本開示の実施形態の概要>
以下、本開示の実施形態の概要を列記して説明する。
【0010】
(1) 本実施形態の一態様に係る農作物測定装置は、農作物を収容する筒状の第1容器と、前記農作物に投光する投光部と、前記農作物からの反射光および透過光を受光する受光部と、前記第1容器の内部に収容される前記農作物に対向するように前記投光部と前記受光部とを保持する保持部と、を備える。
(【0011】以降は省略されています)
この特許をJ-PlatPat(特許庁公式サイト)で参照する
関連特許
株式会社クボタ
作業車
1か月前
株式会社クボタ
作業車
1か月前
株式会社クボタ
作業車
1か月前
株式会社クボタ
作業車
1か月前
株式会社クボタ
作業機
28日前
株式会社クボタ
作業車
1か月前
株式会社クボタ
作業車
1か月前
株式会社クボタ
作業車
22日前
株式会社クボタ
移植機
1か月前
株式会社クボタ
移植機
1か月前
株式会社クボタ
作業車
1か月前
株式会社クボタ
作業車
20日前
株式会社クボタ
作業車
20日前
株式会社クボタ
作業車
1か月前
株式会社クボタ
作業機
14日前
株式会社クボタ
作業車
1か月前
株式会社クボタ
作業車
1か月前
株式会社クボタ
作業車
1か月前
株式会社クボタ
作業車
1か月前
株式会社クボタ
作業車
1か月前
株式会社クボタ
作業車
1か月前
株式会社クボタ
作業車
2か月前
株式会社クボタ
作業車
2か月前
株式会社クボタ
作業車
6日前
株式会社クボタ
作業車両
1か月前
株式会社クボタ
作業車両
2か月前
株式会社クボタ
作業車両
2か月前
株式会社クボタ
作業車両
2か月前
株式会社クボタ
作業車両
1か月前
株式会社クボタ
作業車両
1か月前
株式会社クボタ
作業車両
2か月前
株式会社クボタ
作業車両
1か月前
株式会社クボタ
作業車両
1か月前
株式会社クボタ
作業車両
2か月前
株式会社クボタ
作業車両
2か月前
株式会社クボタ
農業機械
6日前
続きを見る
他の特許を見る