TOP
|
特許
|
意匠
|
商標
特許ウォッチ
Twitter
他の特許を見る
10個以上の画像は省略されています。
公開番号
2025164046
公報種別
公開特許公報(A)
公開日
2025-10-30
出願番号
2024067769
出願日
2024-04-18
発明の名称
作業車
出願人
株式会社クボタ
代理人
弁理士法人R&C
主分類
G05G
5/04 20060101AFI20251023BHJP(制御;調整)
要約
【課題】使用者にとってオプションの追加をできるだけ低コストで対応できるようにすることが要望されていた。
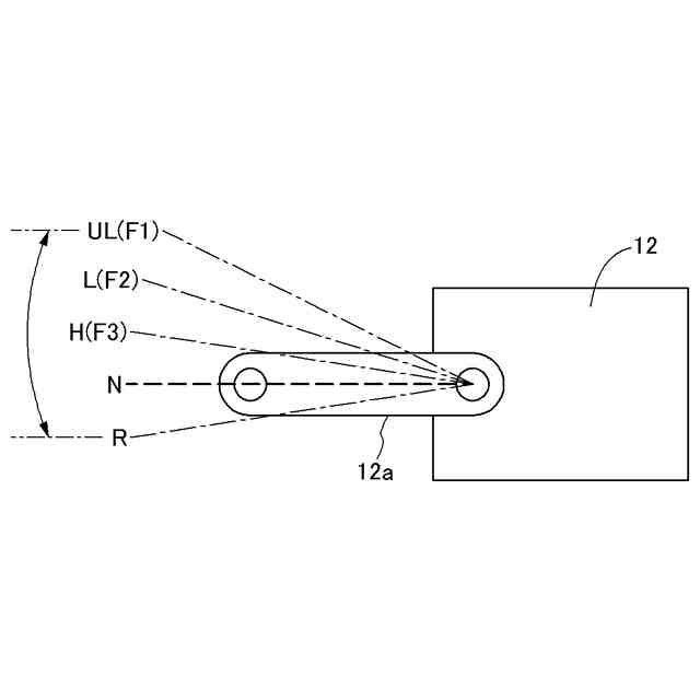
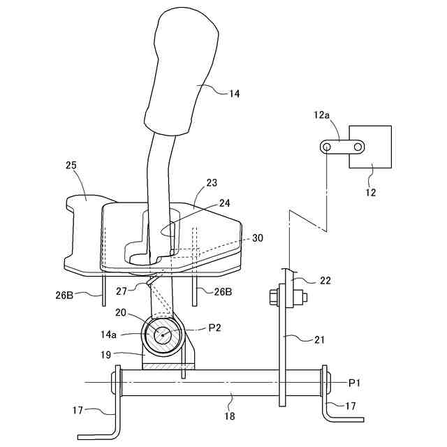
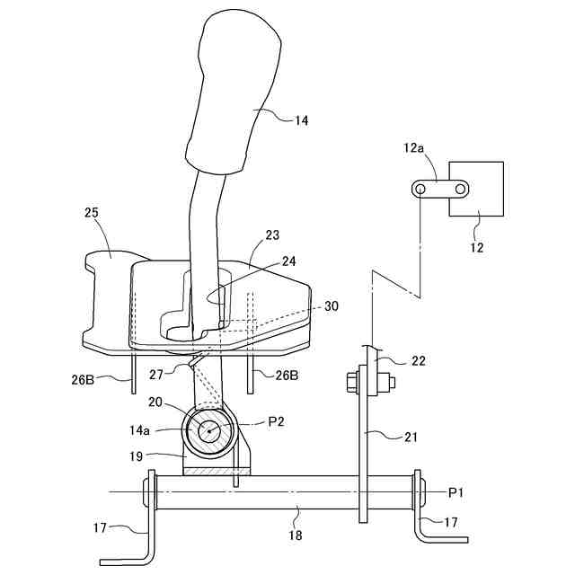
【解決手段】移動操作可能な操作具14と、車両の所定の機能を実行する車両動作部12と、操作具14が移動可能な領域を所定範囲内に規制する操作規制部材25と、が備えられ、車両動作部12が、所定の機能として、第一機能と第一機能とは異なる第二機能とを実行可能であり、操作規制部材25は、操作具14の移動操作範囲が異なる別の操作規制部材に取り換え可能に構成され、車両動作部12は、操作規制部材25が取り換えられて操作具14の移動操作が変化するのに伴って、第一機能を実行する状態と、第二機能を実行する状態と、に切り換え可能に構成されている。
【選択図】図3
特許請求の範囲
【請求項1】
移動操作可能な操作具と、
車両の所定の機能を実行する車両動作部と、
前記操作具が移動可能な領域を所定範囲内に規制する操作規制部材と、が備えられ、
前記車両動作部が、所定の機能として、第一機能と前記第一機能とは異なる第二機能とを実行可能であり、
前記操作規制部材は、前記操作具の移動操作範囲が異なる別の操作規制部材に取り換え可能に構成され、
前記車両動作部は、前記操作規制部材が取り換えられて前記操作具の移動操作が変化するのに伴って、前記第一機能を実行する状態と、前記第二機能を実行する状態と、に切り換え可能に構成されている作業車。
続きを表示(約 320 文字)
【請求項2】
前記車両動作部が、前記所定の機能として、走行装置に向けて走行用動力を出力するものであり、かつ、前記第一機能と前記第二機能とは前記走行用動力が異なるものであり、
前記操作具が、前記車両動作部の変速操作を行う変速レバーである請求項1に記載の作業車。
【請求項3】
前記第二機能が、車両が前進走行するときの前進用変速段数として、前記第一機能における変速段数よりも多い変速段数を備えている請求項2に記載の作業車。
【請求項4】
前記操作規制部材が、前記変速レバーが挿通しているガイド溝を有し、前記変速レバーの移動操作領域を規制可能なレバーガイドである請求項2又は3に記載の作業車。
発明の詳細な説明
【技術分野】
【0001】
本発明は、移動操作可能な操作具と、車両の所定の機能を実行する車両動作部と、を備えている作業車に関する。
続きを表示(約 1,500 文字)
【背景技術】
【0002】
上記作業車では、操作具としての変速レバーの操作によって、車両動作部としての変速装置の変速段数を切り換えて状況に応じた変速状態に切り換えるように構成されており、変速レバーにより切り換え操作可能な段数は予め設定されて固定されていた(例えば、特許文献1参照)。
【先行技術文献】
【特許文献】
【0003】
特開2017-105243号公報
【発明の概要】
【発明が解決しようとする課題】
【0004】
上記作業車を使用するのに伴って、作業車の使用者は、仕様の変更や追加等のオプションにて対応することによって、例えば、変速装置の変速段数を変更する等の性能向上を図って使い勝手を向上させたい場合がある。しかし、上記従来構成では、変速レバーにより切り換え操作可能な段数は予め設定されて固定されていたので、オプションを追加する場合には、操作具の仕様変更だけではなく車両動作部についても大幅な構造改良が必要であり、作業車の使用者にとってはコスト負担が大きくなるものであった。
【0005】
そこで、使用者にとってオプション対応をできるだけ低コストで対応できるようにすることが要望されていた。
【課題を解決するための手段】
【0006】
本発明に係る作業車の特徴構成は、移動操作可能な操作具と、車両の所定の機能を実行する車両動作部と、前記操作具が移動可能な領域を所定範囲内に規制する操作規制部材と、が備えられ、前記車両動作部が、所定の機能として、第一機能と前記第一機能とは異なる第二機能とを実行可能であり、前記操作規制部材は、前記操作具の移動操作範囲が異なる別の操作規制部材に取り換え可能に構成され、前記車両動作部は、前記操作規制部材が取り換えられて前記操作具の移動操作が変化するのに伴って、前記第一機能を実行する状態と、前記第二機能を実行する状態と、に切り換え可能に構成されている点にある。
【0007】
本発明によれば、操作具が操作規制部材によって移動可能な領域が所定範囲内に規制される。そして、操作規制部材として、第一機能を実行するのに適した操作規制部材が備えられていると、操作具の移動操作位置が変化するのに伴って、車両動作部が第一機能を実行することができる。又、操作規制部材が、第一機能を実行するのに適した操作規制部材から第二機能を実行するのに適した操作規制部材に取り換えられると、移動可能な所定範囲が異なる等、車両動作部の動作状態が異なったものとなって、操作具の移動操作位置が変化するのに伴って、車両動作部が第二機能を実行することになる。
【0008】
このように操作規制部材を取り換えるだけの簡単な切り換えによって、車両動作部が第一機能を実行する状態と、第二機能を実行する状態とに切り換えることが可能となる。その結果、使用者にとってオプションの追加をできるだけ低コストで対応できるようにすることが可能となった。
【0009】
本発明においては、前記車両動作部が、前記所定の機能として、走行装置に向けて走行用動力を出力するものであり、かつ、前記第一機能と前記第二機能とは前記走行用動力が異なるものであり、前記操作具が、前記車両動作部の変速操作を行う変速レバーであると好適である。
【0010】
本構成によれば、変速レバーの移動可能な領域を規制する操作規制部材を交換するだけで、変速レバーの移動操作に伴って走行装置に向けて出力される走行用動力が異なる状態に切り換えることができる。
(【0011】以降は省略されています)
この特許をJ-PlatPat(特許庁公式サイト)で参照する
関連特許
株式会社クボタ
作業車
23日前
株式会社クボタ
作業車
29日前
株式会社クボタ
作業機
2日前
株式会社クボタ
作業車
1か月前
株式会社クボタ
作業車
8日前
株式会社クボタ
作業車
8日前
株式会社クボタ
作業車
29日前
株式会社クボタ
作業機
16日前
株式会社クボタ
作業車
10日前
株式会社クボタ
作業車
24日前
株式会社クボタ
作業車
1か月前
株式会社クボタ
作業車両
17日前
株式会社クボタ
作業車両
1か月前
株式会社クボタ
作業車両
29日前
株式会社クボタ
作業車両
29日前
株式会社クボタ
作業車両
8日前
株式会社クボタ
作業車両
8日前
株式会社クボタ
多目的車両
1か月前
株式会社クボタ
多目的車両
26日前
株式会社クボタ
電動作業車
24日前
株式会社クボタ
多目的車両
1か月前
株式会社クボタ
多目的車両
15日前
株式会社クボタ
車両用シート
15日前
株式会社クボタ
竪型の反応炉
2日前
株式会社クボタ
農作物測定装置
23日前
株式会社クボタ
作業車及び座席
15日前
株式会社クボタ
鋳造用砂型の製造方法
2日前
株式会社クボタ
鋳鋼品および鋳鋼品の製造方法
8日前
株式会社クボタ
作業機の油圧システム及び作業機
1か月前
株式会社クボタ
表示装置及び表示装置を備えた車両
29日前
株式会社クボタケミックス
揚水装置、揚水装置を用いた施工方法
23日前
株式会社クボタ
電動作業車両のバッテリ管理システム
8日前
株式会社クボタ
農業車両、農業車両の制御方法及びプログラム
24日前
株式会社クボタ
作業車
1か月前
株式会社クボタ
作業車
23日前
株式会社クボタ
コンバイン
15日前
続きを見る
他の特許を見る