TOP
|
特許
|
意匠
|
商標
特許ウォッチ
Twitter
他の特許を見る
公開番号
2025143143
公報種別
公開特許公報(A)
公開日
2025-10-01
出願番号
2024042914
出願日
2024-03-18
発明の名称
作業車
出願人
株式会社クボタ
代理人
個人
,
個人
主分類
E02F
9/00 20060101AFI20250924BHJP(水工;基礎;土砂の移送)
要約
【課題】利便性を向上させることが可能な作業車を提供する。
【解決手段】車体と、前記車体に装着される作業機(バックホー)と、前記作業機に設けられ、前記車体に電力を供給可能な電源装置(作業機搭載バッテリ91)と、を具備した。
【選択図】図3
特許請求の範囲
【請求項1】
車体と、
前記車体に装着される作業機と、
前記作業機に設けられ、前記車体に電力を供給可能な電源装置と、
を具備する作業車。
続きを表示(約 460 文字)
【請求項2】
前記電源装置は、
前記車体の原動機に電力を供給可能である、
請求項1に記載の作業車。
【請求項3】
前記作業機は、
バックホーであり、
前記電源装置は、
前記バックホーの床部の上に配置される、
請求項1に記載の作業車。
【請求項4】
前記作業機は、
草刈り機であり、
前記電源装置は、
前記草刈り機のブレードを覆うデッキの上に配置される、
請求項1に記載の作業車。
【請求項5】
前記電源装置と前記車体とを脱着可能に接続する電力接続部をさらに具備する、
請求項1に記載の作業車。
【請求項6】
前記作業機は、
前記車体と脱着可能に接続される油圧接続部を介して供給された油圧により動作する油圧装置であり、
前記電力接続部は、
左右方向において、前記油圧接続部と同じ側に配置されている、
請求項5に記載の作業車。
発明の詳細な説明
【技術分野】
【0001】
本発明は、作業機を装着可能な作業車の技術に関する。
続きを表示(約 1,100 文字)
【背景技術】
【0002】
従来、作業機を装着可能な作業車の技術は公知となっている。例えば、特許文献1に記載の如くである。
【0003】
特許文献1には、昇降可能な作業機(インプルメント)を装着した作業車が開示されている。一般的にこのような作業車では、電力を用いて走行や各種作業を行うものが知られている。例えば、車体に設けられたバッテリの電力を消費して原動機であるモータを作動させ、走行や各種作業を行う作業車が知られている。
【0004】
しかしながら、このような作業車では、バッテリを搭載するスペースが限られているため、バッテリの容量が不足し易い。このため、頻繁にバッテリを充電する必要があるなど、利便性に欠ける点で改善の余地があった。
【先行技術文献】
【特許文献】
【0005】
特開2020-120604号公報
【発明の概要】
【発明が解決しようとする課題】
【0006】
本開示の一態様は、以上の如き状況に鑑みてなされたものであり、その解決しようとする課題は、利便性を向上させることが可能な作業車を提供することである。
【課題を解決するための手段】
【0007】
本開示の一態様の解決しようとする課題は以上の如くであり、次にこの課題を解決するための手段を説明する。
【0008】
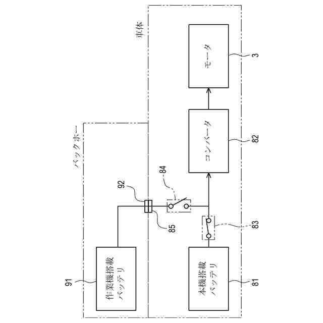
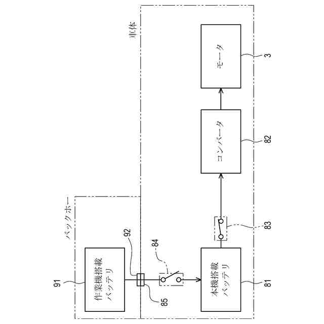
本開示の一態様に係る作業車は、車体と、前記車体に装着される作業機と、前記作業機に設けられ、前記車体に電力を供給可能な電源装置と、を具備するものである。
本開示の一態様によれば、利便性を向上させることができる。すなわち、作業機に設けられた電源装置からの電力を車体で利用することができるため、作業車の作業時間を増加させることができる。また、作業機を使用しない場合、作業機を取り外した状態で電源装置の充電を行うことができる。
【0009】
本開示の一態様に係る前記電源装置は、前記車体の原動機に電力を供給可能であるものである。
本開示の一態様によれば、電源装置からの電力を、作業車の原動機に利用することができる。
【0010】
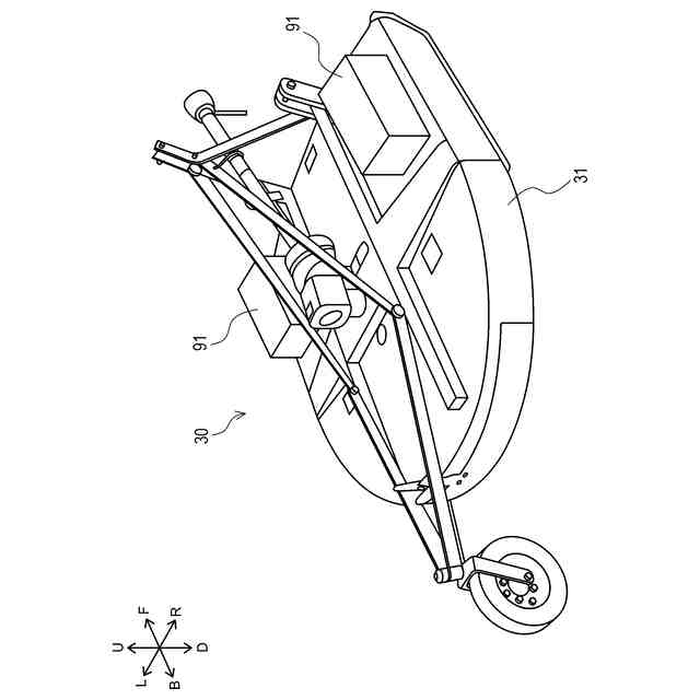
本開示の一態様に係る前記作業機は、バックホーであり、前記電源装置は、前記バックホーの床部の上に配置されるものである。
本開示の一態様によれば、電源装置を好適な位置に配置することができる。具体的には、電源装置を、地面や障害物と接触し難い位置に配置することができる。
(【0011】以降は省略されています)
この特許をJ-PlatPat(特許庁公式サイト)で参照する
関連特許
株式会社クボタ
作業車
1か月前
株式会社クボタ
作業車
1か月前
株式会社クボタ
作業車
1か月前
株式会社クボタ
作業車
20日前
株式会社クボタ
作業車
20日前
株式会社クボタ
作業車
1か月前
株式会社クボタ
作業機
14日前
株式会社クボタ
移植機
1か月前
株式会社クボタ
移植機
1か月前
株式会社クボタ
作業機
28日前
株式会社クボタ
作業車
1か月前
株式会社クボタ
作業車
22日前
株式会社クボタ
作業車
1か月前
株式会社クボタ
作業車
1か月前
株式会社クボタ
作業車
1か月前
株式会社クボタ
作業車
1か月前
株式会社クボタ
作業車
6日前
株式会社クボタ
作業車
1か月前
株式会社クボタ
作業車
1か月前
株式会社クボタ
作業車
1か月前
株式会社クボタ
作業車両
29日前
株式会社クボタ
作業車両
1か月前
株式会社クボタ
作業車両
1か月前
株式会社クボタ
作業車両
1か月前
株式会社クボタ
作業車両
20日前
株式会社クボタ
作業車両
20日前
株式会社クボタ
農業機械
6日前
株式会社クボタ
作業車両
1か月前
株式会社クボタ
作業車両
1か月前
株式会社クボタ
多目的車両
1か月前
株式会社クボタ
コンバイン
1か月前
株式会社クボタ
多目的車両
1か月前
株式会社クボタ
多目的車両
1か月前
株式会社クボタ
多目的車両
1か月前
株式会社クボタ
多目的車両
1か月前
株式会社クボタ
豆類選別機
1か月前
続きを見る
他の特許を見る