TOP
|
特許
|
意匠
|
商標
特許ウォッチ
Twitter
他の特許を見る
10個以上の画像は省略されています。
公開番号
2025155399
公報種別
公開特許公報(A)
公開日
2025-10-14
出願番号
2024059214
出願日
2024-04-01
発明の名称
豆類選別機
出願人
株式会社クボタ
,
株式会社斎藤農機製作所
代理人
弁理士法人R&C
主分類
B07B
4/02 20060101AFI20251006BHJP(固体相互の分離;仕分け)
要約
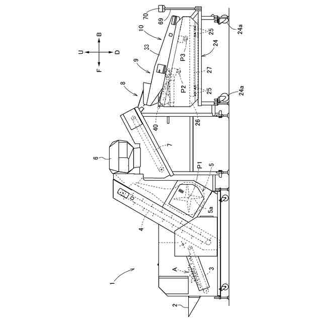
【課題】豆類選別機において、選別風により夾雑物を被選別物から分離して排出する場合に、軽い良品が回収されずに排出される状態を少なくする。
【解決手段】選別風D1を、第1搬送装置4の下方の位置から第1搬送装置4の搬送方向に沿って、第1搬送装置4の終端部と第2搬送装置7との間に供給し、選別風D1により第1搬送装置4の終端部から落下した被選別物Aから夾雑物C1を分離し、分離された夾雑物C1を第1搬送装置4の搬送方向に沿って送る送風装置が備えられる。第2搬送装置7の上方に設けられ、分離された夾雑物C1及び選別風D1を回収し、回収した夾雑物C1及び選別風D1を、平面視で第1搬送装置4の搬送方向と交差する横方向に沿って、外方に向けて排出する回収排出部6が備えられている。
【選択図】図3
特許請求の範囲
【請求項1】
被選別物を搬送する第1搬送装置と、
前記第1搬送装置の終端部の下方に設けられ、前記第1搬送装置の終端部から落下した被選別物を受け止め、被選別物を搬送する第2搬送装置と、
前記第2搬送装置から供給された被選別物を良品と不良品とに選別する選別部と、
選別風を、前記第1搬送装置の下方の位置から前記第1搬送装置の搬送方向に沿って、前記第1搬送装置の終端部と前記第2搬送装置との間に供給し、選別風により、前記第1搬送装置の終端部から落下した被選別物から夾雑物を分離し、分離された夾雑物を前記第1搬送装置の搬送方向に沿って送る送風装置と、
前記第2搬送装置の上方に設けられ、分離された夾雑物及び選別風が入ることにより、分離された夾雑物及び選別風を回収し、回収した夾雑物及び選別風を、平面視で前記第1搬送装置の搬送方向と交差する横方向に沿って、外方に向けて排出する回収排出部とが備えられている豆類選別機。
続きを表示(約 1,200 文字)
【請求項2】
前記回収排出部は、前記横方向に沿って設けられた筒状の本体部と、前記本体部における前記第1搬送装置の終端部に対向する部分に設けられ、分離された夾雑物及び選別風が前記本体部の内面の周方向に沿って前記本体部の内部に供給される入口開口部と、前記本体部における前記横方向での端部に設けられ、回収した夾雑物及び選別風を前記横方向に沿って外方に向けて排出する排出開口部とを有している請求項1に記載の豆類選別機。
【請求項3】
前記本体部における前記排出開口部の部分での前記横方向と直交する断面の面積が、前記本体部における前記排出開口部の反対側の部分での前記横方向と直交する断面の面積よりも大きい請求項2に記載の豆類選別機。
【請求項4】
前記送風装置の選別風を、前記第1搬送装置の下方の位置から前記第1搬送装置の搬送方向に沿って、前記第1搬送装置の終端部と前記第2搬送装置との間に供給するダクトが備えられている請求項1に記載の豆類選別機。
【請求項5】
前記送風装置が、前記第1搬送装置の下方に設けられている請求項4に記載の豆類選別機。
【請求項6】
前記第1搬送装置の終端部から落下した被選別物を、前記第1搬送装置の下方への移動を阻止しながら前記第2搬送装置に案内する第1案内部材が備えられている請求項1に記載の豆類選別機。
【請求項7】
前記第1案内部材よりも前記第2搬送装置の搬送下流側に設けられ、前記第1搬送装置の終端部から落下した被選別物を、前記第2搬送装置の搬送下流側への移動を阻止しながら前記第2搬送装置に案内する第2案内部材が備えられている請求項6に記載の豆類選別機。
【請求項8】
前記第1搬送装置の終端部から前記回収排出部への経路の上方に設けられ、分離された夾雑物及び選別風を前記回収排出部に案内する上部案内部材が備えられている請求項1に記載の豆類選別機。
【請求項9】
開口部が、前記第1案内部材における前記第1搬送装置の終端部と前記第2搬送装置との間の部分に開口され、
前記送風装置の選別風が、前記開口部から前記第1搬送装置の終端部と前記第2搬送装置との間に供給される請求項6に記載の豆類選別機。
【請求項10】
前記回収排出部は、前記横方向に沿って設けられた筒状の本体部と、前記本体部における前記第1搬送装置の終端部に対向する部分に設けられ、分離された夾雑物及び選別風が前記本体部の内面の周方向に沿って前記本体部の内部に供給される入口開口部と、前記本体部における前記横方向での端部に設けられ、回収した夾雑物及び選別風を前記横方向に沿って外方に向けて排出する排出開口部とを有しており、
前記入口開口部は、前記送風装置の選別風が前記開口部から前記第1搬送装置の終端部と前記第2搬送装置との間を通過した後の行先の位置に設けられている請求項9に記載の豆類選別機。
(【請求項11】以降は省略されています)
発明の詳細な説明
【技術分野】
【0001】
本発明は、例えば枝豆、エンドウ豆やインゲン豆等の豆類を選別する豆類選別機に関する。
続きを表示(約 1,800 文字)
【背景技術】
【0002】
豆類選別機の一例が、特許文献1に開示されている。
特許文献1では、被選別物が、第1搬送装置により搬送されて、第1搬送装置の終端部から下方の第2搬送装置に落下する。選別風を第1搬送装置の終端部と第2搬送装置との間に供給する送風装置が備えられており、第1搬送装置の終端部と第2搬送装置との間において、小枝や葉等の夾雑物が選別風により被選別物から分離される。この後、被選別物は、第2搬送装置から選別部に搬送されて、良品及び不良品に選別される。
【0003】
特許文献1では、送風装置が第2搬送装置の上方に設けられており、送風装置の搬送風が、第1搬送装置の終端部と第2搬送装置との間に向けて、第1搬送装置及び第2搬送装置の搬送方向とは逆方向に供給されている。これにより、選別風により被選別物から分離された夾雑物は、第2搬送装置とは反対側に送られて排出されるのであり、第2搬送装置の被選別物に入ることは少ない。
【先行技術文献】
【特許文献】
【0004】
特開2001-239215号公報
【発明の概要】
【発明が解決しようとする課題】
【0005】
特許文献1では、選別風により分離された夾雑物が第2搬送装置の被選別物に入ることが少ない点で好ましい。
しかしながら、被選別物の中に軽い良品が含まれていた場合、軽い良品が選別風により夾雑物と一緒に分離されて送られる可能性があり、軽い良品が第2搬送装置に回収されない可能性があるので、改善の余地がある。
【0006】
本発明は、豆類選別機において、選別風により夾雑物を被選別物から分離して排出する場合、軽い良品が回収されずに排出される状態を少なくすることを目的としている。
【課題を解決するための手段】
【0007】
本発明の豆類選別機は、被選別物を搬送する第1搬送装置と、前記第1搬送装置の終端部の下方に設けられ、前記第1搬送装置の終端部から落下した被選別物を受け止め、被選別物を搬送する第2搬送装置と、前記第2搬送装置から供給された被選別物を良品と不良品とに選別する選別部と、選別風を、前記第1搬送装置の下方の位置から前記第1搬送装置の搬送方向に沿って、前記第1搬送装置の終端部と前記第2搬送装置との間に供給し、選別風により、前記第1搬送装置の終端部から落下した被選別物から夾雑物を分離し、分離された夾雑物を前記第1搬送装置の搬送方向に沿って送る送風装置と、前記第2搬送装置の上方に設けられ、分離された夾雑物及び選別風が入ることにより、分離された夾雑物及び選別風を回収し、回収した夾雑物及び選別風を、平面視で前記第1搬送装置の搬送方向と交差する横方向に沿って、外方に向けて排出する回収排出部とが備えられている。
【0008】
本発明によると、被選別物は、第1搬送装置により搬送されて、第1搬送装置の終端部から下方の第2搬送装置に落下する。送風装置の選別風が、第1搬送装置の下方の位置から第1搬送装置の搬送方向に沿って、第1搬送装置の終端部と第2搬送装置との間に供給されて、選別風により夾雑物が被選別物から分離されて送られる。
【0009】
本発明によると、被選別物から分離された夾雑物及び選別風は、第1搬送装置の搬送方向に沿って送られても、第2搬送装置に落下する前に回収排出部に回収され易い。回収排出部に回収された夾雑物及び選別風は、回収排出部において、横方向に沿って外方に向けて排出されるのであり、夾雑物は第2搬送装置の被選別物に入り難い。
【0010】
本発明によると、被選別物の中に含まれていた軽い良品が、選別風により夾雑物と一緒に分離され、第1搬送装置の搬送方向に沿って送られたとする。
夾雑物は小さく細かいものが多いのに対して、軽い良品は夾雑物に比べて大きいことが多いので、軽い良品は、選別風により夾雑物と一緒に第1搬送装置の搬送方向に沿って送られても、回収排出部に回収される前に第2搬送装置に落下し易いのであり、軽い良品が回収されずに排出される状態が少なくなる。
(【0011】以降は省略されています)
この特許をJ-PlatPat(特許庁公式サイト)で参照する
関連特許
株式会社クボタ
作業車
5日前
株式会社クボタ
作業車
6日前
株式会社クボタ
作業機
25日前
株式会社クボタ
作業車
13日前
株式会社クボタ
作業車
13日前
株式会社クボタ
作業車
5日前
株式会社クボタ
作業車
5日前
株式会社クボタ
作業車
6日前
株式会社クボタ
作業車
15日前
株式会社クボタ
作業車両
15日前
株式会社クボタ
作業車両
15日前
株式会社クボタ
作業車両
5日前
株式会社クボタ
作業車両
5日前
株式会社クボタ
作業車両
15日前
株式会社クボタ
作業車両
15日前
株式会社クボタ
作業車両
15日前
株式会社クボタ
作業車両
15日前
株式会社クボタ
作業車両
15日前
株式会社クボタ
作業車両
15日前
株式会社クボタ
作業車両
15日前
株式会社クボタ
圃場作業車
6日前
株式会社クボタ
コンバイン
6日前
株式会社クボタ
コンバイン
6日前
株式会社クボタ
圃場作業車
1か月前
株式会社クボタ
多目的車両
6日前
株式会社クボタ
豆類選別機
今日
株式会社クボタ
多目的車両
6日前
株式会社クボタ
豆類選別機
今日
株式会社クボタ
多目的車両
6日前
株式会社クボタ
多目的車両
6日前
株式会社クボタ
コンバイン
6日前
株式会社クボタ
豆類選別機
今日
株式会社クボタ
多目的車両
今日
株式会社クボタ
多目的車両
6日前
株式会社クボタ
多目的車両
6日前
株式会社クボタ
多目的車両
今日
続きを見る
他の特許を見る