TOP
|
特許
|
意匠
|
商標
特許ウォッチ
Twitter
他の特許を見る
公開番号
2025152172
公報種別
公開特許公報(A)
公開日
2025-10-09
出願番号
2024053950
出願日
2024-03-28
発明の名称
作業車両
出願人
株式会社クボタ
代理人
安田岡本弁理士法人
主分類
B60K
1/00 20060101AFI20251002BHJP(車両一般)
要約
【課題】燃料電池の搭載を阻害することなく、保護機構の上部のスペースを有効活用する。
【解決手段】作業車両1は、車体2と、車体2を走行可能に支持する走行装置4と、走行装置4を駆動する電動モータ7と、電動モータ7に電力を供給する燃料電池8と、車体2に設けられた運転席P1と、運転席P1を保護する保護機構3と、保護機構3の上部に設けられ、且つ運転席P1の周囲の空調を行う空調装置25と、を備えている。
【選択図】図1
特許請求の範囲
【請求項1】
車体と、
前記車体を走行可能に支持する走行装置と、
前記走行装置を駆動する電動モータと、
前記電動モータに電力を供給する燃料電池と、
前記車体に設けられた運転席と、
前記運転席を保護する保護機構と、
前記保護機構の上部に設けられ、且つ前記運転席の周囲の空調を行う空調装置と、
を備えている作業車両。
続きを表示(約 640 文字)
【請求項2】
前記車体に設けられた第1冷却対象に循環させる冷媒を外部空気との熱交換により冷却する第1ラジエータ装置を備え、
前記第1ラジエータ装置は、前記車体の後方に配置されている請求項1に記載の作業車両。
【請求項3】
前記第1ラジエータ装置は、前記保護機構よりも後方に配置されている請求項2に記載の作業車両。
【請求項4】
前記第1冷却対象とは別に前記車体に設けられた第2冷却対象に循環させる冷媒を外部空気との熱交換により冷却する第2ラジエータ装置を備え、
前記第2ラジエータ装置は、前記車体の前部に配置されている請求項3に記載の作業車両。
【請求項5】
前記第2ラジエータ装置は、前記保護機構よりも前方に配置されている請求項4に記載の作業車両。
【請求項6】
前記燃料電池及び前記第2ラジエータ装置を覆うハウジングを備え、
前記ハウジングは、前記保護機構の前部に配置されている請求項5に記載の作業車両。
【請求項7】
前記第1冷却対象は、前記電動モータであり、
前記第2冷却対象は、前記燃料電池、又は前記車体に設けられた他の電装品である請求項4に記載の作業車両。
【請求項8】
前記車体の後部に作業装置を連結する連結装置を備え、
前記第1ラジエータ装置は、前記連結装置よりも上方に配置されている請求項2~7のいずれか1項に記載の作業車両。
発明の詳細な説明
【技術分野】
【0001】
本発明は、燃料電池を備えた作業車両に関する。
続きを表示(約 1,200 文字)
【背景技術】
【0002】
近年、脱炭素化を実現するため、水素を燃料とする燃料電池から供給された電力で駆動する燃料電池式の作業車両の開発が進んでいる。一般に、この種の作業車両は、車両全体の構成を一から設計するのではなく、既存のエンジン駆動式の作業車両の構成を用いて、エンジンを燃料電池に置き換える手段が多く採用されている。特許文献1に開示されたトラクタ(作業車両)は、走行用電気モータと、走行用電気モータに電力を供給する燃料電池と、を備えている。
【先行技術文献】
【特許文献】
【0003】
特開2002-225577号公報
【発明の概要】
【発明が解決しようとする課題】
【0004】
しかし、燃料電池のように比較的大きな装置や機器を作業車両に搭載することにより、当該作業車両に搭載される他の装置等(例えば空調装置)の搭載スペースをひっ迫することになる。言い換えると、他の装置等を搭載することにより、燃料電池の搭載スペースをひっ迫することにもなる。
【0005】
本発明は、このような従来技術の問題点を解決すべくなされたものであって、燃料電池の搭載を阻害することなく、保護機構の上部のスペースを有効活用した作業車両を提供することを目的とする。
【課題を解決するための手段】
【0006】
本発明の一態様に係る作業車両は、車体と、前記車体を走行可能に支持する走行装置と、前記走行装置を駆動する電動モータと、前記電動モータに電力を供給する燃料電池と、前記車体に設けられた運転席と、前記運転席を保護する保護機構と、前記保護機構の上部に設けられ、且つ前記運転席の周囲の空調を行う空調装置と、を備えている。
【発明の効果】
【0007】
上述した作業車両によれば、燃料電池の搭載を阻害することなく、保護機構の上部のスペースを有効活用できる。
【図面の簡単な説明】
【0008】
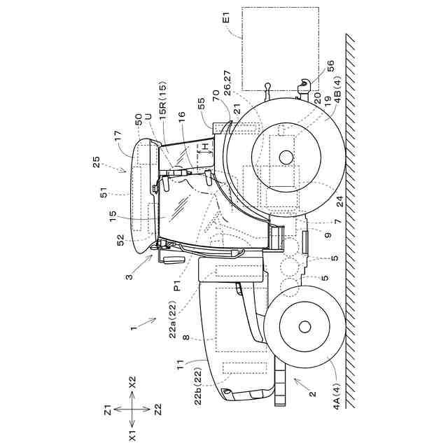
作業車両の左側方視図である。
作業車両の上方視図である。
作業車両の後方視図である。
作業車両の基本構成を示すブロック図である。
連結装置と第1ラジエータ装置との位置関係を示す図である。
第1冷却装置、第2冷却装置、及び第3冷却装置の基本構成を示すブロック図である。
【発明を実施するための形態】
【0009】
以下、本発明の一実施形態について、図面を参照しながら説明する。
【0010】
本実施形態の作業車両1は、トラクタであり、且つ燃料電池が発電した電力を用いて駆動するFCV(Fuel Cell Vehicle)の一種である。なお、本発明に係る作業車両1は、トラクタに限定されない。例えば、本発明に係る作業車両1は、トラクタ以外の農業機械、建設機械、ユーティリティビークル等であってもよい。
(【0011】以降は省略されています)
この特許をJ-PlatPat(特許庁公式サイト)で参照する
関連特許
株式会社クボタ
田植機
1か月前
株式会社クボタ
作業機
1か月前
株式会社クボタ
作業車
4日前
株式会社クボタ
作業車
11日前
株式会社クボタ
作業車
11日前
株式会社クボタ
作業機
23日前
株式会社クボタ
作業車
1か月前
株式会社クボタ
作業車
13日前
株式会社クボタ
作業車
1か月前
株式会社クボタ
田植機
1か月前
株式会社クボタ
作業車
3日前
株式会社クボタ
作業車
3日前
株式会社クボタ
作業車
4日前
株式会社クボタ
作業車
3日前
株式会社クボタ
作業車
1か月前
株式会社クボタ
田植機
1か月前
株式会社クボタ
作業車両
13日前
株式会社クボタ
作業車両
13日前
株式会社クボタ
作業車両
13日前
株式会社クボタ
作業車両
13日前
株式会社クボタ
作業車両
3日前
株式会社クボタ
作業車両
13日前
株式会社クボタ
作業車両
13日前
株式会社クボタ
作業車両
13日前
株式会社クボタ
作業車両
13日前
株式会社クボタ
作業車両
3日前
株式会社クボタ
作業車両
13日前
株式会社クボタ
多目的車両
4日前
株式会社クボタ
圃場作業車
1か月前
株式会社クボタ
コンバイン
4日前
株式会社クボタ
圃場作業車
4日前
株式会社クボタ
コンバイン
4日前
株式会社クボタ
多目的車両
4日前
株式会社クボタ
多目的車両
4日前
株式会社クボタ
多目的車両
4日前
株式会社クボタ
多目的車両
4日前
続きを見る
他の特許を見る