TOP
|
特許
|
意匠
|
商標
特許ウォッチ
Twitter
他の特許を見る
10個以上の画像は省略されています。
公開番号
2025169663
公報種別
公開特許公報(A)
公開日
2025-11-14
出願番号
2024074591
出願日
2024-05-02
発明の名称
作業車両
出願人
株式会社クボタ
代理人
安田岡本弁理士法人
主分類
A01B
63/08 20060101AFI20251107BHJP(農業;林業;畜産;狩猟;捕獲;漁業)
要約
【課題】本発明は、作業装置を少なくとも上下方向で真っすぐ昇降させることのできる作業車両を提供する。
【解決手段】本発明は、走行可能な車体と、車体に取り付けられる連結装置と、を備え、連結装置は、車体に直接的又は間接的に支持される第1装置部と、所定の作業を行う作業装置を連結可能な連結部を含む第2装置部と、を有し、第1装置部は、上下方向及び前後方向と直交する横方向に対して直交する直線方向のうち、少なくとも上下方向で第2装置部を直動可能に支持する。
【選択図】図1
特許請求の範囲
【請求項1】
走行可能な車体と、
前記車体に取り付けられる連結装置と、を備え、
前記連結装置は、
前記車体に直接的又は間接的に支持される第1装置部と、
所定の作業を行う作業装置を連結可能な連結部を含む第2装置部と、
を有し、
前記第1装置部は、上下方向及び前後方向と直交する横方向に対して直交する直線方向のうち、少なくとも前記上下方向で前記第2装置部を直動可能に支持する作業車両。
続きを表示(約 840 文字)
【請求項2】
前記第1装置部は、前記上下方向に前記第2装置部を案内可能な案内装置を有する請求項1に記載の作業車両。
【請求項3】
前記案内装置は、
前記直線方向に延びる案内体と、
前記案内体に案内される被案内体であって、前記第2装置部が直接的又は間接的に連結される被案内体と、を含み、
前記連結装置は、少なくとも前記連結部を上下方向に昇降させるときに、前記案内体を前記上下方向に延びた姿勢で維持させる請求項2に記載の作業車両。
【請求項4】
前記連結装置は、前記第2装置部を直動させる第1アクチュエータを有する請求項1に記載の作業車両。
【請求項5】
前記第1装置部は、前記横方向に延びる軸を中心にして回転可能である請求項1に記載の作業車両。
【請求項6】
前記連結装置は、前記軸を中心にして前記第1装置部を回転させる第2アクチュエータを有する請求項5に記載の作業車両。
【請求項7】
前記第2アクチュエータは、伸縮可能なシリンダ装置であり、前記第1装置部と前記車体とに跨って配置される請求項6に記載の作業車両。
【請求項8】
前記連結装置は、前記車体に連結される基端部と、該基端部の反対側の先端部とを有するアームであって、前記上下方向と直交する方向で前記車体から外方に延出するアームを有し、前記アームの先端部には、前記軸を介して前記第1装置部が連結される請求項5に記載の作業車両。
【請求項9】
前記アームの先端部には、前記軸を介して前記第1装置部の下端部が連結される請求項8に記載の作業車両。
【請求項10】
前記第2装置部は、前記連結部に連結された前記作業装置を駆動する電動モータであって、前記車体から電力供給を受けて駆動する電動モータを含む請求項1に記載の作業車両。
(【請求項11】以降は省略されています)
発明の詳細な説明
【技術分野】
【0001】
本発明は、作業装置を連結する連結装置を備えた作業車両に関する。
続きを表示(約 2,700 文字)
【背景技術】
【0002】
従来、トラクタ等の作業車両は、所定の作業を行う作業装置を連結するための連結装置としてリンク装置(二点リンクや三点リンク)を備える(例えば、特許文献1参照)。この種の連結装置は、作業車両の車体に対して横方向に延びる軸を中心に回転可能に連結される基端部、及び該基端部の反対側の先端部を有するリンク体を備え、リンク体の先端部に作業装置が連結される。これにより、この種の連結装置は、基端部(軸)を中心にリンク体を揺動(回転)させることで、リンク体の先端部に連結された作業装置を昇降させる。
【先行技術文献】
【特許文献】
【0003】
特開2009-232766号公報
【発明の概要】
【発明が解決しようとする課題】
【0004】
ところで、従来の連結装置(リンク装置)では、作業装置を昇降させるとき、作業装置がリンク体の回転に従って円弧状の軌道を移動する。そのため、例えば、作業装置が土壌を耕耘するロータリ式耕耘装置である場合、ロータリを回転させつつ作業装置を上昇させたときに、作業装置が斜め後方に跳ね上げられた態様になり、耕耘した土が後方に跳ね飛ばすことがある。すなわち、作業装置には、上下方向に真っすぐ昇降させることが好ましいものがあるが、従来の連結装置では、作業装置を上下方向に真っすぐ昇降させることができない。
【0005】
そこで、本発明は、作業装置を少なくとも上下方向で真っすぐ昇降させることのできる作業車両を提供する。
【課題を解決するための手段】
【0006】
本発明は、走行可能な車体と、前記車体に取り付けられる連結装置と、を備え、前記連結装置は、前記車体に直接的又は間接的に支持される第1装置部と、所定の作業を行う作業装置を連結可能な連結部を含む第2装置部と、を有し、前記第1装置部は、上下方向及び前後方向と直交する横方向に対して直交する直線方向のうち、少なくとも前記上下方向で前記第2装置部を直動可能に支持する。
【発明の効果】
【0007】
本発明によれば、作業装置を少なくとも上下方向で真っすぐ昇降させることができる。
【図面の簡単な説明】
【0008】
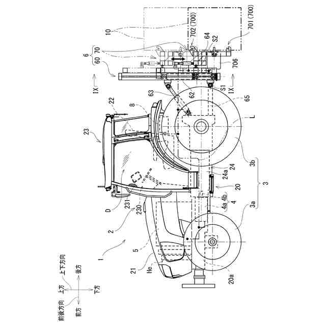
図1は、本発明の一実施形態に係る作業車両の左側面図であって、連結装置を第1状態にしたときの左側面図である。
図2は、同実施形態に係る作業車両の左側面図であって、連結装置を第2状態にした状態の左側面図である。
図3は、同実施形態に係る連結装置の左側面図であって、第1状態の連結装置の左側面図である。
図4は、同実施形態に係る連結装置を後方側から見た背面図であって、第1状態の連結装置の背面図である。
図5は、同実施形態に係る連結装置を後方側から見た背面図であって、連結装置が第1状態であるときに、縦軸を中心にして第2装置部を一方(右)側に回転させた状態の背面図である。
図6は、同実施形態に係る連結装置を後方側から見た背面図であって、連結装置が第1状態であるときに、縦軸を中心にして第2装置部を他方(左)側に回転させた状態の背面図である。
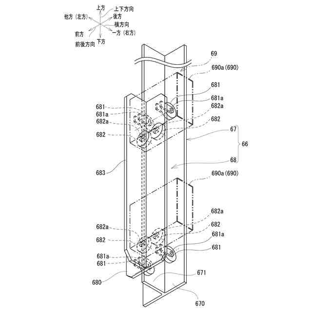
図7は、同実施形態に係る連結装置に含まれる案内装置を斜め下方から見た状態の概略部分斜視図である。
図8は、同実施形態に係る連結装置に含まれる案内装置の概略図であって、一部を仮想線で示した案内装置の部分側面図である。
図9は、図1のIX-IX断面図である。
図10は、同実施形態に係る連結装置の第1装置部の左側面図であって、第1状態の連結装置の第1装置部の左側面図である。
図11は、同実施形態に係る連結装置の第1装置部を後方側から見た背面図であって、第2装置及び一部の構成の図示を省略した第1状態の連結装置(第1装置部)の背面図である。
図12は、同実施形態に係る連結装置の第2装置部の左側面図であって、第1状態の連結装置の第2装置部の左側面図である。
図13は、同実施形態に係る連結装置の第2装置部を後方側から見た背面図であって、第1装置及び一部の構成の図示を省略した第1状態の連結装置(第2装置部)の背面図である。
図14は、同実施形態に係る連結装置の連結部(下部連結部)の説明図である。
図15は、同実施形態に係る連結装置の連結部(上部連結部)の説明図である。
図16は、同実施形態に係る連結装置の装置用電動モータ周辺の要部拡大図である。
図17は、同実施形態に係る作業車両の電気系統の概略ブロック図である。
図18は、本発明の他実施形態に係る連結装置に含まれる案内装置を斜め下方から見た状態の概略部分斜視図である。
図19は、本発明の別の実施形態に係る連結装置を後方側から見た背面図であって、第1状態の連結装置の背面図である。
図20は、本発明のさらに別の実施形態に係る連結装置の左側面図であって、第1状態の連結装置の左側面図である。
図21は、図20に示す連結装置の背面図である。
図22は、本発明のさらに別の実施形態に係る作業車両の左側面図である。
図23は、上記一実施形態に係る作業車両に連結される作業装置の一例を説明するための概略左側面図である。
【発明を実施するための形態】
【0009】
以下、本発明の一実施形態に係る作業車両について、図面を参酌しつつ説明する。なお、以下の説明において、作業車両の直進方向(真っ直ぐ前進又は後退する方向)を前後方向といい、前後方向における前進側を前方といい、前後方向における後退側を後方ということとする。これに伴い、前後方向及び上下方向と直交する作業車両の車幅に対応する方向を横方向という。また、作業車両の前後方向に延びる中心線を基準に、後方側から前方側に向いて横方向における右側を横方向の一方又は右といい、後方側から前方側に向いて横方向における左側を横方向の他方又は左ということとする。
【0010】
本実施形態の作業車両は、駆動用バッテリからの給電によって電動モータを駆動するこ
とで、走行しつつ作業装置に所定の作業を行わせる電動式作業車両である。図1及び図2に示すように、作業車両1には、作業場で所定の作業を行う作業装置10が連結される。
(【0011】以降は省略されています)
この特許をJ-PlatPat(特許庁公式サイト)で参照する
関連特許
株式会社クボタ
移植機
1か月前
株式会社クボタ
作業車
1か月前
株式会社クボタ
作業車
1か月前
株式会社クボタ
作業車
26日前
株式会社クボタ
作業車
24日前
株式会社クボタ
作業車
24日前
株式会社クボタ
作業車
1か月前
株式会社クボタ
作業機
18日前
株式会社クボタ
作業車
1か月前
株式会社クボタ
作業車
1か月前
株式会社クボタ
作業車
1か月前
株式会社クボタ
作業機
1か月前
株式会社クボタ
作業車
10日前
株式会社クボタ
作業車
1か月前
株式会社クボタ
作業車
1か月前
株式会社クボタ
作業車
1か月前
株式会社クボタ
移植機
1か月前
株式会社クボタ
農業機械
10日前
株式会社クボタ
作業車両
1か月前
株式会社クボタ
作業車両
24日前
株式会社クボタ
作業車両
1か月前
株式会社クボタ
作業車両
24日前
株式会社クボタ
作業車両
1か月前
株式会社クボタ
作業車両
1か月前
株式会社クボタ
電動作業車
1か月前
株式会社クボタ
多目的車両
1か月前
株式会社クボタ
多目的車両
1か月前
株式会社クボタ
多目的車両
1か月前
株式会社クボタ
多目的車両
1か月前
株式会社クボタ
多目的車両
1か月前
株式会社クボタ
豆類選別機
1か月前
株式会社クボタ
ガスケット
1か月前
株式会社クボタ
車両用シート
1か月前
株式会社クボタ
竪型の反応炉
18日前
株式会社クボタ
作業車及び座席
1か月前
株式会社クボタ
農作物測定装置
1か月前
続きを見る
他の特許を見る