TOP
|
特許
|
意匠
|
商標
特許ウォッチ
Twitter
他の特許を見る
公開番号
2025166102
公報種別
公開特許公報(A)
公開日
2025-11-05
出願番号
2025132846,2021200126
出願日
2025-08-08,2021-12-09
発明の名称
排水配管部材の施工方法および排水配管部材
出願人
株式会社クボタケミックス
代理人
安田岡本弁理士法人
主分類
E03C
1/12 20060101AFI20251028BHJP(上水;下水)
要約
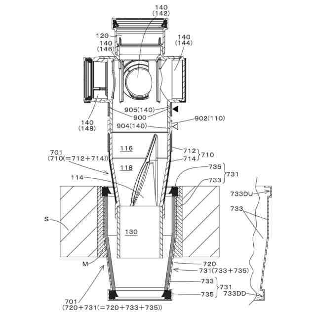
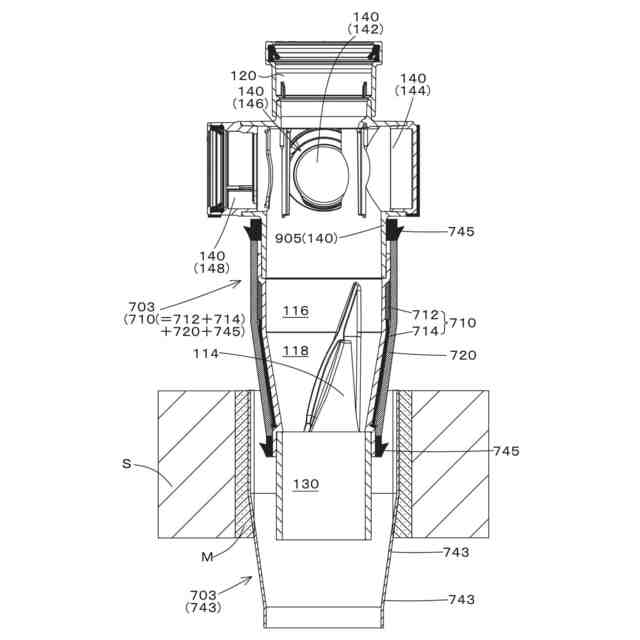
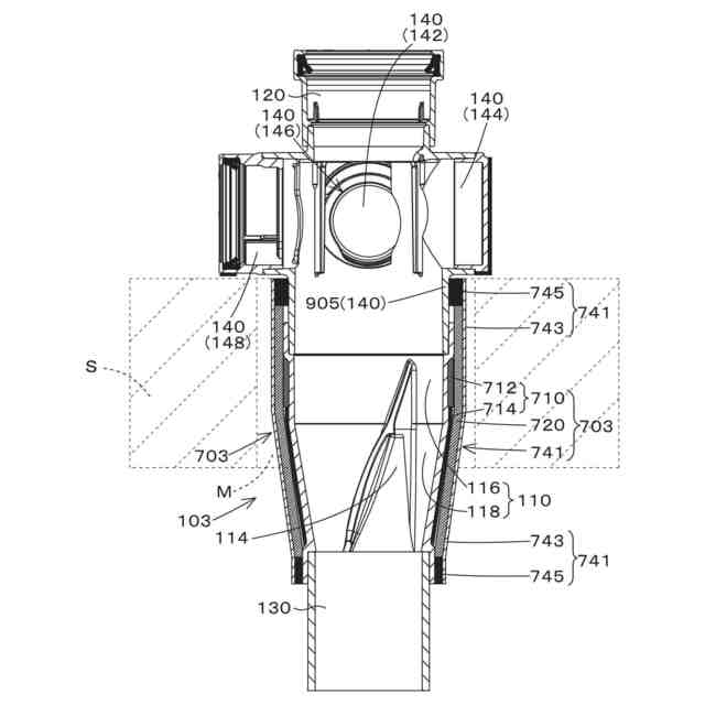
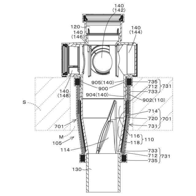
【課題】排水配管継手を、床スラブを貫通する貫通孔に作業性良く施工する。
【解決手段】床スラブの貫通孔に施工される排水配管継手101は、貫通孔内を通る部分の外周面の少なくとも一部に硬質の遮音カバー本体733が設けられ、遮音カバー本体733と排水配管継手の外表面との間に弾性材735を備えるように施工され、遮音カバー本体733の内周面における所定の位置に弾性材735を設けるステップと、弾性材735を設けた後の遮音カバー731を貫通孔に設置するステップと、遮音カバー731の外周面と貫通孔の内周面との間に充填材Mを充填して遮音カバー731が貫通孔に固定された後に、設置された遮音カバー731に遮音カバー731以外の排水配管部材を挿入して、弾性材735を介して遮音カバー731と遮音カバー731以外の排水配管継手とを一体化するステップとを含む。
【選択図】図6
特許請求の範囲
【請求項1】
建築物の区画を貫通する貫通孔に排水配管部材を施工する施工方法であって、
前記排水配管部材は、前記貫通孔内を通る部分の外周面の少なくとも一部に硬質の遮音カバーが設けられ、前記遮音カバーと前記排水配管部材の外表面との間に弾性材を備えるように施工され、
前記遮音カバーの内周面における所定の位置に前記弾性材を設けるステップと、
前記弾性材を設けた後の前記遮音カバーを前記貫通孔に設置するステップと、
前記遮音カバーが前記貫通孔に設置された後に、設置された遮音カバーに前記排水配管部材を挿入して、前記弾性材を介して前記遮音カバーと前記排水配管部材とを一体化するステップとを含む、排水配管部材の施工方法。
続きを表示(約 1,300 文字)
【請求項2】
建築物の区画を貫通する貫通孔に排水配管部材を施工する施工方法であって、
前記排水配管部材は、前記貫通孔内を通る部分の外周面の少なくとも一部に硬質の遮音カバーが設けられ、前記遮音カバーと前記排水配管部材の外表面との間に弾性材を備えるように施工され、
前記排水配管部材の外表面における所定の位置に前記弾性材を設けるステップと、
前記遮音カバーを前記貫通孔に設置するステップと、
前記遮音カバーが前記貫通孔に設置された後に、設置された遮音カバーに前記弾性材を備えた排水配管部材を挿入して、前記弾性材を介して前記遮音カバーと前記排水配管部材とを一体化するステップとを含む、排水配管部材の施工方法。
【請求項3】
前記遮音カバーを前記貫通孔に設置した後であって前記遮音カバーと前記排水配管部材とを一体化する前に、前記遮音カバーの外周面と前記貫通孔の内周面との間に充填材を充填するステップをさらに含む、請求項1または請求項2に記載の施工方法。
【請求項4】
前記区画は、床スラブであって、
前記排水配管部材は、建築物に施工された際に、前記床スラブの貫通孔に配置される管本体と、前記床スラブの上方に突出し上階からの排水を流入させる排水立管を接続する上立管接続部と、前記床スラブの下方に突出し下階に排水を流出させる排水管を接続する排水管接続部と、前記床スラブの上方で排水横枝管を接続する横枝管接続部とを備えた排水配管継手であって、
前記弾性材は、前記遮音カバーと前記排水配管継手の外表面との間における、上側の端部のみに、または、上側の端部および下側の端部に、備えるように施工される、請求項1~請求項3のいずれかに記載の施工方法。
【請求項5】
前記遮音カバーと前記排水配管部材とを一体化するステップは、
前記区画に設置された遮音カバーを前記弾性材とともに前記貫通孔に残存させて、前記排水配管部材を前記貫通孔から離脱可能に、
または、
前記区画に設置された遮音カバーを前記貫通孔に残存させて、前記排水配管部材を前記弾性材とともに前記貫通孔から離脱可能に、
一体化する、請求項1~請求項4のいずれかに記載の施工方法。
【請求項6】
前記遮音カバーは、硬質樹脂製である、請求項1~請求項5のいずれかに記載の施工方法。
【請求項7】
前記遮音カバーは、前記排水配管部材の外径に対応したリング状で弾性を備えたリング弾性材を介して、前記排水配管部材の外表面に当接する、請求項1~請求項6のいずれかに記載の施工方法。
【請求項8】
前記遮音カバーに前記弾性材を設けるステップは、前記遮音カバーの内周面におけるくぼみに前記弾性材を設ける、請求項1に記載の施工方法。
【請求項9】
前記遮音カバーと前記排水配管部材との間であって、前記貫通孔内を通る部分の少なくとも一部には振動絶縁体が設けられる、請求項1~請求項8のいずれかに記載の施工方法。
【請求項10】
前記振動絶縁体は、外層側の前記遮音カバーに固着される、請求項9に記載の施工方法。
(【請求項11】以降は省略されています)
発明の詳細な説明
【技術分野】
【0001】
本発明は、建築物の区画を貫通する貫通孔(一例として建築物の区画である床スラブを貫通する貫通孔)に設けられる排水配管部材の施工方法および排水配管部材に関し、特に、最適な遮音性能等を発現し得る排水配管部材を作業性良く貫通孔に施工することのできる施工方法および排水配管部材に関する。
続きを表示(約 2,400 文字)
【背景技術】
【0002】
集合住宅やオフィスビルなどには、給水設備および排水設備が設けられる。このうちの排水設備は、建築物の各階層を上下に貫く縦管と、各階層内に設置される横管と、これらを接続する排水配管継手とを備えた排水配管構造が代表的なものとして広く知られている。このような排水配管構造においては、排水騒音を低減化するために遮音性を備えた外層部材(遮音カバー)も設けられる。
【0003】
そして、このような排水配管構造が備え付けられた建築物において、階下にて火災等が発生した場合に上層階へ火炎や煤煙、有毒ガスが流出することを防止するために、建築物において貫通孔を備えた床スラブにおける防火区画構造が実現されている。このような防火区画構造は、熱膨張性耐火材を配管材の外周に別途設けることにより実現されることがある。このため、上述した排水配管継手を含めて、建築物の床スラブを貫通して設けられる排水用配管(排水配管継手、立管等を含む)には、遮音性を備えた外層部材や熱膨張材を含む外層部材を管本体の外側に備えるものがある。
【0004】
ところで、建築物の各階層のコンクリート打設床において、配管を階上から階下またはその逆に通すための区画貫通構造を形成する必要がある場合には、具体的には、配管を通すための区画貫通孔をコンクリートに形成するが、従来、コンクリート打設前にボイドまたはスリーブと呼ばれる管を床下地に垂直に立てて設置して固定し、スリーブの周囲にコンクリートを流し込んでコンクリート床を造り、養生し、スリーブの内部に区画形成される空洞を区画貫通孔とし、配管を通していた。そして、スリーブは通常、紙、樹脂または金属でできているため、通常は養生後に引き抜き作業が必要であった。このようにして形成された区画貫通構造に耐火性を与えるためには配管後に熱膨張材を含む外層部材を、騒音低減のためには遮音性を備えた外層部材を別途設置する必要があり、施工が煩雑であった。
【0005】
このような問題に対して、スリーブ(さや管)そのものに熱膨張性があれば引き抜く必要がないという観点から、特開2011-094642号公報(特許文献1)は、以下の構成を備えた区画貫通部における配管構造を開示する。この区画貫通部における配管構造は、合成樹脂に熱膨張性黒鉛を含有させた耐火性樹脂組成物からなるさや管または複層の一層に前記耐火性樹脂組成物からなる耐火膨張層を備えるさや管と、前記さや管の内径よりも外径が小さくされて前記さや管の内側に挿入される内管と、前記さや管と前記内管との間に形成された空隙に挿入されるスペーサと、を備えることを特徴とする(請求項1)。さらに、前記空隙には吸音材が充填されていることを特徴とする(請求項3)。
【0006】
この特許文献1に開示された区画貫通部における配管構造によると、火災時にさや管が熱膨張して貫通部を塞ぐことで耐火性を有するうえに、内管とさや管の間に空隙によって内管で生じた排水騒音を吸収することで固体伝播音を低減できるようになる。さらに、空隙には吸音材が充填されていることで、よりいっそう排水騒音を低減することができる。
【先行技術文献】
【特許文献】
【0007】
特開2011-094642号公報
【発明の概要】
【発明が解決しようとする課題】
【0008】
しかしながら、特許文献1に開示された区画貫通部における配管構造においては、耐火性樹脂組成物からなる耐火膨張層を備えるさや管とさや管の内側に挿入される内管との間の空隙に吸音材が充填されているに過ぎない。これでは、特許文献1に開示された区画貫通部に直管が設置されている場合にはそもそも排水騒音が少ないために問題になりにくいと仮にしても、区画貫通部に設けられた(建築物の各階を上下に貫く縦管と各階に設置される横管とを接続して複雑に合流した排水を下階に流下させる)排水配管継手における排水騒音を十分に低減することができない。
【0009】
なお、このような問題点は、建築物の床スラブのみならず垂直壁を含む建築物の区画を貫通する貫通孔に設けられ、遮音性を備えた外層部材や熱膨張材を含む外層部材を管本体の外側に備える、排水配管継手を含む様々な排水配管部材に共通する。
本発明は、上述の問題点に鑑みて開発されたものであり、その目的とするところは、最適な遮音性能等を発現し得る排水配管部材を、建築物の区画を貫通する貫通孔(一例として建築物の区画である床スラブを貫通する貫通孔)に作業性良く施工する施工方法および排水配管部材を提供することである。
【課題を解決するための手段】
【0010】
上記目的を達成するため、本発明のある局面に係る排水配管部材の施工方法は以下の技術的手段を講じている。
すなわち、本発明のある局面に係る排水配管部材の施工方法は、建築物の区画を貫通する貫通孔に排水配管部材を施工する施工方法であって、前記排水配管部材は、前記貫通孔内を通る部分の外周面の少なくとも一部に硬質の遮音カバーが設けられ、前記遮音カバーと前記排水配管部材の外表面との間に弾性材を備えるように施工され、前記遮音カバーの内周面における所定の位置に前記弾性材を設けるステップと、前記弾性材を設けた後の前記遮音カバーを前記貫通孔に設置するステップと、前記遮音カバーが前記貫通孔に設置された後に、設置された遮音カバーに前記排水配管部材を挿入して、前記弾性材を介して前記遮音カバーと前記排水配管部材とを一体化するステップとを含むことを特徴とする。
(【0011】以降は省略されています)
この特許をJ-PlatPat(特許庁公式サイト)で参照する
関連特許
個人
蛇口
5か月前
丸一株式会社
排水配管部材
18日前
一文機工株式会社
トイレ装置
23日前
TOTO株式会社
トイレ装置
2か月前
個人
ドクター中まミズつクル
2か月前
株式会社田中設備
蓋体
1か月前
TOTO株式会社
排水システム
1か月前
株式会社タカギ
水栓装置
5か月前
TOTO株式会社
排水システム
1か月前
TOTO株式会社
便座装置
2か月前
ミサワホーム株式会社
外構
1か月前
タイガースポリマー株式会社
側溝
2か月前
株式会社KVK
水栓
1か月前
株式会社KVK
水栓
3か月前
株式会社KVK
水栓
3か月前
株式会社KVK
水栓
3か月前
TOTO株式会社
トイレ装置
2か月前
TOTO株式会社
トイレ装置
2か月前
TOTO株式会社
トイレ装置
2か月前
株式会社大林組
雨水桝蓋
5か月前
株式会社タカギ
水栓装置
4か月前
ホーコス株式会社
床置型グリース阻集器
2か月前
管清工業株式会社
管路内調査装置
2日前
管清工業株式会社
管路内調査装置
2日前
クリナップ株式会社
キッチン
1か月前
TOTO株式会社
浴室床
4か月前
TOTO株式会社
洗面器及び洗面台
3か月前
TOTO株式会社
洗面器及び洗面台
3か月前
三興建設株式会社
下水道バイパス装置
3か月前
TOTO株式会社
洗い場床
4か月前
株式会社Deto
吐水器
1か月前
丸一株式会社
排水装置及び封水形成部材
5か月前
TOTO株式会社
トイレ装置
4か月前
TOTO株式会社
排水管継手
3か月前
TOTO株式会社
排水管継手
3か月前
TOTO株式会社
トイレ装置
4か月前
続きを見る
他の特許を見る