TOP
|
特許
|
意匠
|
商標
特許ウォッチ
Twitter
他の特許を見る
10個以上の画像は省略されています。
公開番号
2025155051
公報種別
公開特許公報(A)
公開日
2025-10-14
出願番号
2024058375
出願日
2024-03-31
発明の名称
吐水器
出願人
株式会社Deto
代理人
個人
,
個人
,
個人
主分類
E03C
1/042 20060101AFI20251006BHJP(上水;下水)
要約
【課題】部品の損傷を軽減できる吐水器を提供する。
【解決手段】吐水側部位と、脱着可能なホース側部位とからなる吐水器であって、吐水側部位は、吐水部と、吐水側管部と、吐水側係合部13とを備え、ホース側部位は、内部を水が流れるホース側管部と、ホース側管部と連なっている収容部と、吐水側部位とホース側部位を係合するホース側係合部23とを備え、吐水側係合部は、第一方向DR1に第一凸部16を有し、ホース側係合部23は、第二方向DR2に第二凸部26を有し、吐水側部位は、吐水側管部の少なくとも一部が収容部に収容された状態において回動可能であり、吐水側部位が回動するときに、第一凸部16と第二凸部26が接触し、少なくとも一方が撓むことにより、第一凸部16は、接触位置を通過し、第一凸部16が回動し接触位置26cを通過後に衝突し、吐水側部位が回動することを静止させるとともに吐水側部位とホース側部位を係合させる。
【選択図】図9
特許請求の範囲
【請求項1】
ホース側に近い部位であるホース側部位と、当該ホース側部位に対して脱着が可能な吐水側部位とからなる吐水器であって、
前記吐水側部位は、
水を吐水する吐水部と、
内部を前記水が流れる吐水側管部と、
前記吐水側管部の外面上に備えられ、前記吐水側部位を前記ホース側部位に係合するための吐水側係合部と、を備え、
前記ホース側部位は、
内部を前記水が流れるホース側管部と、
前記吐水側部位が前記ホース側部位に取り付けられている状態のときに前記吐水側管部の少なくとも一部を収容し、前記ホース側管部と連なっている収容部と、
前記収容部と一体に設けられ、又は、前記収容部に隣接して設けられ、前記吐水側部位を前記ホース側部位に係合するためのホース側係合部とを備え、
前記吐水側係合部は、第一方向に凸である第一凸部を有し、
前記ホース側係合部は、第二方向に凸である第二凸部を有し、
前記吐水側部位は、前記吐水側管部の少なくとも一部が前記収容部に収容された状態において回動可能であり、
前記吐水側部位が回動するときに、前記第一凸部と前記第二凸部が接触位置で互いに接触するとともに、少なくとも一方が撓むことにより、前記第一凸部は、当該接触位置を通過し、
前記吐水側係合部と前記ホース側係合部とは、前記第一凸部が回動し前記接触位置を通過した後に衝突することにより、前記吐水側部位が回動することを静止させるとともに前記吐水側部位と前記ホース側部位とを係合させる、吐水器。
続きを表示(約 710 文字)
【請求項2】
前記第二凸部の先端は平面であり、
前記吐水側部位が回動するときに、前記第一凸部の先端と前記第二凸部の先端が接触する、請求項1に記載の吐水器。
【請求項3】
前記第一凸部は、前記第一凸部の前記先端に隣接するとともに当該先端に対して傾斜している傾斜面を有し、
前記第二凸部は、前記第二凸部の前記先端に隣接するとともに当該先端に対して傾斜している傾斜面を有し、
前記第一凸部の前記傾斜面と前記第二凸部の前記傾斜面は、前記吐水側部位と前記ホース側部位の係合を解除するために前記吐水側部位を回動させるときに、互いに接触する、請求項2に記載の吐水器。
【請求項4】
前記第一凸部の前記傾斜面の前記第一凸部の先端に対する傾きの角度と前記第二凸部の前記傾斜面の前記第二凸部の先端に対する傾きの角度は、略同一である、請求項3に記載の吐水器。
【請求項5】
前記第一凸部の前記傾斜面の前記第一凸部の先端に対する傾きの角度と前記第二凸部の前記傾斜面の前記第二凸部の先端に対する傾きの角度は、20°以上70°以下である、請求項4に記載の吐水器。
【請求項6】
前記吐水側係合部は、前記吐水側管部の内部を前記吐水部に向かって水が流れる方向である水流方向に凸である第三凸部を有し、
前記第三凸部と前記ホース側係合部は、前記第一凸部が前記接触位置を通過した後に衝突する、請求項1に記載の吐水器。
【請求項7】
前記第一凸部又は前記第二凸部は、突出している方向における長さを変更可能である、請求項1に記載の吐水器。
発明の詳細な説明
【技術分野】
【0001】
本発明は、吐水器に関する。
続きを表示(約 1,900 文字)
【背景技術】
【0002】
特許文献1には、導入口と吐出口との間に水道水を流す通水路を形成した給水器本体を備える、給水器が開示されている。特許文献2には、吐水ホースに基端部を連通連結して先端部から吐水可能に構成したシャワーヘッドが開示されている。
【先行技術文献】
【特許文献】
【0003】
特開2001―128876号公報
特開2003ー038379号公報
【発明の概要】
【発明が解決しようとする課題】
【0004】
上記特許文献に係るシャワーヘッドは、一体として構成されているが、近年、上側部分と下側部分を取り外し可能なシャワーヘッドが流通している。しかし、当該上側部分と、当該下側部分を着脱するたびに、着脱付近の部品が損傷する場合がある。
【0005】
本発明が解決しようとする課題としては、部品の損傷を軽減できる吐水器を提供することが一例として挙げられる。
【課題を解決するための手段】
【0006】
請求項1に記載の発明は、
ホース側に近い部位であるホース側部位と、当該ホース側部位に対して脱着が可能な吐水側部位とからなる吐水器であって、
前記吐水側部位は、
水を吐水する吐水部と、
内部を前記水が流れる吐水側管部と、
前記吐水側管部の外面上に備えられ、前記吐水側部位をホース側部位に係合するための吐水側係合部とを備え、
前記ホース側部位は、
内部を前記水が流れるホース側管部と、
前記吐水側部位が前記ホース側部位に取り付けられている状態のときに前記吐水側管部の少なくとも一部を収容し、前記ホース側管部と連なっている収容部と、
前記収容部と一体に設けられ、又は、前記収容部に隣接して設けられ、前記吐水側部位をホース側部位に係合するためのホース側係合部とを備え、
前記吐水側係合部は、第一方向に凸である第一凸部を有し、
前記ホース側係合部は、第二方向に凸である第二凸部を有し、
前記吐水側部位は、前記吐水側管部の少なくとも一部が前記収容部に収容された状態において回動可能であり、
前記吐水側部位が回動するときに、前記第一凸部と前記第二凸部が接触位置で互いに接触するとともに、少なくとも一方が撓むことにより、前記第一凸部は、当該接触位置を通過し、
前記吐水側係合部と前記ホース側係合部は、前記第一凸部が回動し前記接触位置を通過した後に衝突することにより、前記吐水側部位が回動することを静止させるとともに前記吐水側部位と前記ホース側部位を係合させる、吐水器である。
【0007】
本発明によれば、部品の損傷を軽減できる吐水器を提供することができる。
【図面の簡単な説明】
【0008】
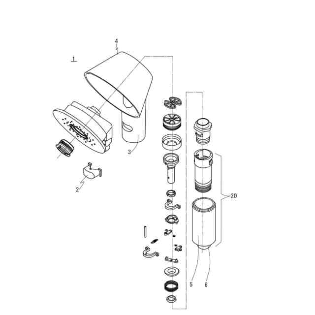
実施形態における吐水器の分解図である。
組み立てた状態の吐水器である。
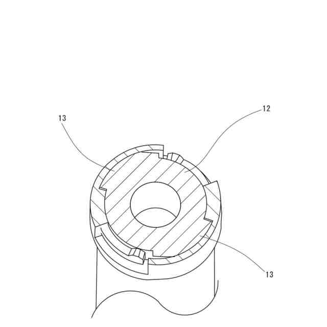
吐水側部位とホース側部位との接続部分に係る吐水側部位の部品を示す斜視図である。
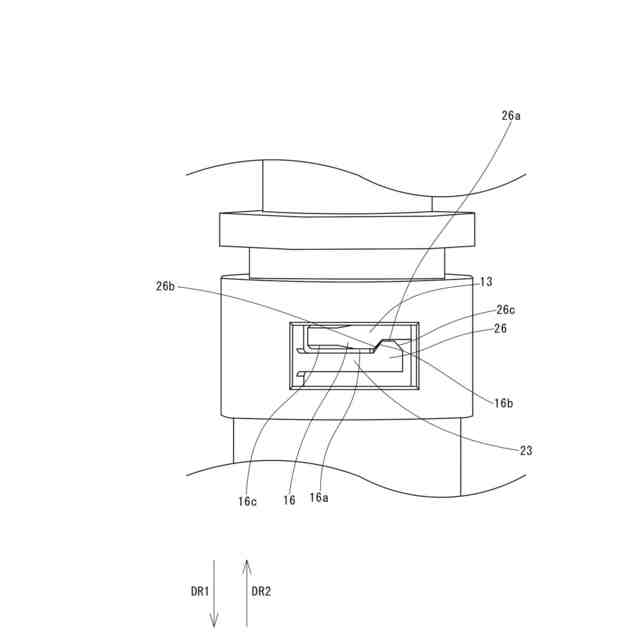
吐水側管部、及び吐水側係合部の側面図である。
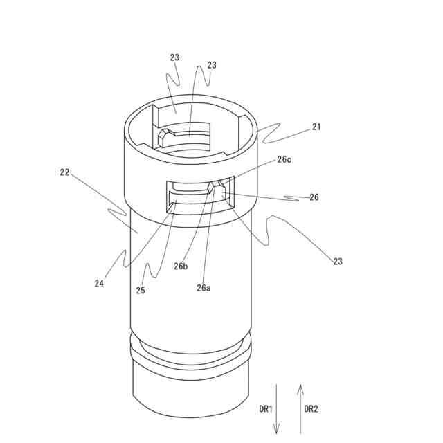
吐水側部位とホース側部位との接続部分に係るホース側部位の部品を示す斜視図である。
吐水側管部を、収容部に挿入した際の状態を示す図である。
図6に示すAA部分の断面図である。
図7に示す吐水側管部(吐水側係合部)を回動させて、吐水側部位(吐水側管部)とホース側部位(収容部)とを係合させた状態を示す断面図である。
吐水側部位(吐水側管部)とホース側部位(収容部)とを係合させた状態の側面図である。
【発明を実施するための形態】
【0009】
以下、本発明の実施の形態について、図面を用いて説明する、なお、全ての図面において、同様な構成要素には同様の符号を付し、適宜説明を省略する。
【0010】
<実施形態>
図1は、実施形態における吐水器1の分解図である。図2は、組み立てた状態の吐水器1である。なお、説明中において、第一方向DR1は、水を吐水する吐水部11に向かって水が流れる方向である水流方向とは反対の方向(水流方向に対して180°反対の方向)を表し、水流方向を第二方向DR2としている。第一方向DR1、及び第二方向DR2は、図2において、上下方向(鉛直方向)でもある。なお、第一方向DR1、及び第二方向DR2(水流方向)は、上下方向に対して斜めに傾斜している方向でもよい(例:上下方向に対して斜めに水が流れる場合)。
(【0011】以降は省略されています)
この特許をJ-PlatPat(特許庁公式サイト)で参照する
関連特許
株式会社Deto
吐水器
21日前
株式会社Deto
吐水器
1か月前
丸一株式会社
排水配管部材
9日前
株式会社田中設備
蓋体
1か月前
TOTO株式会社
トイレ装置
1か月前
一文機工株式会社
トイレ装置
14日前
個人
ドクター中まミズつクル
2か月前
TOTO株式会社
排水システム
1か月前
TOTO株式会社
排水システム
1か月前
株式会社タカギ
水栓装置
5か月前
株式会社KVK
水栓
1か月前
株式会社KVK
水栓
3か月前
株式会社KVK
水栓
2か月前
タイガースポリマー株式会社
側溝
2か月前
TOTO株式会社
便座装置
2か月前
ミサワホーム株式会社
外構
1か月前
株式会社KVK
水栓
3か月前
TOTO株式会社
トイレ装置
2か月前
TOTO株式会社
トイレ装置
2か月前
TOTO株式会社
トイレ装置
2か月前
株式会社タカギ
水栓装置
4か月前
ホーコス株式会社
床置型グリース阻集器
2か月前
クリナップ株式会社
キッチン
1か月前
TOTO株式会社
洗面器及び洗面台
3か月前
TOTO株式会社
洗面器及び洗面台
3か月前
TOTO株式会社
浴室床
3か月前
TOTO株式会社
洗い場床
4か月前
三興建設株式会社
下水道バイパス装置
3か月前
株式会社Deto
吐水器
1か月前
TOTO株式会社
トイレ装置
4か月前
共立製薬株式会社
小便器用排水システム
8日前
TOTO株式会社
排水管継手
3か月前
TOTO株式会社
排水管継手
3か月前
TOTO株式会社
トイレ装置
4か月前
株式会社LIXIL
便器装置
1か月前
飛島建設株式会社
仮設壁の構築方法
1か月前
続きを見る
他の特許を見る