TOP
|
特許
|
意匠
|
商標
特許ウォッチ
Twitter
他の特許を見る
公開番号
2025169846
公報種別
公開特許公報(A)
公開日
2025-11-14
出願番号
2024083675
出願日
2024-05-02
発明の名称
トイレ装置
出願人
一文機工株式会社
代理人
主分類
E03D
11/00 20060101AFI20251107BHJP(上水;下水)
要約
【課題】凝固剤を含んだ汚水を袋状に密封包装するパック手段を所望の位置に設けることができるトイレ装置を提供する。
【解決手段】トイレ装置1は、洗浄水が供給可能に構成された便器2と、便器2から排出される汚物を粉砕し、粉砕された汚物を便器2から排出される洗浄水と混合して汚水として排出する粉砕排出ポンプ42と、汚水を凝固する凝固剤を供給する凝固剤供給手段5と、粉砕排出ポンプ42から排出される汚水と凝固剤供給手段5から供給される凝固剤を包装材で袋状に密封包装するパック手段6と、粉砕排出ポンプ42から排出される汚水をパック手段6へ流す排水管7とを備える。
【選択図】図1
特許請求の範囲
【請求項1】
洗浄水が供給可能に構成された便器と、
前記便器から排出される汚物を粉砕し、粉砕された汚物を前記便器から排出される洗浄水と混合して汚水として排出する粉砕排出手段と、
前記汚水を凝固する凝固剤を供給する凝固剤供給手段と、
前記粉砕排出手段から排出される汚水と前記凝固剤供給手段から供給される凝固剤を包装材で袋状に密封包装するパック手段と、
前記粉砕排出手段から排出される汚水を前記パック手段へ流す排水管と、
を備えたことを特徴とするトイレ装置。
続きを表示(約 280 文字)
【請求項2】
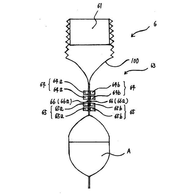
前記包装材は筒状フィルムであり、前記パック手段は溶着切断手段を備えており、
前記溶着切断手段は、前記筒状フィルムの上部を熱溶着によって密封する上部溶着手段と、前記筒状フィルムの下部を熱溶着によって密封する下部溶着手段と、前記上部溶着手段と前記下部溶着手段との間に設けられ、前記筒状フィルムを切断する切断手段と、を備えたことを特徴とする請求項1に記載のトイレ装置。
【請求項3】
前記上部溶着手段および前記下部溶着手段は、それぞれが上下に2本の帯状のヒーターを備えていることを特徴とする請求項2に記載のトイレ装置。
発明の詳細な説明
【技術分野】
【0001】
本発明は、例えばキャンピングカー等に好適な水洗式のトイレ装置に関する。
続きを表示(約 1,200 文字)
【背景技術】
【0002】
キャンピングカー等に好適な水洗式のトイレ装置として、特開2023-136593号公報に記載のものが知られている。
このトイレ装置は、排泄物を受容する被洗浄部(便鉢)の直下にパック装置を備えており、このパック装置によって、1回のトイレ使用毎に汚物や洗浄水とこれらをゲル状に固める凝固剤を筒状フィルムに収容して熱溶着で袋状に密封包装して汚物を処理するものである。
【0003】
このトイレ装置によれば、排泄された汚物や便器洗浄後の洗浄水を貯留する汚物タンクが不要になるとともに、汚物タンクに貯留した汚物等を下水処理施設に繋がる下水升へ排出する作業も不要になる。
【0004】
また、上述した特開2023-136593号公報に記載のパック装置と同様のパック装置を備えた水洗式のトイレ装置として、特開2023-63204号公報に記載のものが知られている。
【0005】
このトイレ装置は、便器から排出される汚物や便器洗浄後の洗浄水を吸引装置によって排水管を介してパック装置へ排出し、このパック装置によって、汚物や洗浄水を筒状フィルムに収容して熱溶着で袋状に密封包装して汚物を処理するものである。
【先行技術文献】
【特許文献】
【0006】
特開2023-136593号公報
特開2023-63204号公報
【発明の概要】
【発明が解決しようとする課題】
【0007】
しかしながら、特許文献1に記載のトイレ装置にあっては、パック装置を被洗浄部(便鉢)の直下に設ける必要があるため、パック装置を設ける位置が限定されるといった課題があった。
【0008】
また、特許文献2に記載のトイレ装置にあっては、大便やトイレットペーパーといった流動性の低い汚物をそのまま排水管へ排出するため、径の大きな排水管が必要になるといった課題があった。
【0009】
そこで、本発明は、上記課題を解決するために案出されたものであり、パック手段を所望の位置に設けることができるとともに、小径の排水管を使用できるトイレ装置を提供することを目的とする。
【課題を解決するための手段】
【0010】
前記課題を解決するため、本発明のトイレ装置は、洗浄水が供給可能に構成された便器と、
前記便器から排出される汚物を粉砕し、粉砕された汚物を前記便器から排出される洗浄水と混合して汚水として排出する粉砕排出手段と、
前記汚水を凝固する凝固剤を供給する凝固剤供給手段と、
前記粉砕排出手段から排出される汚水と前記凝固剤供給手段から供給される凝固剤を包装材で袋状に密封包装するパック手段と、
前記粉砕排出手段から排出される汚水を前記パック手段へ流す排水管と、
を備えたことを特徴とする。
(【0011】以降は省略されています)
この特許をJ-PlatPat(特許庁公式サイト)で参照する
関連特許
一文機工株式会社
トイレ装置
26日前
個人
蛇口
5か月前
丸一株式会社
排水配管部材
21日前
個人
ドクター中まミズつクル
2か月前
株式会社田中設備
蓋体
1か月前
TOTO株式会社
トイレ装置
2か月前
一文機工株式会社
トイレ装置
26日前
TOTO株式会社
排水システム
2か月前
TOTO株式会社
排水システム
2か月前
株式会社タカギ
水栓装置
5か月前
ミサワホーム株式会社
外構
2か月前
TOTO株式会社
便座装置
3か月前
タイガースポリマー株式会社
側溝
3か月前
株式会社KVK
水栓
1か月前
株式会社KVK
水栓
3か月前
株式会社KVK
水栓
3か月前
株式会社KVK
水栓
3か月前
TOTO株式会社
トイレ装置
3か月前
TOTO株式会社
トイレ装置
3か月前
TOTO株式会社
トイレ装置
3か月前
株式会社タカギ
水栓装置
4か月前
株式会社大林組
雨水桝蓋
5か月前
管清工業株式会社
管路内調査装置
5日前
管清工業株式会社
管路内調査装置
5日前
ホーコス株式会社
床置型グリース阻集器
3か月前
TOTO株式会社
浴室床
4か月前
TOTO株式会社
洗面器及び洗面台
3か月前
TOTO株式会社
洗面器及び洗面台
3か月前
クリナップ株式会社
キッチン
2か月前
TOTO株式会社
洗い場床
4か月前
株式会社Deto
吐水器
1か月前
三興建設株式会社
下水道バイパス装置
3か月前
TOTO株式会社
排水管継手
3か月前
共立製薬株式会社
小便器用排水システム
20日前
TOTO株式会社
トイレ装置
4か月前
TOTO株式会社
トイレ装置
4か月前
続きを見る
他の特許を見る