TOP
|
特許
|
意匠
|
商標
特許ウォッチ
Twitter
他の特許を見る
10個以上の画像は省略されています。
公開番号
2025177659
公報種別
公開特許公報(A)
公開日
2025-12-05
出願番号
2024084688
出願日
2024-05-24
発明の名称
管路内調査装置
出願人
管清工業株式会社
代理人
個人
主分類
E03F
7/00 20060101AFI20251128BHJP(上水;下水)
要約
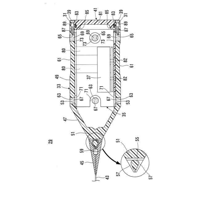
【課題】下水圧送管路などの内面腐食個所等を調査できる管路内調査装置であって、回収不能状態になることを避けるための構造を備えた管路内調査装置を提供する。
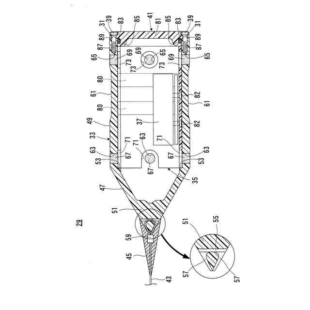
【解決手段】管路内調査装置の調査装置本体29を、ケーシング33と、このケーシング33内に嵌め込んだ内側シャーシ35と、内側シャーシ35内に配置した電子基板及びバッテリを有する電子部品類37と、ケーシング33の後端開口部31を密封的に閉塞する蓋部材41と、から構成する。ケーシング33に注水口63、65を形成し、この注水口63、65を水溶解性又は水溶性樹脂製の樹脂栓67、69で密封的に塞いでおく。
【選択図】図4
特許請求の範囲
【請求項1】
水が流れる管路内をこの水の流れに乗って下流に移動しながら管路内を調査する管路内調査装置であって、
ケーシングと、
このケーシング内に配置された、管路内面の腐食個所を検出するための又は管路内面の腐食個所を予想するためのセンサと、
前記ケーシングに設けられた、注水口を有するタンク部と、
前記注水口を閉塞する栓部材と、を備え、
前記栓部材は、所定時間管路内の水に浸っていると溶解して前記注水口を開放する、ことを特徴とする管路内調査装置。
続きを表示(約 190 文字)
【請求項2】
前記栓部材はPVA製である、ことを特徴とする請求項1記載の管路内調査装置。
【請求項3】
前記センサは前記管路内の自由水面又は空気溜りを検出する静電容量センサであり、
この静電容量センサは前記ケーシングの内周面に沿って全周にわたって又はほぼ全周にわたって延びる一対の電極を有している、ことを特徴とする請求項1又は2記載の管路内調査装置。
発明の詳細な説明
【技術分野】
【0001】
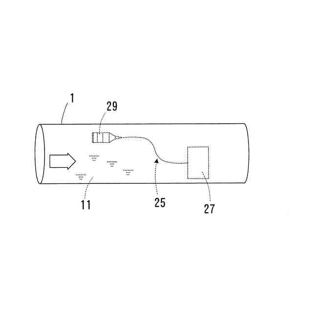
本発明は、下水圧送管路などの管路の内面腐食個所等を検出する技術に関する。
続きを表示(約 2,000 文字)
【背景技術】
【0002】
下水管路システムとしては、ポンプによる圧力を利用する圧力管路方式のものと、地盤の高低差を利用する自然流下方式のものとが用いられているが、圧力管路方式のものの管路内面の腐食状態の調査では、管路が山部及び谷部を有していることや満管状態の管路個所を通過させる必要があるために、自然流下方式のものの管路内面の腐食状態の調査で用いられている走行車輪を有する調査機器や水上航行体を有する調査機器は基本的には利用することが困難である。また、モータなどの駆動機構を有するものも圧力管路内に入れるには大きすぎるので簡単には利用できない。
【0003】
そこで、特許文献1に示すように、圧力管路の内面の硫化水素による腐食は圧力管路内の空気溜りがある個所で生じるとの観点から、空気溜りを検出するための静電容量センサを有するが、駆動機構を備えていない小型のカプセル状の調査機器を利用することが行われている。このような小型のカプセル状の調査機器は、圧力管路に接続されている空気弁又は補修弁個所から圧力管路内に導入することが可能であり、圧力管路内に導入されると圧力管路内の下水の流れに乗って下流側に移動し、移動過程において静電容量センサにより空気溜り又は空気溜り個所を検出する。空気溜り又は空気溜り個所を検出した調査機器は下流側のマンホールや処理施設から回収され、例えばメモリの記録内容を確認することにより圧力管路の空気溜り又は空気溜り個所を特定することができる。
【0004】
空気溜り個所が特定されると、特定された個所で圧力管路の内面に硫化水素による腐食が生じている可能性が高いので、圧力管路の特定された個所をより詳しく検査して内面の腐食状態を確認する。
【先行技術文献】
【特許文献】
【0005】
特開2019-52521号公報
【発明の概要】
【発明が解決しようとする課題】
【0006】
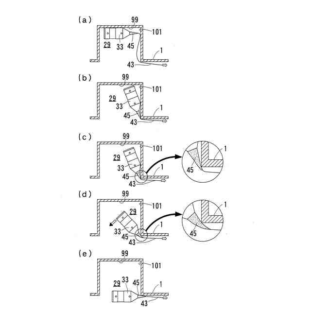
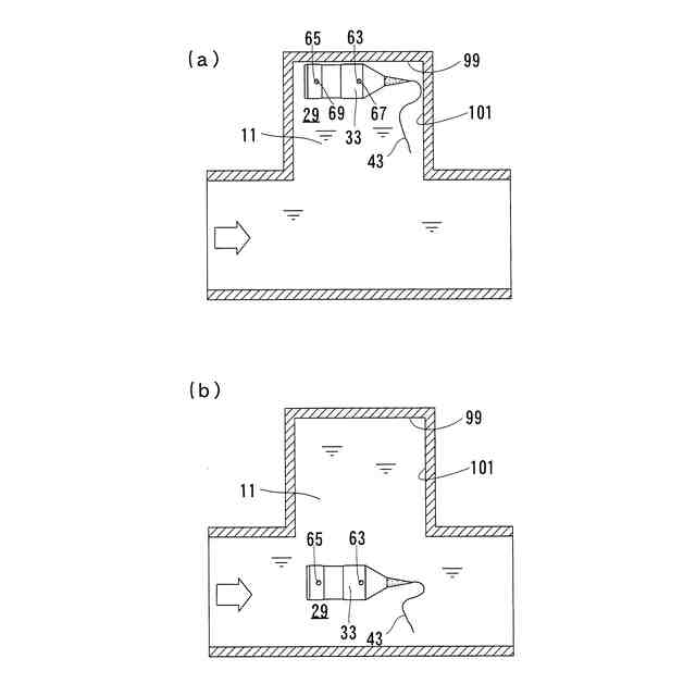
しかしながら、特許文献1での空気溜り発生個所の調査は、駆動機構を有しない調査機器を下水圧送管内の下水の流れに乗せて無人で下流側に移動させて行っているので、下水圧送管内に段差があると調査機器が段差に引っ掛かってしまい、下水の流れを受けるだけでは引っ掛かった状態のままで簡単に段差から脱出できなくなるおそれがある。また、調査機器が下水圧送管の溝内に入り込んでしまうと溝から容易に抜け出ることができなくなるおそれもある。さらに、調査機器は下水圧送管内の水に浮かぶように比重が1以下に構成される必要があるが、このような軽量の調査機器は下水圧送管の下り配管内では移動方向(移動すべき方向)とは逆に浮力を受けることとなるので、実質的には停止状態となったり、移動方向とは反対側に上昇してしまったりする場合もある。
【0007】
このように、段差に引っ掛かり又は溝内に入り込んで調査機器が最早移動できない状態となり下水圧送管内に残留すると、仕切弁及び空気弁等に悪影響を与えるし、下り配管で移動できなくなった時も同様であるのだが、下水圧送管路の閉塞にもつながるので大掛かりな調査機器の回収作業が必要となる。
【0008】
そこで本発明は、下水圧送管路などの内面腐食個所等を調査できる管路内調査装置であって、回収不能状態になることを避けるための構造を備えた管路内調査装置の提供を目的とする。
【課題を解決するための手段】
【0009】
この目的を達成するための本発明の管路内調査装置は、水が流れる管路内をこの水の流れに乗って下流に移動しながら管路内を調査する管路内調査装置であって、ケーシングと、このケーシング内に配置された、管路内面の腐食個所を検出するための又は管路内面の腐食個所を予想するためのセンサと、前記ケーシングに設けられた、注水口を有するタンク部と、前記注水口を閉塞する栓部材と、を備え、前記栓部材は、所定時間(例えば長い時間又は管路内調査装置を管路内に導入してから回収するまでの予想時間より長い時間)管路内の水に浸っていると溶解して前記注水口を開放するものである。ケーシングは例えばカプセル状、小型のカプセル状、小さな容器状又は小さな筒状に形成される。本発明の管路内調査装置は例えば駆動機構を有しない。タンク部はケーシングの一部とすることができる。また、ケーシングをタンク部として構成することもできる。あるいは、ケーシングと他の部材との組み合わせをタンク部として構成することもできる。タンク部に形成する注水口は一つ又は複数とすることができる。注水口が大きければ一つであってもタンク部の空気を排出しながら下水等の水をタンク部に流入させることが可能となる。
【0010】
栓部材はPVA(ポリビニルアルコール)製とすることが可能である。
(【0011】以降は省略されています)
この特許をJ-PlatPat(特許庁公式サイト)で参照する
関連特許
管清工業株式会社
管路内調査装置
3日前
管清工業株式会社
管路内調査装置
3日前
管清工業株式会社
地中管内の調査装置
6か月前
丸一株式会社
排水配管部材
19日前
一文機工株式会社
トイレ装置
24日前
個人
ドクター中まミズつクル
2か月前
TOTO株式会社
トイレ装置
2か月前
株式会社田中設備
蓋体
1か月前
TOTO株式会社
排水システム
2か月前
TOTO株式会社
排水システム
2か月前
株式会社KVK
水栓
1か月前
TOTO株式会社
便座装置
2か月前
タイガースポリマー株式会社
側溝
2か月前
ミサワホーム株式会社
外構
1か月前
TOTO株式会社
トイレ装置
2か月前
TOTO株式会社
トイレ装置
2か月前
TOTO株式会社
トイレ装置
2か月前
管清工業株式会社
管路内調査装置
3日前
管清工業株式会社
管路内調査装置
3日前
ホーコス株式会社
床置型グリース阻集器
2か月前
クリナップ株式会社
キッチン
2か月前
株式会社Deto
吐水器
1か月前
共立製薬株式会社
小便器用排水システム
18日前
株式会社LIXIL
便器装置
2か月前
株式会社LIXIL
便器装置
3か月前
飛島建設株式会社
仮設壁の構築方法
2か月前
株式会社ファイン工業
透水性蓋の製造方法
3日前
株式会社タカギ
水栓
2か月前
株式会社タカギ
水栓
2か月前
新明和工業株式会社
吸引車
2か月前
積水化学工業株式会社
継手
2か月前
TOTO株式会社
トイレシステム及びトイレ装置
2か月前
株式会社タカギ
吐水装置
2か月前
積水化学工業株式会社
配管構造
1か月前
廈門迪芬奇厨衛有限公司
適応切替式スマートトイレ
2か月前
株式会社LIXIL
洗浄水タンク装置
2か月前
続きを見る
他の特許を見る