TOP
|
特許
|
意匠
|
商標
特許ウォッチ
Twitter
他の特許を見る
10個以上の画像は省略されています。
公開番号
2025152262
公報種別
公開特許公報(A)
公開日
2025-10-09
出願番号
2024054082
出願日
2024-03-28
発明の名称
排水システム
出願人
TOTO株式会社
代理人
主分類
E03C
1/30 20060101AFI20251002BHJP(上水;下水)
要約
【課題】汚れの除去率を向上させる排水システムを提供する。
【解決手段】水を排水する排水システムであって、浴室に設けられた浴槽および洗い場床と、浴槽に設けられた浴槽排水口と、洗い場床に設けられた洗い場床排水口と、浴槽排水口と洗い場床排水口とに接続され、内部の流路に封水を形成する排水部と、浴槽から排水部への排水を検知する浴槽排水検知部と、排水部内の水に超音波を照射することで、排水部の内壁に付着した汚れを取り除く超音波発振器と、浴槽排水検知部と超音波発振器を制御する制御部と、を備え、制御部は、浴槽排水検知部で検知した情報を基に超音波発振器を駆動させる制御を実行可能である。
【選択図】図11
特許請求の範囲
【請求項1】
浴室に設けられた浴槽および洗い場床と、
前記浴槽に設けられた浴槽排水口と、
前記洗い場床に設けられた洗い場床排水口と、
前記浴槽排水口と前記洗い場床排水口とに接続され、内部の流路に封水を形成する排水部と、
前記浴槽から前記排水部への排水を検知する浴槽排水検知部と、
前記排水部内の水に超音波を照射することで、前記排水部の内壁に付着した汚れを取り除く超音波発振器と、
前記浴槽排水検知部と前記超音波発振器を制御する制御部と、
を備え、
前記制御部は、前記浴槽排水検知部で検知した情報を基に前記超音波発振器を駆動させる制御を実行可能であることを特徴とする排水システム。
続きを表示(約 520 文字)
【請求項2】
前記制御部は、前記浴槽排水検知部で排水を検知した際に前記超音波発振器を駆動させる制御を実行可能であることを特徴とする請求項1に記載の排水システム。
【請求項3】
前記制御部は、前記浴槽排水検知部で排水を検知してから所定時間経過後に前記超音波発振器を駆動させる制御を実行可能であることを特徴とする請求項1に記載の排水システム。
【請求項4】
前記浴槽に溜まった水の水位を検知可能な水位検知部をさらに備え、
前記制御部は、前記浴槽排水検知部で排水を検知した情報と、前記水位検知部によって前記浴槽に溜まった水の水位が所定値以下になった情報と、を基に前記超音波発振器を駆動させる制御を実行可能であることを特徴とする請求項1に記載の排水システム。
【請求項5】
前記超音波発振器は、前記洗い場床排水口の下方にある洗い場床排水部に設置されることを特徴とする請求項1~4のいずれか1項に記載の排水システム。
【請求項6】
前記浴槽からの排水は、少なくとも一部は前記洗い場床排水部に流入することを特徴とする請求項1~5のいずれか1項に記載の排水システム。
発明の詳細な説明
【技術分野】
【0001】
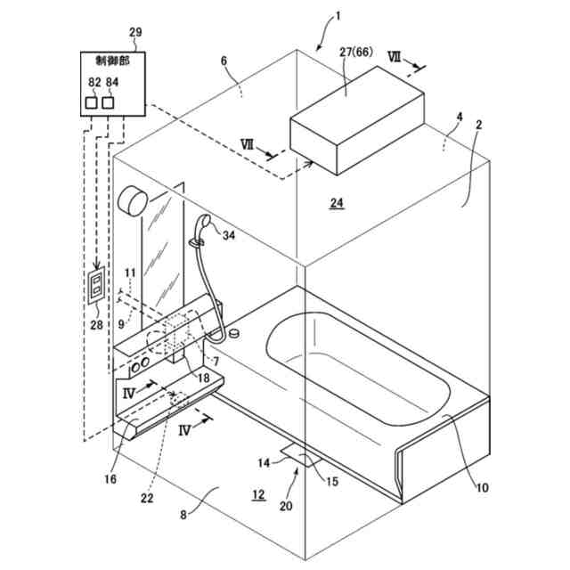
本発明は、排水システムに関し、特に水を排水する排水システムに関する。
続きを表示(約 1,700 文字)
【背景技術】
【0002】
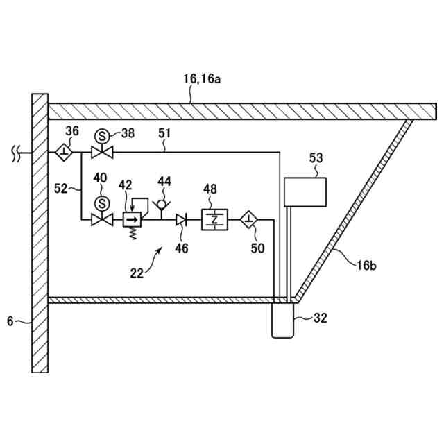
特許文献1に記載されているように、浴室の床に設けられる排水装置において超音波発振器が設けられ、本体部内の封水水位近傍の汚れを超音波洗浄により洗浄することが知られている。
【先行技術文献】
【特許文献】
【0003】
特開2020-176481号公報
【発明の概要】
【発明が解決しようとする課題】
【0004】
しかし、特許文献1の超音波発振器は、単に超音波を発振して排水装置内の汚れを除去しているだけに過ぎず、改良の余地があった。
【0005】
そこで、本発明は、従来技術の問題点を解決するためになされたものであり、さらに汚れの除去率を向上させる排水システムを提供することを目的としている。
【課題を解決するための手段】
【0006】
上記の問題点を解決するために、本発明は、水を排水する排水システムであって、浴室に設けられた浴槽および洗い場床と、前記浴槽に設けられた浴槽排水口と、前記洗い場床に設けられた洗い場床排水口と、前記浴槽排水口と前記洗い場床排水口とに接続され、内部の流路に封水を形成する排水部と、前記浴槽から前記排水部への排水を検知する浴槽排水検知部と、前記排水部内の水に超音波を照射することで、前記排水部の内壁に付着した汚れを取り除く超音波発振器と、前記浴槽排水検知部と前記超音波発振器を制御する制御部と、を備え、前記制御部は、前記浴槽排水検知部で検知した情報を基に超音波発振器を駆動させる制御を実行可能であることを特徴としている。
このように構成された本発明の一実施形態においては、浴槽排水による水流の勢いで排水部の内壁に付着した汚れが物理的にはがれやすくなっている状態で、超音波洗浄を駆動することで、汚れ除去しやすくなる。
【0007】
本発明において、好ましくは、前記制御部は、前記浴槽排水検知部で排水を検知した際に超音波発振器を駆動させる制御を実行可能である。
このように構成された本発明の一実施形態においては、浴槽排水の水流の勢いで排水部の内壁に付着した汚れが物理的にはがれやすくなっている状態で、超音波洗浄を駆動することで、汚れ除去しやすくなる。
【0008】
本発明において、好ましくは、前記制御部は、前記浴槽排水検知部で排水を検知してから所定時間経過後に超音波発振器を駆動させる制御を実行可能である。
このように構成された本発明の一実施形態においては、浴槽排水の水流の勢いで排水部の内壁に付着した汚れが物理的にはがれやすくなっている状態で、且つ、浴槽排水の水流によって洗い場床排水部の封水面が上下している状態で、超音波洗浄を駆動することで、洗い場床排水部の汚れ除去しやすくしつつ、喫水面に付着した汚れに対しても効果を発揮できる。
【0009】
本発明において、好ましくは、前記浴槽に溜まった水の水位を検知可能な水位検知部をさらに備え、前記制御部は、前記浴槽排水検知部で排水を検知した情報と、前記水位検知部によって前記浴槽に溜まった水の水位が所定値以下になった情報と、を基に超音波発振器を駆動させる制御を実行可能である。
このように構成された本発明の一実施形態においては、浴槽排水の水流の勢いで排水部の内壁に付着した汚れが物理的にはがれやすくなっている状態で、且つ、浴槽排水の水流によって洗い場床排水部の封水面が上下している状態で、超音波洗浄を駆動することで、洗い場床排水部の汚れ除去しやすくしつつ、喫水面に付着した汚れに対しても効果を発揮できる。
【0010】
本発明において、好ましくは、前記超音波発振器は、前記洗い場床排水口の下方にある洗い場床排水部に設置される。
このように構成された本発明の一実施形態においては、浴槽排水の水流の勢いで排水部の内壁に付着した汚れが物理的にはがれやすくなっている状態で、超音波洗浄を駆動することで、洗い場床排水部の汚れ除去しやすくなる。
(【0011】以降は省略されています)
この特許をJ-PlatPat(特許庁公式サイト)で参照する
関連特許
TOTO株式会社
洗面器
1か月前
TOTO株式会社
洗面器
1か月前
TOTO株式会社
構造部材
1か月前
TOTO株式会社
吐水装置
1か月前
TOTO株式会社
吐水装置
1か月前
TOTO株式会社
吐水装置
1か月前
TOTO株式会社
構造部材
1か月前
TOTO株式会社
構造部材
1か月前
TOTO株式会社
構造部材
1か月前
TOTO株式会社
水栓装置
8日前
TOTO株式会社
水洗大便器
1か月前
TOTO株式会社
トイレ装置
1か月前
TOTO株式会社
トイレ装置
1か月前
TOTO株式会社
水洗大便器
1か月前
TOTO株式会社
水洗大便器
1か月前
TOTO株式会社
水洗大便器
1か月前
TOTO株式会社
静電チャック
2か月前
TOTO株式会社
静電チャック
2か月前
TOTO株式会社
静電チャック
2か月前
TOTO株式会社
静電チャック
2か月前
TOTO株式会社
静電チャック
2か月前
TOTO株式会社
静電チャック
2か月前
TOTO株式会社
水まわり部材
1か月前
TOTO株式会社
浴室システム
2か月前
TOTO株式会社
静電チャック
2か月前
TOTO株式会社
水まわり部材
1か月前
TOTO株式会社
排水システム
1か月前
TOTO株式会社
静電チャック
1か月前
TOTO株式会社
静電チャック
1か月前
TOTO株式会社
浴室システム
2か月前
TOTO株式会社
静電チャック
2か月前
TOTO株式会社
排水システム
1か月前
TOTO株式会社
浴室システム
1か月前
TOTO株式会社
浴室システム
23日前
TOTO株式会社
浴室システム
23日前
TOTO株式会社
水洗大便器装置
1か月前
続きを見る
他の特許を見る