TOP
|
特許
|
意匠
|
商標
特許ウォッチ
Twitter
他の特許を見る
10個以上の画像は省略されています。
公開番号
2025139962
公報種別
公開特許公報(A)
公開日
2025-09-29
出願番号
2024039072
出願日
2024-03-13
発明の名称
静電チャック
出願人
TOTO株式会社
代理人
個人
,
個人
,
個人
,
個人
主分類
H01L
21/683 20060101AFI20250919BHJP(基本的電気素子)
要約
【課題】処理中における基板の面内温度分布のばらつきを抑制することのできる静電チャック、を提供する。
【解決手段】静電チャック10は、誘電体基板100と、誘電体基板100を加熱するヒーターユニット300と、を備える。ヒーターユニット300は、線状に引き回された導体であって外部から電力の供給を受けて発熱する発熱部351を有する。上面視において、発熱部351は、複数の領域HBのそれぞれにおいて個別に引き回されており、互いに隣り合う一対の領域HBの境界BD、に沿って伸びるように引き回されている第1部分P1と、第1部分P1から、境界BDとは反対側に向けて円弧状に突出するように引き回されている第2部分P2と、を含む。
【選択図】図8
特許請求の範囲
【請求項1】
被吸着物が載置される載置面を有する誘電体基板と、
前記誘電体基板を加熱するヒーターと、を備え、
前記ヒーターは、線状に引き回された導体であって外部から電力の供給を受けて発熱する発熱部を有し、
前記載置面に対し垂直な方向から見た場合において、
前記発熱部は、
複数の領域のそれぞれにおいて個別に引き回されており、
互いに隣り合う一対の前記領域の境界、に沿って伸びるように引き回されている第1部分と、
前記第1部分から、前記境界とは反対側に向けて円弧状に突出するように引き回されている第2部分と、を含むことを特徴とする静電チャック。
続きを表示(約 570 文字)
【請求項2】
前記載置面に対し垂直な方向から見た場合において、
前記ヒーターには、
前記第2部分の内側を貫くように貫通穴が形成されていることを特徴とする、請求項1に記載の静電チャック。
【請求項3】
前記発熱部は、
前記第1部分及び前記第2部分を有する第1発熱部と、
前記第1発熱部よりも前記載置面側となる位置に配置された第2発熱部と、を含み、
前記載置面に対し垂直な方向から見た場合において、
前記第2部分の内側を通る経路で前記第2発熱部への給電が行われることを特徴とする、請求項1に記載の静電チャック。
【請求項4】
前記誘電体基板を支持するベースプレートを更に備え、
前記載置面に対し垂直な方向から見た場合において、
前記ベースプレートのうち前記誘電体基板側の面には、前記第2部分の内側と重なる部分に開口が形成されていることを特徴とする、請求項1に記載の静電チャック。
【請求項5】
前記誘電体基板には吸着電極が設けられており、
前記載置面に対し垂直な方向から見た場合において、
前記第2部分の内側を通る経路で前記吸着電極への給電が行われることを特徴とする、請求項1に記載の静電チャック。
発明の詳細な説明
【技術分野】
【0001】
本発明は静電チャックに関する。
続きを表示(約 1,400 文字)
【背景技術】
【0002】
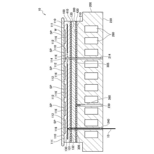
例えばエッチング装置等の半導体製造装置には、処理の対象となるシリコンウェハ等の基板を吸着し保持するための装置として、静電チャックが設けられる。静電チャックは、吸着電極が設けられた誘電体基板を有する。吸着電極に電圧が印加されると静電力が生じ、誘電体基板上に載置された基板が吸着され保持される。
【0003】
基板の処理中においては、基板の面内温度分布を可能な限り均等とすることが求められる。基板の面内温度分布を高い精度で調整可能とするために、近年ではヒーターを備えた静電チャックも開発され、既に実用化されている。ヒーターは、例えば下記特許文献1に記載されているように誘電体基板の内部に設けられることもあるが、ユニット化された状態で誘電体基板の外側に設けられることもある。いずれの構成においても、ヒーターは、線状に引き回された導体である発熱部を有する。
【先行技術文献】
【特許文献】
【0004】
特開2018-120910号公報
【発明の概要】
【発明が解決しようとする課題】
【0005】
外部からの電力が発熱部に供給されると、発熱部ではジュール熱が生じる。誘電体基板の各部を均等に加熱できるよう、発熱部は、上面視において各部の線幅や間隔が可能な限り均等となるような経路に沿って引き回される。
【0006】
しかしながら、一部においては、発熱部を引き回すことのできない部分や、発熱部を引き回すことが適切でない部分も存在し得る。例えば、例えば吸着電極等に繋がる電路、がヒーターを貫くように設けられている場合には、当該電路を包含する部分を避けるような経路に沿って、発熱部を引き回す必要がある。また、発熱部が、複数の領域のそれぞれにおいて個別に引き回される場合には、互いに隣り合う一対の領域の間の部分を通らないような経路に沿って、発熱部を引き回す必要がある。
【0007】
発熱部が引き回されない部分が増加しすぎると、誘電体基板の各部を十分に加熱することができなくなり、処理中における基板の面内温度分布のばらつきが大きくなってしまうことが懸念される。
【0008】
本発明はこのような課題に鑑みてなされたものであり、その目的は、処理中における基板の面内温度分布のばらつきを抑制することのできる静電チャック、を提供することにある。
【課題を解決するための手段】
【0009】
上記課題を解決するために、本発明に係る静電チャックは、被吸着物が載置される載置面を有する誘電体基板と、誘電体基板を加熱するヒーターと、を備える。ヒーターは、線状に引き回された導体であって外部から電力の供給を受けて発熱する発熱部を有する。載置面に対し垂直な方向から見た場合において、発熱部は、複数の領域のそれぞれにおいて個別に引き回されており、互いに隣り合う一対の領域の境界、に沿って伸びるように引き回されている第1部分と、第1部分から、境界とは反対側に向けて円弧状に突出するように引き回されている第2部分と、を含む。
【0010】
ヒーターのうち、上記第2部分の根元の部分は、発熱部が引き回されていないため非発熱部部分となる。また、上記領域の境界の部分も同様に、発熱部が引き回されていないため非発熱部部分となる。
(【0011】以降は省略されています)
この特許をJ-PlatPat(特許庁公式サイト)で参照する
関連特許
TOTO株式会社
浴室
2か月前
TOTO株式会社
浴室
2か月前
TOTO株式会社
洗面器
1か月前
TOTO株式会社
洗面器
1か月前
TOTO株式会社
水栓装置
2か月前
TOTO株式会社
吐水装置
1か月前
TOTO株式会社
吐水装置
1か月前
TOTO株式会社
吐水装置
1か月前
TOTO株式会社
便座装置
2か月前
TOTO株式会社
水栓装置
2か月前
TOTO株式会社
水栓装置
2か月前
TOTO株式会社
構造部材
1か月前
TOTO株式会社
水栓装置
2か月前
TOTO株式会社
水栓装置
2か月前
TOTO株式会社
水栓装置
2か月前
TOTO株式会社
便器装置
2か月前
TOTO株式会社
複合材料
2か月前
TOTO株式会社
水栓装置
2か月前
TOTO株式会社
水栓装置
2か月前
TOTO株式会社
水栓装置
2か月前
TOTO株式会社
構造部材
1か月前
TOTO株式会社
構造部材
1か月前
TOTO株式会社
構造部材
1か月前
TOTO株式会社
水洗大便器
2か月前
TOTO株式会社
トイレ装置
2か月前
TOTO株式会社
水洗大便器
2か月前
TOTO株式会社
トイレ装置
2か月前
TOTO株式会社
トイレ装置
2か月前
TOTO株式会社
トイレ装置
1か月前
TOTO株式会社
水洗大便器
2か月前
TOTO株式会社
水洗大便器
2か月前
TOTO株式会社
トイレ装置
1か月前
TOTO株式会社
水洗大便器
1か月前
TOTO株式会社
水洗大便器
1か月前
TOTO株式会社
水洗大便器
2か月前
TOTO株式会社
水洗大便器
1か月前
続きを見る
他の特許を見る