TOP
|
特許
|
意匠
|
商標
特許ウォッチ
Twitter
他の特許を見る
10個以上の画像は省略されています。
公開番号
2025139957
公報種別
公開特許公報(A)
公開日
2025-09-29
出願番号
2024039067
出願日
2024-03-13
発明の名称
静電チャック
出願人
TOTO株式会社
代理人
個人
,
個人
,
個人
,
個人
主分類
H01L
21/683 20060101AFI20250919BHJP(基本的電気素子)
要約
【課題】処理中における基板の面内温度分布のばらつきを抑制することのできる静電チャック、を提供する。
【解決手段】静電チャック10は、誘電体基板100と、線状に引き回された導体であって、外部から電力の供給を受けて発熱し誘電体基板100を加熱する発熱部300と、誘電体基板100に接合されており、冷媒の通る冷媒流路250が内部に形成されているベースプレート200と、を備える。上面視において、冷媒流路250は、円弧状の経路に沿って伸びている部分である円弧部250Aを有し、発熱部300は、少なくとも一部が円弧部250Aと重なっている部分であって、円弧部250Aに対して相対的に蛇行している部分である蛇行部300A、を有する。
【選択図】図5
特許請求の範囲
【請求項1】
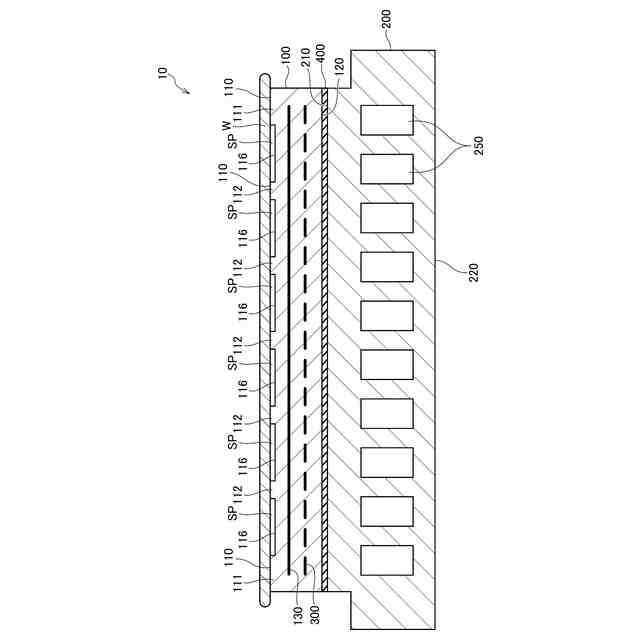
被吸着物が載置される載置面を有する誘電体基板と、
線状に引き回された導体であって、外部から電力の供給を受けて発熱し前記誘電体基板を加熱する発熱部と、
前記誘電体基板に接合されており、冷媒の通る冷媒流路が内部に形成されているベースプレートと、を備え、
前記載置面に対し垂直な方向から見た場合において、
前記冷媒流路は、円弧状の経路に沿って伸びている部分である円弧部を有し、
前記発熱部は、少なくとも一部が前記円弧部と重なっている部分であって、前記円弧部に対して相対的に蛇行している部分である蛇行部、を有することを特徴とする静電チャック。
続きを表示(約 100 文字)
【請求項2】
前記載置面に対し垂直な方向から見た場合において、
前記円弧部の曲率中心は、前記ベースプレートの中心と一致していることを特徴とする、請求項1に記載の静電チャック。
発明の詳細な説明
【技術分野】
【0001】
本発明は静電チャックに関する。
続きを表示(約 1,600 文字)
【背景技術】
【0002】
例えばエッチング装置等の半導体製造装置には、処理の対象となるシリコンウェハ等の基板を吸着し保持するための装置として、静電チャックが設けられる。静電チャックは、吸着電極が設けられた誘電体基板と、誘電体基板を支持するベースプレートと、を備え、これらが互いに接合された構成を有する。吸着電極に電圧が印加されると静電力が生じ、誘電体基板上に載置された基板が吸着され保持される。
【0003】
基板の処理中においては、基板の温度を適切な温度に維持する必要がある。このため、下記特許文献1に記載されているように、ベースプレートの内部には、冷媒を通すための冷媒流路が形成される。基板からの熱は、誘電体基板及びベースプレートを介して冷媒へと伝えられ、冷媒と共に外部へと排出される。
【0004】
また、基板の処理中においては、基板の面内温度分布を可能な限り均一とすることも求められる。基板の面内温度分布を高い精度で調整可能とするために、近年ではヒーターを備えた静電チャックも開発され、既に実用化されている。ヒーターは、例えば下記特許文献1に記載されているように誘電体基板の内部に設けられることもあるが、ユニット化された状態で誘電体基板の外側に設けられることもある。いずれの構成においても、ヒーターは、線状に引き回された導体である発熱部を有する。
【先行技術文献】
【特許文献】
【0005】
特開2018-120910号公報
【発明の概要】
【発明が解決しようとする課題】
【0006】
上記のように、静電チャックには、冷媒流路と発熱部との両方が設けられる。このような静電チャックの設計時においては、処理中における基板の面内温度分布が均一となるように、冷媒流路及び発熱部のそれぞれの引き回しが詳細に検討される。
【0007】
しかしながら、静電チャックの製造時においては、冷媒流路及び発熱部のそれぞれの位置が設計通りとはならず、設計された位置からずれてしまうこともある。冷媒流路と発熱部との間の相対的な位置関係がずれてしまうと、処理中における基板の面内温度分布のばらつきが大きくなってしまう可能性がある。
【0008】
本発明はこのような課題に鑑みてなされたものであり、その目的は、処理中における基板の面内温度分布のばらつきを抑制することのできる静電チャック、を提供することにある。
【課題を解決するための手段】
【0009】
上記課題を解決するために、本発明に係る静電チャックは、被吸着物が載置される載置面を有する誘電体基板と、線状に引き回された導体であって、外部から電力の供給を受けて発熱し誘電体基板を加熱する発熱部と、誘電体基板に接合されており、冷媒の通る冷媒流路が内部に形成されているベースプレートと、を備える。載置面に対し垂直な方向から見た場合において、冷媒流路は、円弧状の経路に沿って伸びている部分である円弧部を有し、発熱部は、少なくとも一部が円弧部と重なっている部分であって、円弧部に対して相対的に蛇行している部分である蛇行部、を有する。
【0010】
このような構成の静電チャックでは、冷媒流路の円弧部の直上に、発熱部の蛇行部が配置されている。このため、発熱部に蛇行部が形成されていない従来の構成に比べると、冷媒流路と発熱部との位置関係にずれが生じた際においても、冷媒流路と発熱部とが上面視において互いに重なっている状態が維持されやすい。位置ずれに伴う局所的な温度上昇が生じにくくなるので、処理中における基板の面内温度分布のばらつきを抑制することができる。
【発明の効果】
(【0011】以降は省略されています)
この特許をJ-PlatPat(特許庁公式サイト)で参照する
関連特許
TOTO株式会社
構造部材
1か月前
TOTO株式会社
吐水装置
1か月前
TOTO株式会社
構造部材
1か月前
TOTO株式会社
吐水装置
1か月前
TOTO株式会社
吐水装置
1か月前
TOTO株式会社
水栓装置
6日前
TOTO株式会社
構造部材
1か月前
TOTO株式会社
構造部材
1か月前
TOTO株式会社
水洗大便器
1か月前
TOTO株式会社
水洗大便器
1か月前
TOTO株式会社
水洗大便器
1か月前
TOTO株式会社
水洗大便器
1か月前
TOTO株式会社
水まわり部材
1か月前
TOTO株式会社
浴室システム
21日前
TOTO株式会社
浴室システム
28日前
TOTO株式会社
排水システム
1か月前
TOTO株式会社
排水システム
1か月前
TOTO株式会社
水まわり部材
1か月前
TOTO株式会社
浴室システム
21日前
TOTO株式会社
トイレシステム
1か月前
TOTO株式会社
水洗大便器装置
1か月前
TOTO株式会社
水洗大便器装置
1か月前
TOTO株式会社
水洗大便器装置
1か月前
TOTO株式会社
水洗大便器装置
1か月前
TOTO株式会社
水洗大便器装置
1か月前
TOTO株式会社
ミスト発生装置
1か月前
TOTO株式会社
健康管理システム
1か月前
TOTO株式会社
衛生評価システム
1か月前
TOTO株式会社
姿勢評価システム
1か月前
TOTO株式会社
健康管理システム
1か月前
TOTO株式会社
トイレ管理システム
7日前
TOTO株式会社
トイレ備品管理システム
6日前
TOTO株式会社
支援装置及び支援プログラム
1か月前
TOTO株式会社
トイレシステム及びトイレ装置
1か月前
TOTO株式会社
マット調の表面を備えた衛生陶器
6日前
TOTO株式会社
ヘアキャッチャーおよび排水ユニット
12日前
続きを見る
他の特許を見る