TOP
|
特許
|
意匠
|
商標
特許ウォッチ
Twitter
他の特許を見る
10個以上の画像は省略されています。
公開番号
2025169560
公報種別
公開特許公報(A)
公開日
2025-11-14
出願番号
2024074358
出願日
2024-05-01
発明の名称
ヘアキャッチャーおよび排水ユニット
出願人
TOTO株式会社
代理人
弁理士法人iX
主分類
E03C
1/264 20060101AFI20251107BHJP(上水;下水)
要約
【課題】毛髪などを捕集する捕集性能と、排水性能とを両立させたヘアキャッチャーを提供する。
【解決手段】洗面ボウルの排水部に配置される排水栓の栓軸に対して着脱可能に取り付けられるヘアキャッチャーであって、前記栓軸を挿通可能な筒部と、前記筒部から径方向外側に向けて延び、周方向に離間して設けられた複数の捕集部と、前記捕集部の径方向外側に位置して周方向に延びる保水部と、を備えたことを特徴とするヘアキャッチャー。
【選択図】図3
特許請求の範囲
【請求項1】
洗面ボウルの排水部に配置される排水栓の栓軸に対して着脱可能に取り付けられるヘアキャッチャーであって、
前記栓軸を挿通可能な筒部と、
前記筒部から径方向外側に向けて延び、周方向に離間して設けられた複数の捕集部と、
前記捕集部の径方向外側に位置して周方向に延びる保水部と、
を備えたことを特徴とするヘアキャッチャー。
続きを表示(約 790 文字)
【請求項2】
前記保水部は、
前記捕集部に接続する第1壁部と、
前記第1壁部から径方向外側に向けて延びる底面部と、
前記第1壁部よりも径方向外側に位置して前記底面部から上方に向けて延びる第2壁部と、
を有し、
前記第2壁部の高さ寸法は、前記第1壁部の高さ寸法よりも大きくなっていることを特徴とする請求項1に記載のヘアキャッチャー。
【請求項3】
前記保水部は、
前記捕集部に接続する壁部と、
前記壁部から径方向外側に向けて延びる底面部と、
を有することを特徴とする請求項1に記載のヘアキャッチャー。
【請求項4】
前記捕集部は、
前記筒部に接続する第1接続部と、
前記保水部に接続する第2接続部と、
を有し、
前記第1接続部の上端は、前記第2接続部の上端以上の高さに位置していることを特徴とする請求項1に記載のヘアキャッチャー。
【請求項5】
前記捕集部の上面は、前記第2接続部の上端から前記第1接続部の上端に向けて上向きに傾斜していることを特徴とする請求項4に記載のヘアキャッチャー。
【請求項6】
前記筒部は、前記保水部よりも下方に延びていることを特徴とする請求項1~5のいずれか1項に記載のヘアキャッチャー。
【請求項7】
排水部を有する洗面ボウルと、
前記排水部の内部に配置されるヘアキャッチャーと、
を備え、
前記ヘアキャッチャーは、
筒部と、
前記筒部から径方向外側に向けて延び、周方向に離間して設けられた複数の捕集部と、
前記捕集部の径方向外側に位置して周方向に延びる保水部と、
を有することを特徴とする排水ユニット。
発明の詳細な説明
【技術分野】
【0001】
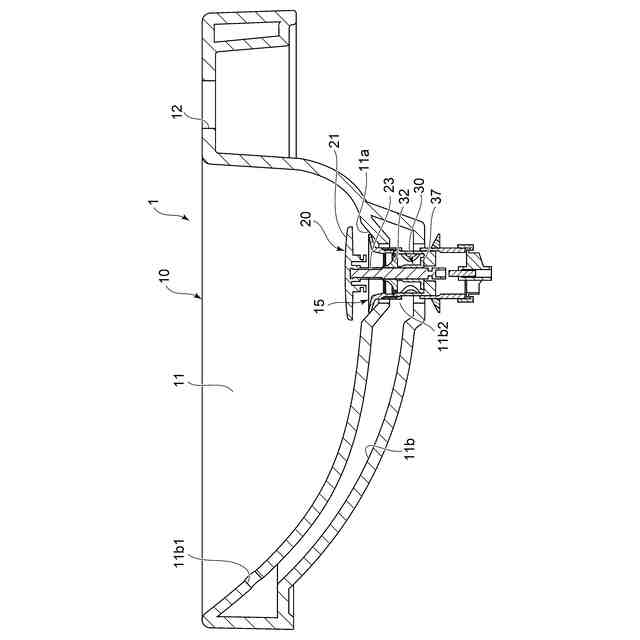
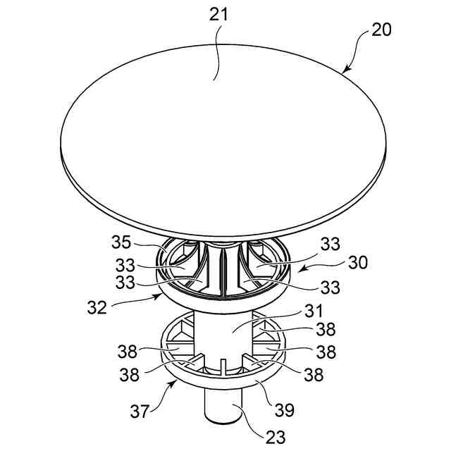
本発明の態様は、一般的に、ヘアキャッチャーおよび排水ユニットに関する。
続きを表示(約 1,200 文字)
【背景技術】
【0002】
洗面ボウルの排水部に流入した毛髪を捕集するヘアキャッチャーが知られている(特許文献1)。
【先行技術文献】
【特許文献】
【0003】
特開2023-048818号公報
【発明の概要】
【発明が解決しようとする課題】
【0004】
ヘアキャッチャーは、毛髪などの捕集性能と、排水性能と、をバランスよくすることが必要である。特に、排水部の口径が小さい場合には、排水性能が悪いと洗面ボウルに水が溜まってしまい、使用者に不快感を与えるおそれがある。
【0005】
本発明は、かかる課題の認識に基づいてなされたものであり、毛髪などを捕集する捕集性能と、排水性能とを両立させたヘアキャッチャーおよび排水ユニットを提供することを目的とする。
【課題を解決するための手段】
【0006】
第1の発明は、洗面ボウルの排水部に配置される排水栓の栓軸に対して着脱可能に取り付けられるヘアキャッチャーであって、前記栓軸を挿通可能な筒部と、前記筒部から径方向外側に向けて延び、周方向に離間して設けられた複数の捕集部と、前記捕集部の径方向外側に位置して周方向に延びる保水部と、を備えたことを特徴とするヘアキャッチャーである。
【0007】
このヘアキャッチャーによれば、洗面ボウルの排水部から下流に向かって流入した湯水は、排水部および排水部に設けられた排水金具の内面を伝ってヘアキャッチャーの保水部に流入する。保水部に流入した湯水は、保水部から中心に向かう方向に流れが変化することになる。このとき、捕集部の周囲では、乱流の水溜まりが発生する。そのため、捕集部に効率よく毛髪を絡めることができるとともに、湯水が流れる空間を大きく確保することができる。従って、ヘアキャッチャーは、例えば小口径の排水部および排水金具であっても、毛髪の捕集を効率よくできつつ、排水性能も維持することができる。
【0008】
第2の発明は、第1の発明において、前記保水部は、前記捕集部に接続する第1壁部と、前記第1壁部から径方向外側に向けて延びる底面部と、前記第1壁部よりも径方向外側に位置して前記底面部から上方に向けて延びる第2壁部と、を有し、前記第2壁部の高さ寸法は、前記第1壁部の高さ寸法よりも大きくなっていることを特徴とするヘアキャッチャーである。
【0009】
このヘアキャッチャーによれば、ヘアキャッチャーを排水部から引き抜いた場合に、捕集部で捕集した毛髪が第2壁部の外周部から外側に垂れることを抑制できる。
【0010】
第3の発明は、第1の発明において、前記保水部は、前記捕集部に接続する壁部と、前記壁部から径方向外側に向けて延びる底面部と、を有することを特徴とするヘアキャッチャーである。
(【0011】以降は省略されています)
この特許をJ-PlatPat(特許庁公式サイト)で参照する
関連特許
TOTO株式会社
構造部材
2か月前
TOTO株式会社
水栓装置
今日
TOTO株式会社
構造部材
1か月前
TOTO株式会社
構造部材
1か月前
TOTO株式会社
水栓装置
21日前
TOTO株式会社
吐水装置
2か月前
TOTO株式会社
吐水装置
2か月前
TOTO株式会社
吐水装置
2か月前
TOTO株式会社
構造部材
2か月前
TOTO株式会社
トイレ装置
2か月前
TOTO株式会社
水洗大便器
2か月前
TOTO株式会社
水洗大便器
2か月前
TOTO株式会社
水洗大便器
2か月前
TOTO株式会社
水洗大便器
2か月前
TOTO株式会社
排水システム
2か月前
TOTO株式会社
排水システム
2か月前
TOTO株式会社
水まわり部材
2か月前
TOTO株式会社
水まわり部材
2か月前
TOTO株式会社
静電チャック
6日前
TOTO株式会社
静電チャック
6日前
TOTO株式会社
浴室システム
1か月前
TOTO株式会社
浴室システム
1か月前
TOTO株式会社
浴室システム
1か月前
TOTO株式会社
静電チャック
7日前
TOTO株式会社
静電チャック
7日前
TOTO株式会社
水洗大便器装置
2か月前
TOTO株式会社
水洗大便器装置
2か月前
TOTO株式会社
トイレシステム
2か月前
TOTO株式会社
水洗大便器装置
2か月前
TOTO株式会社
水洗大便器装置
2か月前
TOTO株式会社
ミスト発生装置
2か月前
TOTO株式会社
水洗大便器装置
2か月前
TOTO株式会社
トイレシステム
今日
TOTO株式会社
トイレシステム
2日前
TOTO株式会社
健康管理システム
1か月前
TOTO株式会社
衛生評価システム
2か月前
続きを見る
他の特許を見る