TOP
|
特許
|
意匠
|
商標
特許ウォッチ
Twitter
他の特許を見る
10個以上の画像は省略されています。
公開番号
2025181655
公報種別
公開特許公報(A)
公開日
2025-12-11
出願番号
2025040798
出願日
2025-03-14
発明の名称
トイレシステム
出願人
TOTO株式会社
代理人
弁理士法人酒井国際特許事務所
主分類
G01N
33/497 20060101AFI20251204BHJP(測定;試験)
要約
【課題】人の健康に関する情報を適切に推定すること。
【解決手段】実施形態に係るトイレシステムは、トイレ装置に設けられ、無臭ガスを検知する第一検知センサと、前記トイレ装置に設けられ、悪臭ガスを検知する第二検知センサと、前記第一検知センサ及び前記第二検知センサの検知結果に基づいて、前記トイレ装置を利用する利用者の腸内細菌、腸内細菌の代謝物、及びpHに関する腸内環境情報を推定する推定手段と、を有する。
【選択図】図3
特許請求の範囲
【請求項1】
トイレ装置に設けられ、無臭ガスを検知する第一検知センサと、
前記トイレ装置に設けられ、悪臭ガスを検知する第二検知センサと、
前記第一検知センサ及び前記第二検知センサの検知結果に基づいて、前記トイレ装置を利用する利用者の腸内細菌、腸内細菌の代謝物、及びpHに関する腸内環境情報を推定する推定手段と、
を有することを特徴とするトイレシステム。
続きを表示(約 2,800 文字)
【請求項2】
前記推定手段は、前記第一検知センサ及び前記第二検知センサの検知結果によって得られる排泄ガスの成分比率に基づいて、前記トイレ装置を利用する利用者の前記腸内環境情報を推定する
ことを特徴とする請求項1に記載のトイレシステム。
【請求項3】
便性状を検知する第三検知センサ、
をさらに有し、
前記第一検知センサと前記第二検知センサと前記第三検知センサの検知結果に基づいて、前記トイレ装置を利用する利用者の前記腸内環境情報を推定する
ことを特徴とする請求項1に記載のトイレシステム。
【請求項4】
大便を検知する第一検知部と、
前記第一検知センサ及び前記第二検知センサのうち少なくとも1つを有する第二検知部と、
前記第一検知部の検知結果及び前記第二検知部の検知結果に基づいて、前記利用者の健康に関する提供情報またはスコアの少なくとも1つを推定する推定処理を実行し、前記推定処理の結果を外部に出力させる制御を実行する制御装置と、
を有することを特徴とする請求項3に記載のトイレシステム。
【請求項5】
気体に含まれる水素ガスに反応する第一のガスセンサである前記第一検知センサおよび硫黄成分を含む臭気性ガスと水素ガスに反応する第二のガスセンサである前記第二検知センサを備えたガス検出装置と、
前記ガス検出装置を制御する制御装置と、
を有し、
前記制御装置は、
気体に含まれる水素ガスに対応する複数の算出値に基づいて、前記第二のガスセンサの水素ガスに対応する第二の算出値を算出し、前記第二のガスセンサの検出結果および前記第二の算出値に基づいて、前記臭気性ガスに対応する第三の算出値を算出し、
前記トイレシステムが前記第三の算出値に基づいて前記利用者の健康状態または前記健康状態に関する情報を推定するものであって、
前記複数の算出値は、前記第一のガスセンサの検出結果に基づいて得られた水素ガスに対応する第一の算出値を含む
ことを特徴とする請求項1に記載のトイレシステム。
【請求項6】
気体に含まれる水素ガスに反応する第一のガスセンサである前記第一検知センサおよび硫黄成分を含む臭気性ガスと水素ガスに反応する第二のガスセンサである前記第二検知センサを備えたガス検出装置と、
前記ガス検出装置を制御する制御装置と、
を有し、
前記制御装置は、
前記第一のガスセンサの検出結果に基づいて水素ガスに対応する第一の算出値を算出し、前記第一の算出値に基づいて前記第二のガスセンサの水素ガスに対応する第二の算出値を算出し、前記第二のガスセンサの検出結果および前記第二の算出値に基づいて臭気性ガスに対応する第三の算出値を算出し、
前記トイレシステムが前記第三の算出値に基づいて前記利用者の健康状態または前記健康状態に関する情報を推定するものであって、
前記制御装置は、前記第二のガスセンサの検出結果に基づき算出される臭気性ガス及び水素ガスに対応する第零の算出値、または、前記第二の算出値、または、前記第三の算出値のうち少なくとも一つを対象として補正を行う
ことを特徴とする請求項1に記載のトイレシステム。
【請求項7】
気体に含まれる水素ガスに反応する第一のガスセンサである前記第一検知センサおよび硫黄成分を含む臭気性ガスと水素ガスに反応する第二のガスセンサである前記第二検知センサを備えたガス検出装置と、
前記ガス検出装置を制御する制御装置と、
前記制御装置による処理結果に関する情報を出力する出力手段と、
を有し、
前記制御装置は、
前記第一のガスセンサの検出結果に基づいて水素ガスに対応する第一の算出値を算出し、前記第一の算出値に基づいて前記第二のガスセンサの水素ガスに対応する第二の算出値を算出し、前記第二のガスセンサの検出結果および前記第二の算出値に基づいて臭気性ガスに対応する第三の算出値を算出し、
前記トイレシステムが前記第三の算出値に基づいて前記利用者の健康状態または前記健康状態に関する情報を推定するものであって、
前記制御装置は、
前記第一の算出値、前記第二の算出値、前記第三の算出値の少なくとも1つが所定の条件を満たす場合、前記出力手段により出力される前記利用者の健康状態または前記健康状態に関する情報である第一情報を前記第三の算出値に基づかずに変更する制御を行う
ことを特徴とする請求項1に記載のトイレシステム。
【請求項8】
気体に含まれるガスに反応するガスセンサである前記第一検知センサ及び前記第二検知センサのうち少なくとも1つを備えたガス検出装置と、
前記ガス検出装置を制御する制御装置と、
を有し、
前記ガスセンサは、センサ素子と、測定用の抵抗素子とが配置されたものであり、
前記制御装置は、
前記利用者の大便器の使用時以外の間に前記ガスセンサによる測定値があらかじめ決められた範囲内の値となるように前記ガス検出装置を制御し、基準値として用いられる前記測定値を所定の値に制御する基準値制御を実行し、
前記ガス検出装置は、
前記基準値制御により制御された前記基準値を用いて排便ガス測定に関する処理を実行する
ことを特徴とする請求項1に記載のトイレシステム。
【請求項9】
大便器のボウル内の気体を吸引する吸引装置と、
前記吸引装置によって、吸引された気体を通過させるガス流路と、
前記ガス流路を通過する気体に含まれるガスに反応するガスセンサである前記第一検知センサ及び前記第二検知センサのうち少なくとも1つを備えたガス検出装置と、
前記吸引装置及び前記ガス検出装置を制御する制御装置と、
前記ガス流路を通過する気体の進行方向に対して前記ガスセンサの配置箇所より下流側の方が、気体が通過する際に生じる圧力損失が高くなるようにする圧力損失発生部と、
を有することを特徴とする請求項1に記載のトイレシステム。
【請求項10】
大便器のボウル内の気体を吸引し通過させるガス流路と、
前記ガス流路を通過する気体に含まれるガスに反応するセンサ感応部と、
を有し、
前記ガス流路は、主流路と、前記主流路内に設けられ、前記主流路から流入した気体が前記主流路よりも遅い流速で通過する副流路とを含み、
前記センサ感応部は、前記副流路内に配置される
ことを特徴とする請求項1に記載のトイレシステム。
(【請求項11】以降は省略されています)
発明の詳細な説明
【技術分野】
【0001】
開示の実施形態は、トイレシステムに関する。
続きを表示(約 2,100 文字)
【背景技術】
【0002】
従来、トイレ等の水まわり空間においてセンサの検知等によりデータを収集する技術が提供されている。例えば、トイレの使用者(以下「利用者」ともいう)が大便を排泄する際に排出される排便ガス(おなら等)を検知可能なガスセンサを備えた便座装置が提供されている(例えば、特許文献1、2参照)。
【先行技術文献】
【特許文献】
【0003】
特開2005-315836号公報
特開2016-145806号公報
【発明の概要】
【発明が解決しようとする課題】
【0004】
しかしながら、上述の従来技術は、改善の余地がある。例えば、特許文献1では、水素ガスに反応するセンサから得られたデータを用いて処理を行い、特許文献2では、硫黄成分を含む臭気性ガスに反応するセンサから得られたデータを用いて処理を行っているが、複合的な観点での推定を行うことが難しく、人の健康に関する情報を適切に推定することができない場合がある。そのため、例えば異なる成分を検知する複数のセンサの検知結果に応じて、人の健康に関する情報を適切に推定することが望まれている。
【0005】
開示の実施形態は、人の健康に関する情報を適切に推定することができるトイレシステムを提供することを目的とする。
【課題を解決するための手段】
【0006】
実施形態の一態様に係るトイレシステムは、トイレ装置に設けられ、無臭ガスを検知する第一検知センサと、前記トイレ装置に設けられ、悪臭ガスを検知する第二検知センサと、前記第一検知センサ及び前記第二検知センサの検知結果に基づいて、前記トイレ装置を利用する利用者の腸内細菌、腸内細菌の代謝物、及びpHに関する腸内環境情報を推定する推定手段と、を有することを特徴とする。
【0007】
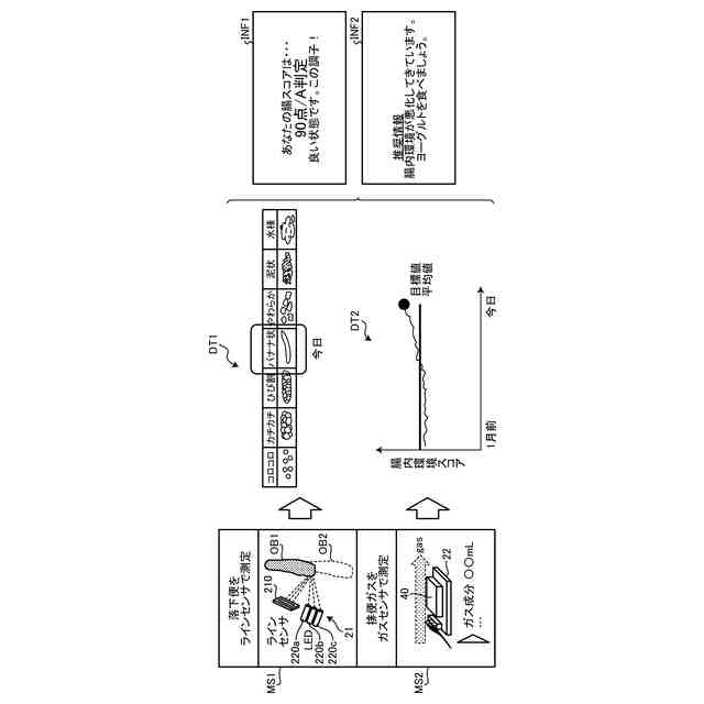
実施形態の一態様に係るトイレシステムによれば、無臭ガスを検知する第一検知センサと、悪臭ガスを検知する第二検知センサとの2つのセンサの検知結果に基づいて、トイレ装置を利用する利用者の腸内細菌、腸内細菌の代謝物、及びpHに関する腸内環境情報を推定する。これにより、トイレシステムは、本発明によれば、腸内細菌、腸内細菌の代謝物、又はpH(Potential Hydrogen)を推定することによって、利用者の腸内環境をより正確に推定することができる。したがって、トイレシステムは、人の健康に関する情報を適切に推定することができる。なお、本願で言う腸内環境情報には、腸内細菌、腸内細菌の代謝物、及びpH等の情報そのものに限らず、腸内細菌、腸内細菌の代謝物、及びpH等の情報に基づく様々な情報であってもよい。例えば、腸内環境情報には、後述する腸内環境スコア、腸内環境ランク、腸内環境偏差値等の腸内環境指標、腸内環境グラフ等の様々な情報であってもよい。
【0008】
発明者らの研究により、排便時に出るオナラ(排便ガス)に含まれる、水素、メタン、二酸化炭素から構成される無臭ガスと、硫化水素、メチルメルカプタンから構成される悪臭ガスの比率の経時変動が、腸内環境の経時変動を間接的に捉えていることが分かってきた。腸内環境は、食事の種類や運動量等の変化に応じて変わることが知られており、腸内環境の状態を正しく推定することによって、トイレの利用者の生活改善を促すことが出来る。そのため、より正確に排便ガスの成分を計測することが重要であり、発明者らは様々なハードウェアの工夫により、それらを進化させてきた。なお、腸内環境とは、腸内に生息する腸内細菌によって作られる環境のことを差し、腸内細菌は通称、善玉菌、悪玉菌、日和見菌等の区別で知られている。近年の研究では、善玉菌の産生する短鎖脂肪酸が心身に良い影響を及ぼすことが解明されてきており、短鎖脂肪酸が豊富な環境では腸内のpHが酸性に傾くことも知られている。従って、腸内環境を正しく推定するためには、腸内細菌、腸内細菌の代謝物、腸内におけるpHが重要である。しかしながら、従来の排泄ガスの測定技術ではそれらを推定することは難しかった。
【0009】
そこで、実施形態の一態様に係るトイレシステムでは、無臭ガスを検知する第一検知センサと、悪臭ガスを検知する第二検知センサとの2つのセンサの検知結果、すなわち成分の異なるガスの情報に基づいて、トイレ装置を利用する利用者の腸内細菌、腸内細菌の代謝物、及びpHに関する腸内環境情報を推定する。これにより、トイレシステムは、精度良く腸内細菌、腸内細菌の代謝物、又はpHを推定することができるため、人の健康に関する情報を適切に推定することができる。
【0010】
実施形態の一態様に係るトイレシステムにおいて、前記推定手段は、前記第一検知センサ及び前記第二検知センサの検知結果によって得られる排泄ガスの成分比率に基づいて、前記トイレ装置を利用する利用者の前記腸内環境情報を推定する。
(【0011】以降は省略されています)
この特許をJ-PlatPat(特許庁公式サイト)で参照する
関連特許
他の特許を見る