TOP
|
特許
|
意匠
|
商標
特許ウォッチ
Twitter
他の特許を見る
10個以上の画像は省略されています。
公開番号
2025154264
公報種別
公開特許公報(A)
公開日
2025-10-10
出願番号
2024057169
出願日
2024-03-29
発明の名称
水洗大便器
出願人
TOTO株式会社
代理人
個人
,
個人
,
個人
,
個人
,
個人
,
個人
,
個人
主分類
E03D
11/02 20060101AFI20251002BHJP(上水;下水)
要約
【課題】本発明は、空気が洗浄水と一緒にジェット吐水口から排出されるのを抑制して、洗浄水をジェット吐水口から勢いよく吐水し、それにより、汚物を十分に排出することができる水洗大便器を提供することを目的としている。
【解決手段】本発明は、サイホンジェット式の水洗大便器であって、ボウル部6、排水トラップ管路8、ジェット吐水口14、ジェット導水路16及び洗浄水タンク4を備え、ジェット導水路16は、洗浄水タンク4から前方へ延びる主導水路26と、この主導水路26から屈曲して前方に延びる第1屈曲流路28又は第2屈曲流路30と、この第1屈曲流路28又は第2屈曲流路30から後方へ延びてジェット吐水口14と接続する出口流路32と、を有し、第1屈曲流路28又は第2屈曲流路30が、排水トラップ管路8の頂部8dよりも下方に配置されて、便器洗浄開始前の待機状態において満水になるように構成されている。
【選択図】図2
特許請求の範囲
【請求項1】
サイホンジェット式の水洗大便器であって、
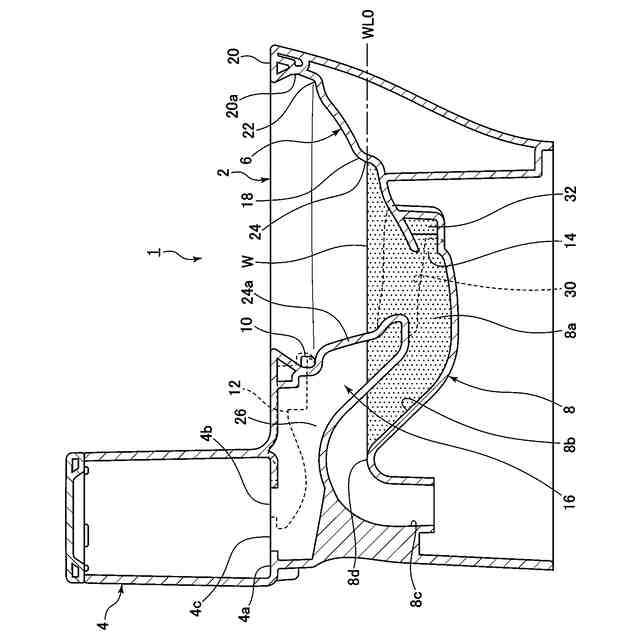
ボウル形状の汚物受け面と、この汚物受け面の上方に形成されたリム部と、上記汚物受け面の下方に形成されその内部に封水が形成されるツボ部と、を備えたボウル部と、
上記ボウル部の下方に設けられ、上方へ延びる上昇管路と、この上昇管路から下方へ延びる下降管路と、この下降管路と上記上昇管路との間に位置して封水水位を規定する頂部と、を備えた排水トラップ管路と、
上記リム部に設けられ上記ボウル部に向けて洗浄水を吐水するリム吐水口と、
上記ボウル部の下方に設けられ上記排水トラップ管路の入口に向けて洗浄水を吐水するジェット吐水口と、
上記リム吐水口に洗浄水を導くリム導水路と、
上記ジェット吐水口に洗浄水を導くジェット導水路と、
上記排水トラップ管路の頂部よりも上方に設けられ、上記ジェット導水路に洗浄水を供給する給水源と、
を有し、
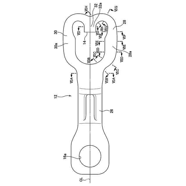
上記ジェット導水路は、上記給水源から前方へ延びる主導水路と、この主導水路から屈曲して前方に延びる屈曲流路と、この屈曲流路から後方へ延びて上記ジェット吐水口と接続する出口流路と、を有し、
上記屈曲流路は、上記排水トラップ管路の頂部よりも下方に配置されて、便器洗浄開始前の待機状態において満水になるように構成されていることを特徴とする水洗大便器。
続きを表示(約 650 文字)
【請求項2】
上記ジェット導水路の屈曲流路は、平面視において、封水が形成されている領域内に配置されている、請求項1に記載の水洗大便器。
【請求項3】
上記主導水路の上面が水平方向に対して下方へ傾斜する傾斜角度は、上記主導水路の底面が水平方向に対して下方へ傾斜する傾斜角度よりも大きくなるように設定されている、請求項2に記載の水洗大便器。
【請求項4】
便器洗浄中に上記封水水位が低下し、上記ジェット吐水口から空気が流入するように構成されている、請求項1乃至3の何れか1項に記載の水洗大便器。
【請求項5】
上記ジェット導水路の屈曲流路の上面は、上流側から下流側に向けて下方へ傾斜している、請求項1に記載の水洗大便器。
【請求項6】
上記ジェット導水路の屈曲流路の流路断面は、上記主導水路の近傍において、外側側面の高さ寸法が内側側面の高さ寸法よりも大きくなるように設定されている、請求項1に記載の水洗大便器。
【請求項7】
上記屈曲流路は、上記主導水路から分岐し、左側に屈曲して前方へ延びる第1屈曲流路と、上記主導水路から分岐し、右側に屈曲して前方へ延びる第2屈曲流路と、を有し、上記第1屈曲流路及び上記第2屈曲流路は、その下流端で合流して上記出口流路に接続されている、請求項1に記載の水洗大便器。
【請求項8】
上記ジェット導水路と上記リム導水路は、別々に形成されている、請求項1に記載の水洗大便器。
発明の詳細な説明
【技術分野】
【0001】
本発明は、水洗大便器に関し、特に、サイホンジェット式の水洗大便器に関する。
続きを表示(約 2,000 文字)
【背景技術】
【0002】
従来から、特許文献1及び2に記載されているように、ジェット吐水によりサイホン作用を発生させて汚物を排出するサイホンジェット式の水洗大便器が知られている。このような水洗大便器は、ボウル部の底部に設けられたジェット吐水口と、洗浄水タンクからの洗浄水をジェット吐水口に導くジェット導水路を備えている。便器洗浄が開始されて洗浄水タンクからの洗浄水がジェット導水路に供給されると、ジェット吐水口から排水トラップ管路の入口部に向けて洗浄水が吐水される。これにより、排水トラップ内が満水になりサイホン作用が発生するようになっている。
また、特許文献1及び2に記載された水洗大便器においては、ジェット導水路が、洗浄水タンクの排水口から直線状に前方へ延びる主導水路と、この主導水路から屈曲して前方へ延びる屈曲流路と、この屈曲流路から後方へ延びてジェット吐水口と接続する出口流路を備えている。
【先行技術文献】
【特許文献】
【0003】
特開2008-274679号公報
特開2015-168994号公報
【発明の概要】
【発明が解決しようとする課題】
【0004】
しかしながら、上述した特許文献1及び2に記載された水洗大便器においては、ジェット導水路の屈曲流路が封水水位よりも上方に配置されているので、便器洗浄開始前の待機状態において屈曲流路内に空気が存在している。屈曲流路内に存在している空気は、洗浄水が屈曲流路に供給されると逃げ場がないため、洗浄水と一緒にジェット吐水口から排出される。空気が洗浄水と一緒にジェット吐水口から排出されると、ジェット吐水口から吐水される洗浄水の勢いが弱まり、それにより、汚物を十分に排出することができない可能性があるという問題がある。
【0005】
そこで、本発明は、空気が洗浄水と一緒にジェット吐水口から排出されるのを抑制して、洗浄水をジェット吐水口から勢いよく吐水し、それにより、汚物を十分に排出することができる水洗大便器を提供することを目的としている。
【課題を解決するための手段】
【0006】
上述した課題を解決するために、本発明は、サイホンジェット式の水洗大便器であって、ボウル形状の汚物受け面と、この汚物受け面の上方に形成されたリム部と、汚物受け面の下方に形成されその内部に封水が形成されるツボ部と、を備えたボウル部と、ボウル部の下方に設けられ、上方へ延びる上昇管路と、この上昇管路から下方へ延びる下降管路と、この下降管路と上昇管路との間に位置して封水水位を規定する頂部と、を備えた排水トラップ管路と、リム部に設けられボウル部に向けて洗浄水を吐水するリム吐水口と、ボウル部の下方に設けられ排水トラップ管路の入口に向けて洗浄水を吐水するジェット吐水口と、リム吐水口に洗浄水を導くリム導水路と、ジェット吐水口に洗浄水を導くジェット導水路と、排水トラップ管路の頂部よりも上方に設けられ、ジェット導水路に洗浄水を供給する給水源と、を有し、ジェット導水路は、給水源から前方へ延びる主導水路と、この主導水路から屈曲して前方に延びる屈曲流路と、この屈曲流路から後方へ延びてジェット吐水口と接続する出口流路と、を有し、屈曲流路は、排水トラップ管路の頂部よりも下方に配置されて、便器洗浄開始前の待機状態において満水になるように構成されていることを特徴としている。
【0007】
このように構成された本発明によれば、屈曲流路が、排水トラップ管路の頂部よりも下方に配置されて、便器洗浄開始前の待機状態において満水になるように構成されているので、便器洗浄開始前の待機状態において、屈曲流路内に空気が存在していないため、空気が洗浄水と一緒にジェット吐水口から排出されるのを抑制することができる。これにより、洗浄水をジェット吐水口から勢いよく吐水させることができ、それにより、汚物を十分に排出することができる。
【0008】
本発明において、好ましくは、ジェット導水路の屈曲流路は、平面視において、封水が形成されている領域内に配置されている。
【0009】
このように構成された本発明によれば、ジェット導水路の屈曲流路が、平面視において、封水が形成されている領域内に配置されているので、便器洗浄開始前の待機状態において、屈曲流路が確実に満水になるようにすることができる。
【0010】
また、本発明において、好ましくは、主導水路の上面が水平方向に対して下方へ傾斜する傾斜角度は、主導水路の底面が水平方向に対して下方へ傾斜する傾斜角度よりも大きくなるように設定されている。
(【0011】以降は省略されています)
この特許をJ-PlatPat(特許庁公式サイト)で参照する
関連特許
TOTO株式会社
浴室
1か月前
TOTO株式会社
浴室
1か月前
TOTO株式会社
洗面器
1か月前
TOTO株式会社
洗面器
1か月前
TOTO株式会社
水栓装置
1か月前
TOTO株式会社
水栓装置
1か月前
TOTO株式会社
水栓装置
1か月前
TOTO株式会社
水栓装置
1か月前
TOTO株式会社
水栓装置
1か月前
TOTO株式会社
水栓装置
1か月前
TOTO株式会社
水栓装置
1か月前
TOTO株式会社
水栓装置
1か月前
TOTO株式会社
複合材料
1か月前
TOTO株式会社
便器装置
1か月前
TOTO株式会社
吐水装置
24日前
TOTO株式会社
吐水装置
24日前
TOTO株式会社
吐水装置
24日前
TOTO株式会社
構造部材
24日前
TOTO株式会社
水栓装置
1か月前
TOTO株式会社
構造部材
24日前
TOTO株式会社
構造部材
19日前
TOTO株式会社
構造部材
19日前
TOTO株式会社
便座装置
1か月前
TOTO株式会社
水洗大便器
23日前
TOTO株式会社
トイレ装置
1か月前
TOTO株式会社
水洗大便器
23日前
TOTO株式会社
水洗大便器
23日前
TOTO株式会社
水洗大便器
23日前
TOTO株式会社
トイレ装置
26日前
TOTO株式会社
水洗大便器
2か月前
TOTO株式会社
水洗大便器
1か月前
TOTO株式会社
水洗大便器
1か月前
TOTO株式会社
トイレ装置
1か月前
TOTO株式会社
トイレ装置
1か月前
TOTO株式会社
トイレ装置
1か月前
TOTO株式会社
水洗大便器
1か月前
続きを見る
他の特許を見る