TOP
|
特許
|
意匠
|
商標
特許ウォッチ
Twitter
他の特許を見る
10個以上の画像は省略されています。
公開番号
2025137221
公報種別
公開特許公報(A)
公開日
2025-09-19
出願番号
2024036294
出願日
2024-03-08
発明の名称
水栓装置
出願人
TOTO株式会社
代理人
弁理士法人酒井国際特許事務所
主分類
E03C
1/044 20060101AFI20250911BHJP(上水;下水)
要約
【課題】接続軸方向の誤差を吸収することができ、施工不良を抑制するとともに施工性を向上させることができる水栓装置を提供すること。
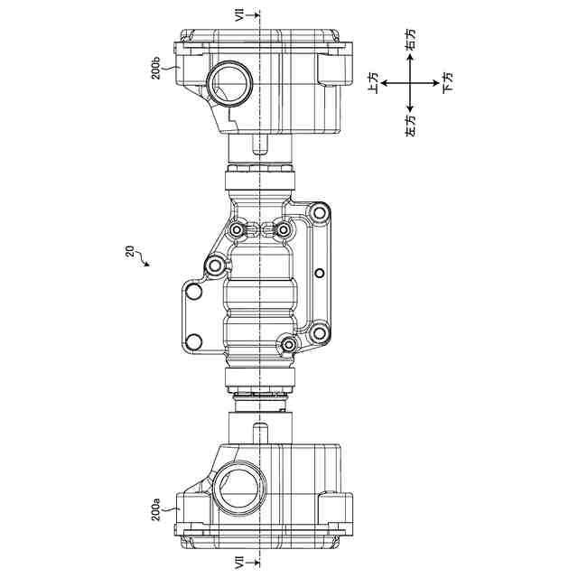
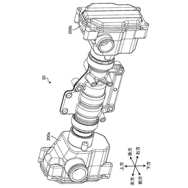
【解決手段】実施形態に係る水栓装置は、複数の吐水部と、浴室の内部の壁に固定され、複数の吐水部へ湯水を供給する水栓本体と、浴室の外部に配置され、複数の吐水部および水栓本体をそれぞれ接続する複数の出湯管とを備える。水栓本体は、湯水を混合する湯水混合部と、浴室の壁に配置された給湯部材に接続される給湯接続部と、浴室の壁に配置された給水部材に接続される給水接続部と、浴室の壁に配置された出湯部材に接続される第1吐水接続部と、浴室の壁に配置された出湯部材に接続される第2吐水接続部とを備える。給湯接続部、給水接続部、第1吐水接続部および第2吐水接続部は、少なくとも1つが接続軸方向へ移動可能である。
【選択図】図9
特許請求の範囲
【請求項1】
複数の吐水部と、
浴室の内部の壁に固定され、複数の前記吐水部へ湯水を供給する水栓本体と、
前記浴室の外部に配置され、複数の前記吐水部および前記水栓本体をそれぞれ接続する複数の出湯管と
を備える水栓装置であって、
前記水栓本体は、
湯水を混合する湯水混合部と、
前記浴室の前記壁に配置された給湯部材に接続される給湯接続部と、
前記浴室の前記壁に配置された給水部材に接続される給水接続部と、
前記浴室の前記壁に配置された出湯部材に接続される第1吐水接続部と、
前記浴室の前記壁に配置された出湯部材に接続される第2吐水接続部と
を備え、
前記給湯接続部、前記給水接続部、前記第1吐水接続部および前記第2吐水接続部は、少なくとも1つが接続軸方向へ移動可能である、水栓装置。
続きを表示(約 1,300 文字)
【請求項2】
前記給湯接続部、前記給水接続部、前記第1吐水接続部および前記第2吐水接続部は、いずれか3つが前記接続軸方向への移動が規制され、残りが前記接続軸方向へ移動可能である、請求項1に記載の水栓装置。
【請求項3】
前記給湯接続部、前記給水接続部、前記第1吐水接続部および前記第2吐水接続部は、すべて前記接続軸方向へ移動可能である、請求項1に記載の水栓装置。
【請求項4】
前記給湯接続部、前記給水接続部、前記第1吐水接続部および前記第2吐水接続部のうち前記接続軸方向へ移動可能な接続部は、前記水栓本体に対して差し込み代を調整可能なブッシュを有する、請求項3に記載の水栓装置。
【請求項5】
前記給湯接続部、前記給水接続部、前記第1吐水接続部および前記第2吐水接続部のうち前記接続軸方向へ移動可能な接続部は、前記ブッシュとの間に配置される軸シールのシール部材を有し、
前記シール部材は、前記ブッシュの外周面に保持される、請求項4に記載の水栓装置。
【請求項6】
前記ブッシュは、先端部に形成されるねじ部と、前記ねじ部よりも基端側に形成されるとともに前記ねじ部よりも小径に形成される中途部とを有し、
前記ねじ部は、前記給湯接続部、前記給水接続部、前記第1吐水接続部および前記第2吐水接続部のうち前記接続軸方向へ移動可能な接続部に形成された接続部側ねじ部と螺合した後に接続部側ねじ部を通過し、
前記中途部は、前記ねじ部が前記接続部側ねじ部を通過した後に前記接続部側ねじ部を前記接続軸方向へ移動可能に保持する、請求項4または5に記載の水栓装置。
【請求項7】
前記給湯接続部および前記給水接続部は、前記接続軸方向への移動が規制される、請求項1に記載の水栓装置。
【請求項8】
前記給湯接続部、前記給水接続部、前記第1吐水接続部および前記第2吐水接続部のうち前記接続軸方向へ移動可能な接続部は、前記接続軸方向への移動が規制された3つの接続部で形成される仮想三角形の外側に配置される、請求項1に記載の水栓装置。
【請求項9】
前記水栓本体は、
前記浴室の前記壁に配置された出湯部材に接続される第3吐水接続部と、
前記浴室の前記壁に配置された出湯部材に接続される第4吐水接続部と
をさらに備え、
前記第3吐水接続部および前記第4吐水接続部は、前記接続軸方向へ移動可能であり、前記接続軸方向への移動が規制された3つの接続部で形成される仮想三角形の外側に配置される、請求項8に記載の水栓装置。
【請求項10】
前記水栓本体は、前記浴室の内部に配置されたカウンターよりも下方に配置され、
前記給湯接続部、前記給水接続部、前記第1吐水接続部および前記第2吐水接続部のうち前記接続軸方向へ移動可能な接続部は、吐水側となる2次側の接続部であり、給水側となる1次側の前記給水接続部および前記給湯接続部よりも上方に配置される、請求項1に記載の水栓装置。
発明の詳細な説明
【技術分野】
【0001】
開示の実施形態は、水栓装置に関する。
続きを表示(約 1,500 文字)
【背景技術】
【0002】
従来、吐水部、水栓本体および出湯管を備え、吐水部および水栓本体が、浴室の外部に配置された出湯管を介して接続された水栓装置が知られている(たとえば、特許文献1参照)。
【先行技術文献】
【特許文献】
【0003】
特開2004-100427号公報
【発明の概要】
【発明が解決しようとする課題】
【0004】
しかしながら、上記のような従来の水栓装置では、給水側および給湯側の接続部だけでなく、出湯側の接続部も浴室の壁側で接続することで、各接続部の組み合わせの寸法誤差が発生するおそれがある。たとえば、4つ以上の接続部を同一の壁側で接続する場合には、各接続部の組み合わせの寸法誤差の影響を無視できない。このため、水栓本体の施工が困難なことがあり、施工不良となるおそれがある。
【0005】
実施形態の一態様は、接続軸方向の誤差を吸収することができ、施工不良を抑制するとともに施工性を向上させることができる水栓装置を提供することを目的とする。
【課題を解決するための手段】
【0006】
実施形態の一態様に係る水栓装置は、複数の吐水部と、浴室の内部の壁に固定され、複数の前記吐水部へ湯水を供給する水栓本体と、前記浴室の外部に配置され、複数の前記吐水部および前記水栓本体をそれぞれ接続する複数の出湯管とを備える水栓装置であって、前記水栓本体は、湯水を混合する湯水混合部と、前記浴室の前記壁に配置された給湯部材に接続される給湯接続部と、前記浴室の前記壁に配置された給水部材に接続される給水接続部と、前記浴室の前記壁に配置された出湯部材に接続される第1吐水接続部と、前記浴室の前記壁に配置された出湯部材に接続される第2吐水接続部とを備え、前記給湯接続部、前記給水接続部、前記第1吐水接続部および前記第2吐水接続部は、少なくとも1つが接続軸方向へ移動可能である。
【0007】
このような構成によれば、給湯接続部、給水接続部、第1吐水接続部および第2吐水接続部のうち少なくとも1つが接続軸方向へ移動可能であるため、接続軸方向へ移動可能な接続部に接続された部材の接続軸方向の位置調整が可能となる。これにより、浴室の外部に配置された出湯管などの配管に機能部となる水栓本体を接続する場合の接続軸方向の誤差を吸収することができ、施工不良を抑制するとともに施工性を向上させることができる。
【0008】
また、上記の水栓装置において、前記給湯接続部、前記給水接続部、前記第1吐水接続部および前記第2吐水接続部は、いずれか3つが前記接続軸方向への移動が規制され、残りが前記接続軸方向へ移動可能である。
【0009】
このような構成によれば、接続軸方向へ移動が規制された3つの接続部で形成される仮想平面に対して残りの接続部の接続軸方向の位置調整が可能となり、すべての接続部を同一平面状に位置させることが出来るようになるため、浴室の外部に配置された出湯管などの配管に機能部となる水栓本体を接続する場合の接続軸方向の誤差を効果的に吸収することができ、施工不良を抑制するとともに、すべての接続部を移動可能にした場合と比較して位置調整が必要な箇所を減らすことができ、施工性を向上させることができる。
【0010】
また、上記の水栓装置において、前記給湯接続部、前記給水接続部、前記第1吐水接続部および前記第2吐水接続部は、すべて前記接続軸方向へ移動可能である。
(【0011】以降は省略されています)
この特許をJ-PlatPat(特許庁公式サイト)で参照する
関連特許
TOTO株式会社
浴室
2か月前
TOTO株式会社
浴室
2か月前
TOTO株式会社
洗面器
1か月前
TOTO株式会社
洗面器
1か月前
TOTO株式会社
水栓装置
2か月前
TOTO株式会社
吐水装置
1か月前
TOTO株式会社
吐水装置
1か月前
TOTO株式会社
吐水装置
1か月前
TOTO株式会社
構造部材
1か月前
TOTO株式会社
構造部材
1か月前
TOTO株式会社
水栓装置
2か月前
TOTO株式会社
水栓装置
2か月前
TOTO株式会社
水栓装置
2か月前
TOTO株式会社
構造部材
1か月前
TOTO株式会社
水栓装置
2か月前
TOTO株式会社
水栓装置
2か月前
TOTO株式会社
水栓装置
2か月前
TOTO株式会社
水栓装置
2か月前
TOTO株式会社
水栓装置
10日前
TOTO株式会社
水栓装置
2か月前
TOTO株式会社
複合材料
2か月前
TOTO株式会社
便器装置
2か月前
TOTO株式会社
構造部材
1か月前
TOTO株式会社
トイレ装置
1か月前
TOTO株式会社
水洗大便器
2か月前
TOTO株式会社
水洗大便器
2か月前
TOTO株式会社
トイレ装置
1か月前
TOTO株式会社
水洗大便器
1か月前
TOTO株式会社
水洗大便器
1か月前
TOTO株式会社
水洗大便器
1か月前
TOTO株式会社
水洗大便器
1か月前
TOTO株式会社
浴室システム
2か月前
TOTO株式会社
静電チャック
1か月前
TOTO株式会社
浴室システム
2か月前
TOTO株式会社
静電チャック
2か月前
TOTO株式会社
水まわり部材
1か月前
続きを見る
他の特許を見る