TOP
|
特許
|
意匠
|
商標
特許ウォッチ
Twitter
他の特許を見る
公開番号
2025151207
公報種別
公開特許公報(A)
公開日
2025-10-09
出願番号
2024052522
出願日
2024-03-27
発明の名称
吐水装置
出願人
TOTO株式会社
代理人
個人
主分類
A47K
3/20 20060101AFI20251002BHJP(家具;家庭用品または家庭用設備;コーヒーひき;香辛料ひき;真空掃除機一般)
要約
【課題】照明器を吐水装置に設けても、蓋部の開閉が容易となり、吐水流路のメンテナンス性を担保することができる。
【解決手段】吐水装置1は、浴槽2に向けて水を吐水する吐水口4を有する吐水流路80の上面を形成する第1壁部511と、第1壁部511を貫通して設けられ、吐水流路80を開閉可能に構成される蓋部40と、第1壁部511の上部に設けられ、蓋部40よりも吐水口4側に位置する照明器60と、照明器60に接続され、平面視において蓋部40と重ならない位置に設けられるコード部材と、を備える。
【選択図】図5
特許請求の範囲
【請求項1】
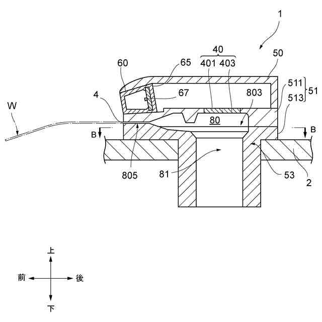
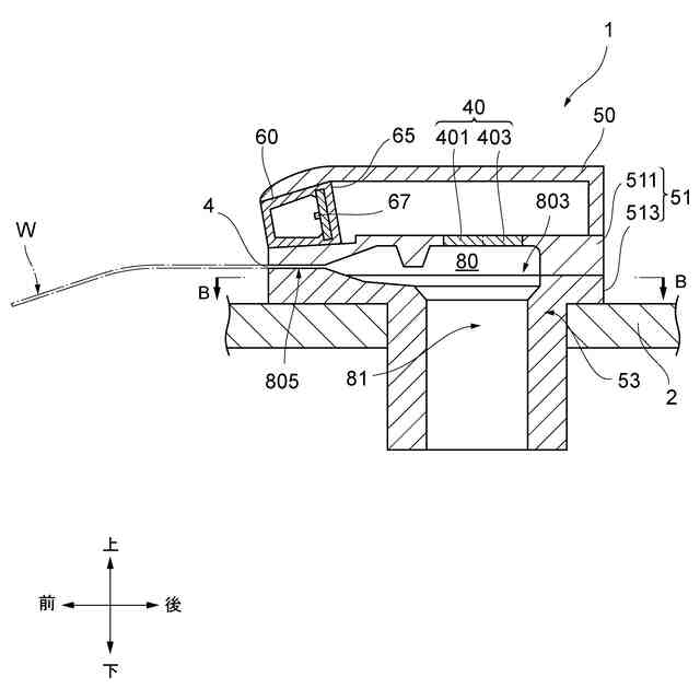
浴槽に向けて水を吐水する吐水口を有する吐水流路の上面を形成する第1壁部と、
前記第1壁部を貫通して設けられ、前記吐水流路を開閉可能に構成される蓋部と、
前記第1壁部の上部に設けられ、前記蓋部よりも前記吐水口側に位置する照明器と、
前記照明器に接続され、平面視において前記蓋部と重ならない位置に設けられるコード部材と
を備える吐水装置。
続きを表示(約 830 文字)
【請求項2】
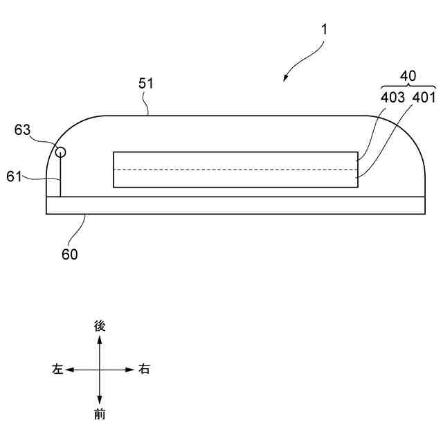
前記照明器は、平面視された際に吐水方向と直交する左右方向において前記蓋部より前記左右方向の一方向に長く、
前記コード部材は、前記照明器の前記蓋部より前記左右方向に長い側の一端部に接続される、
請求項1に記載の吐水装置。
【請求項3】
前記コード部材は、前記蓋部と対向する前記照明器の側面に接続される、
請求項1に記載の吐水装置。
【請求項4】
前記照明器の少なくとも一部は、高さ方向において前記蓋部と同じ又は前記蓋部より低い位置に設けられ、
前記コード部材は、前記高さ方向において前記蓋部と同じ又は前記蓋部より低い位置に配置される、
請求項1乃至3の何れか1項に記載の吐水装置。
【請求項5】
前記吐水流路は、上流側から流入する水を貯留水として貯留する貯留部と、前記貯留部内の前記貯留水を前記吐水口に送り出す絞り流路とを有し、
前記蓋部は、平面視された際に吐水方向と直交する左右方向において前記貯留部より前記左右方向の一方向に短く、
前記コード部材は、平面視において前記貯留部と重ならない位置に設けられ、
前記コード部材の一部は、前記貯留部よりも下方に延伸する、
請求項1乃至3の何れか1項に記載の吐水装置。
【請求項6】
前記吐水流路の前記左右方向両側の側面は、前記吐水方向とは逆側に向かう方向に凹むように湾曲する円弧状に形成され、
前記蓋部は、平面視された際に前記吐水方向と平行な前後方向において、前記吐水口側に位置する前方部と、前記前方部とは逆側に位置する後方部とを有し、
前記前後方向において、前記前方部の長さは、前記後方部の長さと同一であり、
前記コード部材は、前記蓋部の前記前方部より前記後方部側において下方に延伸する、
請求項1乃至3の何れか1項に記載の吐水装置。
発明の詳細な説明
【技術分野】
【0001】
本発明は、吐水装置に関する。
続きを表示(約 1,000 文字)
【背景技術】
【0002】
従来から、入浴者に向けて水(湯を含む)を吐水する吐水装置が知られていた。
【0003】
例えば、特許文献1には、吐水流路のメンテナンスのために蓋部を設けた吐水装置が記載されている。
【先行技術文献】
【特許文献】
【0004】
特開2023-134056号公報
【発明の概要】
【発明が解決しようとする課題】
【0005】
しかしながら、特許文献1に記載の技術では、蓋部周りに照明器を設けると蓋部の開閉が妨げられ、吐水流路のメンテナンス性が担保できない。
【0006】
上記課題に鑑み、本発明は、照明器を吐水装置に設けても、蓋部の開閉が容易となり、吐水流路のメンテナンス性を担保する吐水装置を提供することを目的とする。
【課題を解決するための手段】
【0007】
上記課題を解決するために、本発明の第1態様によれば、以下の吐水装置が提供される。この吐水装置は、浴槽に向けて水を吐水する吐水口を有する吐水流路の上面を形成する第1壁部と、前記第1壁部を貫通して設けられ、前記吐水流路を開閉可能に構成される蓋部と、前記第1壁部の上部に設けられ、前記蓋部よりも前記吐水口側に位置する照明器と、前記照明器に接続され、平面視において前記蓋部と重ならない位置に設けられるコード部材とを備える。
【0008】
この構成によれば、コード部材が平面視において蓋部と重なる位置に設けられた場合と比較して、照明器を吐水装置に設けても、蓋部の開閉が容易となり、吐水流路のメンテナンス性を担保する。
【0009】
また、本発明の第2態様に係る吐水装置では、前記照明器は、平面視された際に吐水方向と直交する左右方向において前記蓋部より前記左右方向の一方向に長く、前記コード部材は、前記照明器の前記蓋部より左右方向に長い側の一端部に接続される。
【0010】
この構成によれば、コード部材が照明器の左右方向の中央部分に接続される場合と比較して、蓋部と照明器との間の領域と重ならない位置にコード部材が設けられるため、蓋部の開閉が容易となり、さらに吐水流路のメンテナンス性を担保する。
(【0011】以降は省略されています)
この特許をJ-PlatPat(特許庁公式サイト)で参照する
関連特許
TOTO株式会社
浴室
1か月前
TOTO株式会社
浴室
1か月前
TOTO株式会社
洗面器
1か月前
TOTO株式会社
洗面器
1か月前
TOTO株式会社
水栓装置
1か月前
TOTO株式会社
水栓装置
1か月前
TOTO株式会社
水栓装置
1か月前
TOTO株式会社
水栓装置
1か月前
TOTO株式会社
水栓装置
1か月前
TOTO株式会社
水栓装置
1か月前
TOTO株式会社
水栓装置
1か月前
TOTO株式会社
水栓装置
1か月前
TOTO株式会社
複合材料
1か月前
TOTO株式会社
便器装置
1か月前
TOTO株式会社
吐水装置
25日前
TOTO株式会社
吐水装置
25日前
TOTO株式会社
吐水装置
25日前
TOTO株式会社
構造部材
25日前
TOTO株式会社
水栓装置
1か月前
TOTO株式会社
構造部材
25日前
TOTO株式会社
構造部材
20日前
TOTO株式会社
構造部材
20日前
TOTO株式会社
便座装置
1か月前
TOTO株式会社
水洗大便器
24日前
TOTO株式会社
トイレ装置
1か月前
TOTO株式会社
水洗大便器
24日前
TOTO株式会社
水洗大便器
24日前
TOTO株式会社
水洗大便器
24日前
TOTO株式会社
トイレ装置
27日前
TOTO株式会社
水洗大便器
2か月前
TOTO株式会社
水洗大便器
1か月前
TOTO株式会社
水洗大便器
1か月前
TOTO株式会社
トイレ装置
1か月前
TOTO株式会社
トイレ装置
1か月前
TOTO株式会社
トイレ装置
1か月前
TOTO株式会社
水洗大便器
1か月前
続きを見る
他の特許を見る