TOP
|
特許
|
意匠
|
商標
特許ウォッチ
Twitter
他の特許を見る
10個以上の画像は省略されています。
公開番号
2025154265
公報種別
公開特許公報(A)
公開日
2025-10-10
出願番号
2024057170
出願日
2024-03-29
発明の名称
水洗大便器
出願人
TOTO株式会社
代理人
個人
,
個人
,
個人
,
個人
,
個人
,
個人
,
個人
主分類
E03D
11/02 20060101AFI20251002BHJP(上水;下水)
要約
【課題】本発明は、汚物の排出性能を向上させることができると共に、便器洗浄に使用する洗浄水の量を節水化することができる水洗大便器を提供することを目的としている。
【解決手段】本発明は、サイホンジェット式の水洗大便器であって、ボウル部6、排水トラップ管路8、ジェット吐水口14、ジェット導水路16及び洗浄水タンク4を備え、ジェット導水路16は、洗浄水タンク4から前方へ延びる主導水路26と、この主導水路26から分岐し、左側に屈曲して前方へ延びる第1屈曲流路28と、主導水路26から分岐し、右側に屈曲して前方へ延びる第2屈曲流路30と、第1屈曲流路28及び第2屈曲流路30が合流し、後方へ延びてジェット吐水口14と接続する出口流路32とを備え、第1屈曲流路28及び第2屈曲流路30の流路断面は、下流側において、縦長の形状に形成されている。
【選択図】図3
特許請求の範囲
【請求項1】
サイホンジェット式の水洗大便器であって、
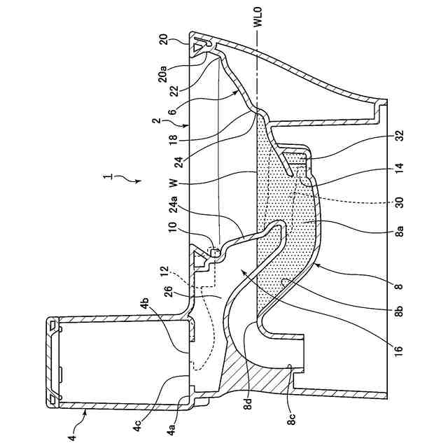
ボウル形状の汚物受け面と、この汚物受け面の上方に形成されたリム部と、上記汚物受け面の下方に形成されその内部に封水が形成されるツボ部と、を備えたボウル部と、
上記ボウル部の下方に設けられ、上方へ延びる上昇管路と、この上昇管路から下方へ延びる下降管路と、この下降管路と上記上昇管路との間に位置して溜水水位を規定する頂部と、を備えた排水トラップ管路と、
上記リム部に設けられ上記ボウル部に向けて洗浄水を吐水するリム吐水口と、
上記ボウル部の下方に設けられ上記排水トラップ管路の入口に向けて洗浄水を吐水するジェット吐水口と、
上記リム吐水口に洗浄水を導くリム導水路と、
上記ジェット吐水口に洗浄水を導くジェット導水路と、
上記ジェット導水路に洗浄水を供給する給水源と、
を有し、
上記ジェット導水路は、上記給水源から前方へ延びる主導水路と、この主導水路から分岐し、左側に屈曲して前方へ延びる第1屈曲流路と、上記主導水路から分岐し、右側に屈曲して前方へ延びる第2屈曲流路と、上記第1屈曲流路及び上記第2屈曲流路が合流し、後方へ延びて上記ジェット吐水口と接続する出口流路とを備え、
上記第1屈曲流路及び上記第2屈曲流路の流路断面は、下流側において、縦長の形状に形成されていることを特徴とする水洗大便器。
続きを表示(約 730 文字)
【請求項2】
上記第1屈曲流路及び上記第2屈曲流路は、平面視において、上記ジェット導水路の左右方向の中心軸を中心として左右対称に形成されている、請求項1に記載の水洗大便器。
【請求項3】
上記第1屈曲流路及び上記第2屈曲流路の上面は、上流側から下流側に向けて下方へ傾斜すると共に、上記第1屈曲流路及び上記第2屈曲流路の底面が上流側から下流側に向けて下方へ傾斜している、請求項1又は2に記載の水洗大便器。
【請求項4】
上記第1屈曲流路及び上記第2屈曲流路の上面は、内周側から外周側に向けて上方へ傾斜している、請求項3に記載の水洗大便器。
【請求項5】
上記第1屈曲流路及び上記第2屈曲流路の流路断面積は、下流側において、ほぼ一定になるように設定されている、請求項1に記載の水洗大便器。
【請求項6】
上記出口流路の流路断面積は、上記第1屈曲流路及び上記第2屈曲流路の流路断面積の合計値よりも小さくなるように設定されている、請求項1に記載の水洗大便器。
【請求項7】
上記出口流路の横幅の寸法は、横幅の寸法が最も小さい位置における上記第1屈曲流路及び上記第2屈曲流路の横幅の寸法の合計値以上の大きさに設定されている、請求項6に記載の水洗大便器。
【請求項8】
上記第1屈曲流路及び上記第2屈曲流路の流路断面は、横幅の寸法が最も小さい位置において、縦幅の寸法が横幅の寸法よりも2倍以上大きくなるように設定されている、請求項1に記載の水洗大便器。
【請求項9】
上記ジェット導水路と上記リム導水路は、別々に形成されている、請求項1に記載の水洗大便器。
発明の詳細な説明
【技術分野】
【0001】
本発明は、水洗大便器に関し、特に、サイホンジェット式の水洗大便器に関する。
続きを表示(約 2,400 文字)
【背景技術】
【0002】
従来から、特許文献1乃至3に記載されているように、ジェット吐水によりサイホン作用を発生させて汚物を排出するサイホンジェット式の水洗大便器が知られている。このような水洗大便器は、ボウル部の底部に設けられたジェット吐水口と、洗浄水タンクからの洗浄水をジェット吐水口に導くジェット導水路を備えている。便器洗浄が開始されて洗浄水タンクからの洗浄水がジェット導水路に供給されると、ジェット吐水口から排水トラップ管路の入口部に向けて洗浄水が吐水される。これにより、排水トラップ内が満水になりサイホン作用が発生するようになっている。
また、特許文献1乃至3に記載された水洗大便器は、ジェット導水路が、洗浄水タンクのジェット用排水口から前方へ延びる主導水路と、主導水路から分岐し、左側に屈曲して前方へ延びる第1ジェット導水路と、主導水路から分岐し、右側に屈曲して前方へ延びる第2ジェット導水路と、第1ジェット導水路及び第2ジェット導水路が合流し、後方へ延びてジェット吐水口と接続する出口流路を備えている。このような水洗大便器は、ジェット導水路が分岐して比較的緩やかに屈曲しているため、洗浄水がジェット導水路を流れる際に受ける圧力損失が抑制されて、洗浄水がジェット吐水口から勢いよく吐水され、それにより、汚物の排出性能を向上させることができるという利点がある。
【先行技術文献】
【特許文献】
【0003】
特開2008-274679号公報
米国特許出願第2020/0102729号明細書
米国特許第7111333号明細書
【発明の概要】
【発明が解決しようとする課題】
【0004】
しかしながら、上述した特許文献1乃至3に記載された水洗大便器においては、ジェット導水路が第1ジェット導水路及び第2ジェット導水路に分岐しているため、ジェット導水路全体の容積が大きくなり、便器洗浄前の待機状態において、ジェット導水路内に溜まる洗浄水の量が増える。ジェット導水路内に溜まった洗浄水は、便器洗浄毎に新しい洗浄水に入れ替える必要がある。このため、ジェット導水路内に溜まる洗浄水が増えると、便器洗浄に使用する洗浄水の量を増やす必要があり、近年の節水化の要請を満たすことができないという問題がある。
【0005】
そこで、本発明は、汚物の排出性能を向上させることができると共に、便器洗浄に使用する洗浄水の量を節水化することができる水洗大便器を提供することを目的としている。
【課題を解決するための手段】
【0006】
上述した課題を解決するために、本発明は、サイホンジェット式の水洗大便器であって、ボウル形状の汚物受け面と、この汚物受け面の上方に形成されたリム部と、汚物受け面の下方に形成されその内部に封水が形成されるツボ部と、を備えたボウル部と、ボウル部の下方に設けられ、上方へ延びる上昇管路と、この上昇管路から下方へ延びる下降管路と、この下降管路と上昇管路との間に位置して溜水水位を規定する頂部と、を備えた排水トラップ管路と、リム部に設けられボウル部に向けて洗浄水を吐水するリム吐水口と、ボウル部の下方に設けられ排水トラップ管路の入口に向けて洗浄水を吐水するジェット吐水口と、リム吐水口に洗浄水を導くリム導水路と、ジェット吐水口に洗浄水を導くジェット導水路と、ジェット導水路に洗浄水を供給する給水源と、を有し、ジェット導水路は、給水源から前方へ延びる主導水路と、この主導水路から分岐し、左側に屈曲して前方へ延びる第1屈曲流路と、主導水路から分岐し、右側に屈曲して前方へ延びる第2屈曲流路と、第1屈曲流路及び第2屈曲流路が合流し、後方へ延びてジェット吐水口と接続する出口流路とを備え、第1屈曲流路及び第2屈曲流路の流路断面は、下流側において、縦長の形状に形成されていることを特徴としている。
【0007】
このように構成された本発明によれば、ジェット導水路が、給水源から前方へ延びる主導水路と、この主導水路から分岐し、左側に屈曲して前方へ延びる第1屈曲流路と、主導水路から分岐し、右側に屈曲して前方へ延びる第2屈曲流路と、第1屈曲流路及び第2屈曲流路が合流し、後方へ延びてジェット吐水口と接続する出口流路とを備えているので、ジェット導水路を流れる洗浄水が受ける圧力損失を抑制して、洗浄水をジェット吐水口から勢いよく吐水させることができる。また、第1屈曲流路及び第2屈曲流路の流路断面が、下流側において、縦長の形状に形成されているので、便器洗浄前の待機状態においてジェット導水路に溜まる洗浄水の量を減らすことができ、便器洗浄に使用する洗浄水の量を減らすことができる。よって、汚物の排出性能を向上させることができると共に、便器洗浄に使用する洗浄水の量を節水化することができる。
【0008】
本発明において、好ましくは、第1屈曲流路及び第2屈曲流路は、平面視において、ジェット導水路の左右方向の中心軸を中心として左右対称に形成されている。
【0009】
このように構成された本発明によれば、第1屈曲流路及び第2屈曲流路が、平面視において、ジェット導水路の左右方向の中心軸を中心として左右対称に形成されているので、ジェット吐水口から吐水される洗浄水の流速分布を均一にすることができ、汚物の排出性能を向上させることができる。
【0010】
また、本発明において、好ましくは、第1屈曲流路及び第2屈曲流路の上面は、上流側から下流側に向けて下方へ傾斜すると共に、第1屈曲流路及び第2屈曲流路の底面が上流側から下流側に向けて下方へ傾斜している。
(【0011】以降は省略されています)
この特許をJ-PlatPat(特許庁公式サイト)で参照する
関連特許
株式会社田中設備
蓋体
21日前
TOTO株式会社
排水システム
27日前
TOTO株式会社
排水システム
27日前
ミサワホーム株式会社
外構
26日前
株式会社KVK
水栓
15日前
株式会社Deto
吐水器
22日前
積水化学工業株式会社
配管構造
26日前
積水化学工業株式会社
集合継手
22日前
株式会社オカグレート
グレーチング及びその製造方法
19日前
SANEI株式会社
水栓装置
14日前
株式会社日邦バルブ
取水栓
6日前
積水化学工業株式会社
集合継手及び排水システム
26日前
TOTO株式会社
水洗大便器
26日前
TOTO株式会社
水洗大便器
26日前
TOTO株式会社
水洗大便器
26日前
TOTO株式会社
水洗大便器
26日前
TOTO株式会社
水洗大便器装置
26日前
TOTO株式会社
水洗大便器装置
26日前
株式会社LIXIL
混合装置及び水回り装置
12日前
TOTO株式会社
水洗大便器装置
26日前
TOTO株式会社
水洗大便器装置
26日前
TOTO株式会社
水洗大便器装置
26日前
積水化学工業株式会社
集合継手及び集合継手の製造方法
26日前
パナソニックIPマネジメント株式会社
小便器の改修方法
19日前
株式会社クボタケミックス
揚水装置、揚水装置を用いた施工方法
6日前
株式会社アーマン
コンクリートブロック、コンクリートブロックの敷設方法
14日前
株式会社LIXIL
吐水システム、浴室ユニット、コンピュータプログラム及び制御方法
20日前
株式会社LIXIL
制御装置、コンピュータプログラム、調整方法、及び、制御システム
12日前
フジ地中情報株式会社
AI埋設管路更新計画立案システム、AI埋設管路更新計画立案方法及びAI埋設管路更新計画立案プログラム
26日前
中国建筑設計研究院有限公司
分布型の保圧貯水協調給水システム
13日前
クイーンズランド ユニバーシティ オブ テクノロジー
治療に対するがんの反応性を明らかにする
6日前
他の特許を見る