TOP
|
特許
|
意匠
|
商標
特許ウォッチ
Twitter
他の特許を見る
公開番号
2025144846
公報種別
公開特許公報(A)
公開日
2025-10-03
出願番号
2024044728
出願日
2024-03-21
発明の名称
静電チャック
出願人
TOTO株式会社
代理人
個人
,
個人
,
個人
,
個人
主分類
H01L
21/683 20060101AFI20250926BHJP(基本的電気素子)
要約
【課題】処理中における基板の面内温度分布のばらつきを抑制することのできる静電チャック、を提供する。
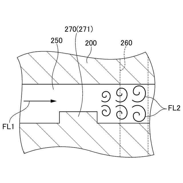
【解決手段】静電チャック10は、誘電体基板100と、誘電体基板100に接合されたベースプレート200と、を備える。ベースプレート200には、冷媒の通る冷媒流路250と、リフトピン穴260と、が形成されている。冷媒流路250のうちリフトピン穴260の近傍の部分には、冷媒の流れにおいて乱流を発生させるための突起270が設けられている。
【選択図】図4
特許請求の範囲
【請求項1】
被吸着物が載置される載置面を有する誘電体基板と、
前記誘電体基板に接合されたベースプレートと、を備え、
前記ベースプレートには、
冷媒の通る冷媒流路と、
前記載置面に対し垂直な方向に伸びる貫通穴と、が形成されており、
前記冷媒流路のうち前記貫通穴の近傍の部分には、冷媒の流れにおいて乱流を発生させるための乱流発生部が設けられていることを特徴とする静電チャック。
続きを表示(約 500 文字)
【請求項2】
前記乱流発生部は、
前記冷媒流路のうち、冷媒の流れる方向に沿って前記貫通穴よりも上流側となる位置に設けられた第1乱流発生部と、
前記貫通穴よりも下流側となる位置に設けられた第2乱流発生部と、を含むことを特徴とする、請求項1に記載の静電チャック。
【請求項3】
前記第1乱流発生部及び前記第2乱流発生部は、前記冷媒流路の内壁面に設けられた突起であることを特徴とする、請求項2に記載の静電チャック。
【請求項4】
前記第1乱流発生部及び前記第2乱流発生部のそれぞれにおいて、前記冷媒流路は、
前記載置面に対し垂直な方向から見た場合において、円弧状に突出する経路に沿って引き回されていることを特徴とする、請求項2に記載の静電チャック。
【請求項5】
前記第1乱流発生部及び前記第2乱流発生部のそれぞれにおいて、前記冷媒流路は、
前記載置面に対し垂直な方向から見た場合において、前記貫通穴が設けられている方に向けて円弧状に突出する経路に沿って引き回されていることを特徴とする、請求項4に記載の静電チャック。
発明の詳細な説明
【技術分野】
【0001】
本発明は静電チャックに関する。
続きを表示(約 1,200 文字)
【背景技術】
【0002】
例えばエッチング装置等の半導体製造装置には、処理の対象となるシリコンウェハ等の基板を吸着し保持するための装置として、静電チャックが設けられる。静電チャックは、吸着電極が設けられた誘電体基板と、誘電体基板を支持するベースプレートと、を備え、これらが互いに接合された構成を有する。吸着電極に電圧が印加されると静電力が生じ、誘電体基板上に載置された基板が吸着され保持される。
【0003】
エッチング等の処理中においては、基板の温度を適切な温度に維持する必要がある。このため、下記特許文献1に記載されているように、ベースプレートの内部には、冷媒を通すための冷媒流路が形成される。
【先行技術文献】
【特許文献】
【0004】
特開2021-028960号公報
【発明の概要】
【発明が解決しようとする課題】
【0005】
ベースプレートには、上記の冷媒流路に加えて複数の貫通穴も形成される。このような貫通穴としては、例えば、リフトピンを通すための穴や、ヘリウムガスなどの不活性ガスを基板側に供給するための穴等が挙げられる。
【0006】
誘電体基板のうち、ベースプレートに形成された貫通穴の直上となる部分では、ベースプレート側への熱引きが行われにくい。このため、当該部分において局所的な温度上昇が生じ、基板の面内温度分布がばらついてしまう可能性がある。
【0007】
本発明はこのような課題に鑑みてなされたものであり、その目的は、処理中における基板の面内温度分布のばらつきを抑制することのできる静電チャック、を提供することにある。
【課題を解決するための手段】
【0008】
上記課題を解決するために、本発明に係る静電チャックは、被吸着物が載置される載置面を有する誘電体基板と、誘電体基板に接合されたベースプレートと、を備える。ベースプレートには、冷媒の通る冷媒流路と、載置面に対し垂直な方向に伸びる貫通穴と、が形成されている。冷媒流路のうち貫通穴の近傍の部分には、冷媒の流れにおいて乱流を発生させるための乱流発生部が設けられている。
【0009】
このような構成の静電チャックでは、冷媒流路を通る冷媒は、乱流発生部を通る際において乱流を発生させた状態となり、その状態のまま貫通穴の近傍の部分を通過する。ベースプレートのうち貫通穴の近傍の部分は、乱流発生部が無い場合に比べて効率的に冷却され、その温度を低下させる。その結果、貫通穴の直上における局所的な温度上昇が生じにくくなるので、基板の面内温度分布のばらつきを抑制することができる。
【発明の効果】
【0010】
本発明によれば、処理中における基板の面内温度分布のばらつきを抑制することのできる静電チャック、を提供することができる。
【図面の簡単な説明】
(【0011】以降は省略されています)
この特許をJ-PlatPat(特許庁公式サイト)で参照する
関連特許
TOTO株式会社
浴室
1か月前
TOTO株式会社
浴室
1か月前
TOTO株式会社
洗面器
26日前
TOTO株式会社
洗面器
26日前
TOTO株式会社
水栓装置
1か月前
TOTO株式会社
吐水装置
20日前
TOTO株式会社
吐水装置
20日前
TOTO株式会社
便器装置
1か月前
TOTO株式会社
複合材料
1か月前
TOTO株式会社
水栓装置
1か月前
TOTO株式会社
構造部材
20日前
TOTO株式会社
水栓装置
1か月前
TOTO株式会社
水栓装置
1か月前
TOTO株式会社
水栓装置
1か月前
TOTO株式会社
水栓装置
1か月前
TOTO株式会社
水栓装置
1か月前
TOTO株式会社
水栓装置
1か月前
TOTO株式会社
水栓装置
1か月前
TOTO株式会社
吐水装置
20日前
TOTO株式会社
構造部材
20日前
TOTO株式会社
構造部材
15日前
TOTO株式会社
構造部材
15日前
TOTO株式会社
便座装置
1か月前
TOTO株式会社
トイレ装置
26日前
TOTO株式会社
水洗大便器
19日前
TOTO株式会社
水洗大便器
19日前
TOTO株式会社
水洗大便器
1か月前
TOTO株式会社
水洗大便器
1か月前
TOTO株式会社
トイレ装置
22日前
TOTO株式会社
水洗大便器
1か月前
TOTO株式会社
水洗大便器
1か月前
TOTO株式会社
水洗大便器
1か月前
TOTO株式会社
水洗大便器
19日前
TOTO株式会社
トイレ装置
1か月前
TOTO株式会社
トイレ装置
1か月前
TOTO株式会社
トイレ装置
1か月前
続きを見る
他の特許を見る