TOP
|
特許
|
意匠
|
商標
特許ウォッチ
Twitter
他の特許を見る
10個以上の画像は省略されています。
公開番号
2025132552
公報種別
公開特許公報(A)
公開日
2025-09-10
出願番号
2024030198
出願日
2024-02-29
発明の名称
浴室
出願人
TOTO株式会社
代理人
弁理士法人iX
主分類
A47K
4/00 20060101AFI20250903BHJP(家具;家庭用品または家庭用設備;コーヒーひき;香辛料ひき;真空掃除機一般)
要約
【課題】意匠性、清掃性、及び操作部の配置の自由度を向上できる浴室を提供する。
【解決手段】壁面部に設けられた下部カウンターと、前記壁面部に設けられ、前記下部カウンターの上方に位置する上部カウンターと、前記上部カウンターに設けられ、水を吐出する吐水口と、前記吐水口に水を供給する水栓本体部と、前記水栓本体部を操作するための操作部と、を備え、前記水栓本体部は、前記下部カウンターの内部に設けられ、前記操作部は、前記壁面部に設けられる、浴室。
【選択図】図2
特許請求の範囲
【請求項1】
壁面部に設けられた下部カウンターと、
前記壁面部に設けられ、前記下部カウンターの上方に位置する上部カウンターと、
前記上部カウンターに設けられ、水を吐出する吐水口と、
前記吐水口に水を供給する水栓本体部と、
前記水栓本体部を操作するための操作部と、
を備え、
前記水栓本体部は、前記下部カウンターの内部に設けられ、
前記操作部は、前記壁面部に設けられる、浴室。
続きを表示(約 570 文字)
【請求項2】
浴槽をさらに備え、
前記上部カウンターは、
前記下部カウンターの上方に位置する第1カウンター領域と、
前記浴槽の上方に位置する第2カウンター領域と、
を有する、請求項1に記載の浴室。
【請求項3】
前記操作部は、前記下部カウンターよりも上方に位置する、請求項1に記載の浴室。
【請求項4】
前記操作部は、前記上部カウンターと同じ前記壁面部に設けられ、前記上部カウンターの上方に位置する、請求項3に記載の浴室。
【請求項5】
前記操作部は、前記上部カウンターと同じ前記壁面部に設けられ、上下方向において前記上部カウンターと重ならない、請求項3に記載の浴室。
【請求項6】
前記操作部は、前記上部カウンターと異なる前記壁面部に設けられる、請求項3に記載の浴室。
【請求項7】
前記水栓本体部と前記操作部とを電気的に接続する配線をさらに備え、
前記配線は、前記壁面部の裏側に位置する、請求項1~6のいずれか1つに記載の浴室。
【請求項8】
前記水栓本体部と前記吐水口とを接続する管路をさらに備え、
前記管路は、前記壁面部の裏側に位置する、請求項1~6のいずれか1つに記載の浴室。
発明の詳細な説明
【技術分野】
【0001】
本発明の態様は、一般的に、浴室に関する。
続きを表示(約 1,400 文字)
【背景技術】
【0002】
浴室の壁面に設けられたカウンターの内部に吐水部を設けるとともに、カウンターに吐水を操作するための操作部を設けた浴室が知られている(例えば、特許文献1)。このような浴室において、カウンターの内部に吐水部から吐出される水の温度を調整する温度調整部、水の流量を調整する流量調整部、及び流路を切り替える流路切替部などを設けると、カウンターが大きくなって意匠性が悪くなるおそれがある。また、カウンターに操作部を設けると、カウンターに凹凸ができ、清掃性が悪くなったり、操作部の配置の自由度が低下したりするおそれがある。
【先行技術文献】
【特許文献】
【0003】
特開2006-288505号公報
【発明の概要】
【発明が解決しようとする課題】
【0004】
本発明の態様は、かかる課題の認識に基づいてなされたものであり、意匠性、清掃性、及び操作部の配置の自由度を向上できる浴室を提供することを目的とする。
【課題を解決するための手段】
【0005】
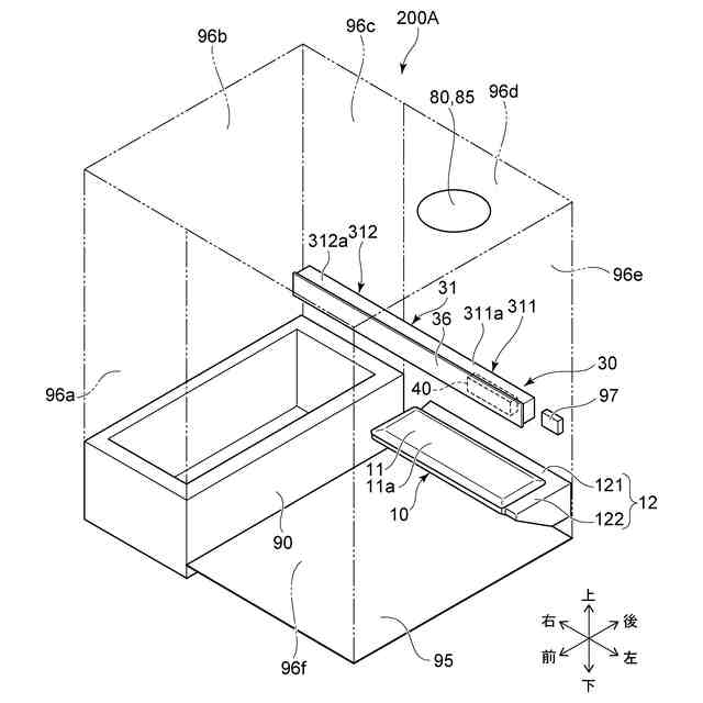
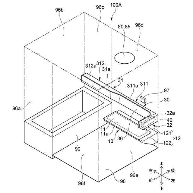
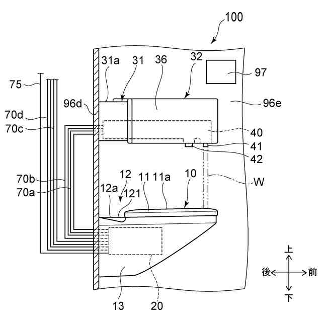
第1の発明は、壁面部に設けられた下部カウンターと、前記壁面部に設けられ、前記下部カウンターの上方に位置する上部カウンターと、前記上部カウンターに設けられ、水を吐出する吐水口と、前記吐水口に水を供給する水栓本体部と、前記水栓本体部を操作するための操作部と、を備え、前記水栓本体部は、前記下部カウンターの内部に設けられ、前記操作部は、前記壁面部に設けられる、浴室である。
【0006】
この浴室によれば、水栓本体部が下部カウンターの内部に設けられることで、上部カウンターが大きくなりにくい。これにより、意匠性を向上できる。また、水栓本体部が下部カウンターの内部に設けられることで、例えば、水栓本体部が浴槽に設けられる場合に比べて、メンテナンス性を向上できる。また、操作部が壁面部に設けられることで、操作部が上部カウンターに設けられる場合に比べて、上部カウンターの凹凸を少なくできる。これにより、清掃性を向上できる。また、操作部が壁面部に設けられることで、操作部が上部カウンターに設けられる場合に比べて、操作部の配置の自由度を向上できる。
【0007】
第2の発明は、第1の発明において、浴槽をさらに備え、前記上部カウンターは、前記下部カウンターの上方に位置する第1カウンター領域と、前記浴槽の上方に位置する第2カウンター領域と、を有する、浴室である。
【0008】
この浴室によれば、上部カウンターが第1カウンター領域と第2カウンター領域とを有することで、より多くの物品を上部カウンターに載置することができる。また、浴槽の上方に位置する第2カウンター領域を手すりとして使用することができるため、使い勝手を向上できる。
【0009】
第3の発明は、第1の発明において、前記操作部は、前記下部カウンターよりも上方に位置する、浴室である。
【0010】
この浴室によれば、操作部が下部カウンターよりも上方に位置することで、例えば、操作部が下部カウンターよりも下方に位置する場合に比べて、使用者が操作部を操作しやすい。
(【0011】以降は省略されています)
この特許をJ-PlatPat(特許庁公式サイト)で参照する
関連特許
TOTO株式会社
浴室
21日前
TOTO株式会社
浴室
21日前
TOTO株式会社
浴室床
1か月前
TOTO株式会社
水栓装置
12日前
TOTO株式会社
便器装置
21日前
TOTO株式会社
複合材料
13日前
TOTO株式会社
パッキン
1か月前
TOTO株式会社
水栓装置
12日前
TOTO株式会社
水栓装置
12日前
TOTO株式会社
水栓装置
12日前
TOTO株式会社
水栓装置
12日前
TOTO株式会社
洗い場床
2か月前
TOTO株式会社
浴槽装置
1か月前
TOTO株式会社
水栓装置
12日前
TOTO株式会社
衛生陶器
1か月前
TOTO株式会社
水栓装置
12日前
TOTO株式会社
浴槽装置
1か月前
TOTO株式会社
衛生陶器
1か月前
TOTO株式会社
便座装置
21日前
TOTO株式会社
浴槽装置
1か月前
TOTO株式会社
水栓装置
12日前
TOTO株式会社
水栓装置
12日前
TOTO株式会社
水洗大便器
21日前
TOTO株式会社
水洗大便器
21日前
TOTO株式会社
トイレ装置
21日前
TOTO株式会社
トイレ装置
21日前
TOTO株式会社
水洗大便器
1か月前
TOTO株式会社
水洗大便器
28日前
TOTO株式会社
排水管継手
1か月前
TOTO株式会社
排水管継手
1か月前
TOTO株式会社
水洗大便器
1か月前
TOTO株式会社
水洗大便器
1か月前
TOTO株式会社
トイレ装置
21日前
TOTO株式会社
水洗大便器
1か月前
TOTO株式会社
水洗大便器
1か月前
TOTO株式会社
水洗大便器
21日前
続きを見る
他の特許を見る