TOP
|
特許
|
意匠
|
商標
特許ウォッチ
Twitter
他の特許を見る
10個以上の画像は省略されています。
公開番号
2025137202
公報種別
公開特許公報(A)
公開日
2025-09-19
出願番号
2024036269
出願日
2024-03-08
発明の名称
水栓装置
出願人
TOTO株式会社
代理人
弁理士法人酒井国際特許事務所
主分類
E03C
1/044 20060101AFI20250911BHJP(上水;下水)
要約
【課題】吐水温度が安定するまでの時間を短縮するともに、温度調整の精度を向上すること。
【解決手段】実施形態に係る水栓装置は、吐水部と、湯水混合部と、アクチュエータと、制御装置と、操作部と、を備える。湯水混合部は、本体ケーシングと、感温付勢部と、弁体と、を有する。制御装置は、設定温度の情報を受信した際に、設定温度に対応した、予め決められた位置に、または、予め決められた駆動量だけアクチュエータを駆動することで、弁体の軸方向の位置の調整を行う吐水モードと、設置された環境および製品ばらつきのうち少なくとも一方に応じて、予め決められた位置または予め決められた駆動量の設定を調整するキャリブレーションモードと、を実行可能である。
【選択図】図10
特許請求の範囲
【請求項1】
浴室内に向けて吐水を行う吐水部と、
前記吐水部に供給する湯水を混合する湯水混合部と、
前記湯水混合部を動作させるアクチュエータと、
前記アクチュエータの駆動を制御する制御装置と、
使用者からの操作で設定温度の情報を前記制御装置に送信する操作部と、
を備えた水栓装置であって、
前記湯水混合部は、
湯流入口、水流入口および混合湯水流出口が形成された本体ケーシングと、
混合湯水の温度に応じて変化するとともに、前記湯流入口および前記水流入口の開度を調整可能な感温付勢部と、
前記本体ケーシング内において当該本体ケーシングの軸方向に摺動自在に組み込まれ、前記湯流入口および前記水流入口の開度を調整可能な弁体と、を有し、
前記制御装置は、
前記設定温度の情報を受信した際に、前記設定温度に対応した、予め決められた位置に、または、予め決められた駆動量だけ前記アクチュエータを駆動することで、前記弁体の軸方向の位置の調整を行う吐水モードと、
設置された環境および製品ばらつきのうち少なくとも一方に応じて、前記予め決められた位置または前記予め決められた駆動量の設定を調整するキャリブレーションモードと、を実行可能である水栓装置。
続きを表示(約 1,200 文字)
【請求項2】
前記湯水混合部の上流または下流に設けられた温度センサを備え、
前記キャリブレーションモードは、前記温度センサからの情報に基づいて、前記予め決められた位置または前記予め決められた駆動量の設定を調整する請求項1に記載の水栓装置。
【請求項3】
前記キャリブレーションモードは、前記制御装置により、前記吐水部から吐水を行いながら、前記アクチュエータを駆動させて、実行される請求項2に記載の水栓装置。
【請求項4】
前記キャリブレーションモードは、前記操作部の操作で実行可能である請求項1に記載の水栓装置。
【請求項5】
前記キャリブレーションモードにおいて、
前記制御装置は、3点以上の温度変化点を探索し特定した温度変化点に基づいて、前記予め決められた位置または前記予め決められた駆動量を調整する請求項3に記載の水栓装置。
【請求項6】
前記キャリブレーションモードにおいて、
前記制御装置は、
所定温度よりも低い温度を目標温度として探索し特定した温度変化点の温度である第1温度と、前記所定温度を目標温度として探索し特定した温度変化点の温度である第2温度と、前記所定温度よりも高い温度を目標温度として探索し特定した温度変化点の温度である第3温度と、を取得し、
前記第2温度および前記第1温度と、前記第2温度および前記第3温度と、に基づいて、前記予め決められた位置または前記予め決められた駆動量の設定を調整する請求項5に記載の水栓装置。
【請求項7】
前記キャリブレーションモードにおいて、
前記制御装置は、2点の温度変化点を探索し特定した温度変化点に基づいて、前記予め決められた位置または前記予め決められた駆動量の設定を調整する請求項3に記載の水栓装置。
【請求項8】
前記キャリブレーションモードにおいて、
前記制御装置は、1点の温度変化点を探索し特定した温度変化点に基づいて、前記予め決められた位置または前記予め決められた駆動量の設定を調整する請求項3に記載の水栓装置。
【請求項9】
前記アクチュエータは、モータであり、
前記キャリブレーションモードにおいて、
前記湯水混合部の下流に設けられた温度センサによって吐水温度を検知し、
前記制御装置は、前記モータの駆動量と当該モータが当該駆動量であるときの前記吐水温度とから、前記予め決められた位置または前記予め決められた駆動量の設定を調整する請求項3に記載の水栓装置。
【請求項10】
前記キャリブレーションモードにおいて、
前記湯水混合部の上流に設けられた温度センサによって給湯温度を検知し、
前記制御装置は、前記給湯温度が所定温度以下であるか否かを判定する請求項3に記載の水栓装置。
(【請求項11】以降は省略されています)
発明の詳細な説明
【技術分野】
【0001】
開示の実施形態は、水栓装置に関する。
続きを表示(約 1,600 文字)
【背景技術】
【0002】
従来、SMA(Shape Memory Alloy)サーモバルブをアクチュエータで動作させる電子式温調バルブを備えた水栓装置において、吐水時の吐水温度の調整のため、アクチュエータのフィードバック制御が行われることが知られている(特許文献1参照)。
【先行技術文献】
【特許文献】
【0003】
特開2011-21328号公報
【発明の概要】
【発明が解決しようとする課題】
【0004】
上述した水栓装置において、アクチュエータのフィードバック制御による温度制御と、SMAによる温度調整とが重複して行われると、吐水温度が安定するまでに時間がかかるという問題があった。また、フィードバック制御を行わない場合、現場ごとに給湯路および給水路からの湯温、湯圧、水温および水圧が異なるため、これら条件によってはSMAサーモバルブ自身の自発的な動作では温度調整しきれずに吐水温度が異なってしまうという問題があった。
【0005】
実施形態の一態様は、上記に鑑みてなされたものであって、吐水温度が安定するまでの時間を短縮できるとともに、温度調整の精度を向上できる水栓装置を提供することを目的とする。
【課題を解決するための手段】
【0006】
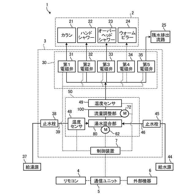
実施形態の一態様に係る水栓装置は、浴室内に向けて吐水を行う吐水部と、前記吐水部に供給する湯水を混合する湯水混合部と、前記湯水混合部を動作させるアクチュエータと、前記アクチュエータの駆動を制御する制御装置と、使用者からの操作で設定温度の情報を前記制御装置に送信する操作部と、を備えた水栓装置であって、前記湯水混合部は、湯流入口、水流入口および混合湯水流出口が形成された本体ケーシングと、混合湯水の温度に応じて変化するとともに、前記湯流入口および前記水流入口の開度を調整可能な感温付勢部と、前記本体ケーシング内において当該本体ケーシングの軸方向に摺動自在に組み込まれ、前記湯流入口および前記水流入口の開度を調整可能な弁体と、を有し、前記制御装置は、前記設定温度の情報を受信した際に、前記設定温度に対応した、予め決められた位置に、または、予め決められた駆動量だけ前記アクチュエータを駆動することで、前記弁体の軸方向の位置の調整を行う吐水モードと、設置された環境および製品ばらつきのうち少なくとも一方に応じて、前記予め決められた位置または前記予め決められた駆動量の設定を調整するキャリブレーションモードと、を実行可能である。
【0007】
水栓装置は、現場ごとに異なる給湯路および給水路からの湯温、湯圧、水温および水圧や、SMAサーモバルブの温度調整の個体差を、現場に応じて調整できる。これにより、水栓装置は、設定温度を変更するときにだけ、アクチュエータでSMAサーモバルブを動かし、吐水中はSMAによる温度調整を行うだけで、設定温度に応じた精度の高い温度調整が行える。また、水栓装置は、吐水中に給水または給湯の温度変化や圧力変動があった際の温度が安定するまでの時間を短縮できるという特徴を最大限引き出すことができる。
【0008】
また、水栓装置は、前記湯水混合部の上流または下流に設けられた温度センサを備え、前記キャリブレーションモードは、前記温度センサからの情報に基づいて、前記予め決められた位置または前記予め決められた駆動量の設定を調整する。
【0009】
水栓装置は、キャリブレーションモードに入ると、予め決められた位置または予め決められた駆動量が自動で調整される。これにより、水栓装置は、使用者の使い勝手を向上できる。
【0010】
また、前記キャリブレーションモードは、前記制御装置により、前記吐水部から吐水を行いながら、前記アクチュエータを駆動させて、実行される。
(【0011】以降は省略されています)
この特許をJ-PlatPat(特許庁公式サイト)で参照する
関連特許
TOTO株式会社
浴室
1か月前
TOTO株式会社
浴室
1か月前
TOTO株式会社
洗面器
1か月前
TOTO株式会社
洗面器
1か月前
TOTO株式会社
水栓装置
1か月前
TOTO株式会社
便座装置
1か月前
TOTO株式会社
水栓装置
1か月前
TOTO株式会社
吐水装置
26日前
TOTO株式会社
吐水装置
26日前
TOTO株式会社
吐水装置
26日前
TOTO株式会社
構造部材
26日前
TOTO株式会社
構造部材
26日前
TOTO株式会社
水栓装置
1か月前
TOTO株式会社
水栓装置
1か月前
TOTO株式会社
水栓装置
1か月前
TOTO株式会社
水栓装置
1か月前
TOTO株式会社
水栓装置
1か月前
TOTO株式会社
水栓装置
1か月前
TOTO株式会社
構造部材
21日前
TOTO株式会社
構造部材
21日前
TOTO株式会社
水栓装置
1か月前
TOTO株式会社
便器装置
1か月前
TOTO株式会社
複合材料
1か月前
TOTO株式会社
水洗大便器
1か月前
TOTO株式会社
水洗大便器
2か月前
TOTO株式会社
トイレ装置
28日前
TOTO株式会社
トイレ装置
1か月前
TOTO株式会社
水洗大便器
1か月前
TOTO株式会社
トイレ装置
1か月前
TOTO株式会社
水洗大便器
25日前
TOTO株式会社
トイレ装置
1か月前
TOTO株式会社
水洗大便器
25日前
TOTO株式会社
水洗大便器
25日前
TOTO株式会社
水洗大便器
1か月前
TOTO株式会社
トイレ装置
1か月前
TOTO株式会社
水洗大便器
1か月前
続きを見る
他の特許を見る