TOP
|
特許
|
意匠
|
商標
特許ウォッチ
Twitter
他の特許を見る
公開番号
2025146223
公報種別
公開特許公報(A)
公開日
2025-10-03
出願番号
2024046890
出願日
2024-03-22
発明の名称
洗面器
出願人
TOTO株式会社
代理人
個人
,
個人
,
個人
,
個人
,
個人
,
個人
,
個人
主分類
A47K
1/04 20060101AFI20250926BHJP(家具;家庭用品または家庭用設備;コーヒーひき;香辛料ひき;真空掃除機一般)
要約
【課題】 オーバーフロー流路の形状精度及び/または傾斜精度を高めた洗面器を提供すること。
【解決手段】 本発明は、洗面器であって、ボウル部と、前記ボウル部の後方側において当該ボウル部に開口する排水口と、前記ボウル部の前方側において当該ボウル部に開口するオーバーフロー孔と、前記オーバーフロー孔と前記排水口とを連通させるオーバーフロー流路と、を備え、前記オーバーフロー流路は、焼成物で形成されており、前記オーバーフロー流路の下方壁に、更に下方に延びる足部が設けられていることを特徴とする洗面器である。
【選択図】 図3
特許請求の範囲
【請求項1】
洗面器であって、
ボウル部と、
前記ボウル部の後方側において当該ボウル部に開口する排水口と、
前記ボウル部の前方側において当該ボウル部に開口するオーバーフロー孔と、
前記オーバーフロー孔と前記排水口とを連通させるオーバーフロー流路と、
を備え、
前記オーバーフロー流路は、焼成物で形成されており、
前記オーバーフロー流路の下方壁に、更に下方に延びる足部が設けられている
ことを特徴とする洗面器。
続きを表示(約 750 文字)
【請求項2】
前記足部は、前後方向に離れた2つの領域に設けられている
ことを特徴とする請求項1に記載の洗面器。
【請求項3】
前記2つの領域は、前後方向に前記オーバーフロー孔を挟む位置にある
ことを特徴とする請求項2に記載の洗面器。
【請求項4】
前記2つの領域の前方側及び後方側の前記足部は、底面が同一高さとなっている一方で、前記前方側の前記足部の高さの方が前記後方側の前記足部の高さよりも高くなっていて、前記オーバーフロー流路の前記下方壁を前方側から後方側に向けて下り傾斜になっている
ことを特徴とする請求項3に記載の洗面器。
【請求項5】
前記2つの領域のうちの前方側の前記足部は、当該洗面器の前面の一部を構成している
ことを特徴とする請求項4に記載の洗面器。
【請求項6】
当該洗面器は、一部がカウンターからはみ出すように設置可能であって、設置時に前記カウンターからはみ出すようになっているはみ出し部を更に備え、
前記ボウル部の一部が、前記はみ出し部にまで及んでおり、
前記オーバーフロー孔は、前記はみ出し部において前記ボウル部に開口している
ことを特徴とする請求項1乃至5のいずれかに記載の洗面器。
【請求項7】
前記足部は、前記はみ出し部に設けられている
ことを特徴とする請求項6に記載の洗面器。
【請求項8】
前記オーバーフロー流路の前記下方壁は、前記はみ出し部に位置する領域における前後方向の傾斜の方が、前記カウンターの上方に位置する領域における前後方向の傾斜よりも、小さい
ことを特徴とする請求項7に記載の洗面器。
発明の詳細な説明
【技術分野】
【0001】
本発明は、ボウル部を有する洗面器に関する。
続きを表示(約 1,300 文字)
【背景技術】
【0002】
従来から、ボウル部を有する洗面器は、幅広く利用されている。
【0003】
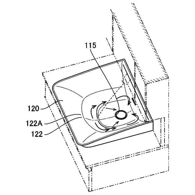
例えば、特許文献1(特開2021-80720号公報)には、図6及び図7(特許文献1の図14及び図17に対応する図であるが、2桁の参照符号には「100」を加えている)に示すように、排水口115が形成された底鉢面部114と、当該底鉢面部114に対して前方に設けられ前側に位置する端縁と前記排水口115の間の距離が前記排水口115から左右に離れると大きくなるように形成された前鉢面部120と、を有するボウル部110を備え、前記前鉢面部120は左右方向に延びた凸面122Aを有する凸部122が設けられており、前記前鉢面部120は前記凸面122Aの頂部よりも下側にオーバーフロー孔241が形成されている洗面器が記載されている。
【0004】
特許文献1に記載された洗面器によれば、前方から手を入れやすく、飛沫が凸部122を超えて前方鉢外へ飛びにくい(引用文献1の段落0048参照)。また、前方に向かう水をオーバーフロー孔241から逃がすことができ、飛沫が凸部122を超えて前鉢面部前方へ飛びにくい(引用文献1の段落0059参照)。更に、特許文献1に記載された洗面器は、飛沫が飛びにくいために使い勝手が良いことに加えて、意匠性も高い。
【先行技術文献】
【特許文献】
【0005】
特開2021-80720号公報
【発明の概要】
【発明が解決しようとする課題】
【0006】
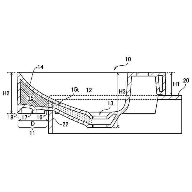
本件発明者は、焼成によって形成される焼成物(例えば陶器)からなる洗面器において、オーバーフロー流路の形状精度を高めることについて、鋭意検討を重ねてきた。
【0007】
そして、オーバーフロー流路の下方壁に更に下方に延びる足部を設けておくことで、当該足部が焼成時の重量負荷を担うことができ、ひいては、オーバーフロー流路の下方壁自体に焼成時の不所望な方向の重量負荷が作用してオーバーフロー流路の形状精度が低下してしまうことを効果的に防止することができることを知見した。
【0008】
更に、本件発明者は、そのような足部を設けておくことで、オーバーフロー流路の傾斜具合の調整も容易になり得ることを知見した。
【0009】
本発明は、以上のような知見に基づいて創案されたものである。本発明の目的は、オーバーフロー流路の形状精度及び/または傾斜精度を高めた洗面器を提供することである。
【課題を解決するための手段】
【0010】
本発明は、洗面器であって、ボウル部と、前記ボウル部の後方側において当該ボウル部に開口する排水口と、前記ボウル部の前方側において当該ボウル部に開口するオーバーフロー孔と、前記オーバーフロー孔と前記排水口とを連通させるオーバーフロー流路と、を備え、前記オーバーフロー流路は、焼成物で形成されており、前記オーバーフロー流路の下方壁に、更に下方に延びる足部が設けられていることを特徴とする洗面器である。
(【0011】以降は省略されています)
特許ウォッチbot のツイートを見る
この特許をJ-PlatPat(特許庁公式サイト)で参照する
関連特許
TOTO株式会社
洗面器
1か月前
TOTO株式会社
洗面器
1か月前
TOTO株式会社
構造部材
1か月前
TOTO株式会社
水栓装置
2か月前
TOTO株式会社
吐水装置
1か月前
TOTO株式会社
構造部材
1か月前
TOTO株式会社
構造部材
1か月前
TOTO株式会社
吐水装置
1か月前
TOTO株式会社
吐水装置
1か月前
TOTO株式会社
構造部材
1か月前
TOTO株式会社
水栓装置
2か月前
TOTO株式会社
水栓装置
2か月前
TOTO株式会社
水栓装置
2か月前
TOTO株式会社
水栓装置
2か月前
TOTO株式会社
水栓装置
2日前
TOTO株式会社
水栓装置
2か月前
TOTO株式会社
水栓装置
2か月前
TOTO株式会社
水栓装置
2か月前
TOTO株式会社
水栓装置
2か月前
TOTO株式会社
複合材料
2か月前
TOTO株式会社
便器装置
2か月前
TOTO株式会社
水洗大便器
1か月前
TOTO株式会社
トイレ装置
1か月前
TOTO株式会社
トイレ装置
1か月前
TOTO株式会社
水洗大便器
2か月前
TOTO株式会社
水洗大便器
1か月前
TOTO株式会社
水洗大便器
1か月前
TOTO株式会社
水洗大便器
1か月前
TOTO株式会社
静電チャック
1か月前
TOTO株式会社
浴室システム
1か月前
TOTO株式会社
浴室システム
1か月前
TOTO株式会社
静電チャック
1か月前
TOTO株式会社
静電チャック
1か月前
TOTO株式会社
静電チャック
1か月前
TOTO株式会社
静電チャック
1か月前
TOTO株式会社
静電チャック
1か月前
続きを見る
他の特許を見る