TOP
|
特許
|
意匠
|
商標
特許ウォッチ
Twitter
他の特許を見る
10個以上の画像は省略されています。
公開番号
2025139959
公報種別
公開特許公報(A)
公開日
2025-09-29
出願番号
2024039069
出願日
2024-03-13
発明の名称
静電チャック
出願人
TOTO株式会社
代理人
個人
,
個人
,
個人
,
個人
主分類
H01L
21/683 20060101AFI20250919BHJP(基本的電気素子)
要約
【課題】処理中における基板の面内温度分布のばらつきを抑制することのできる静電チャック、を提供する。
【解決手段】静電チャック10は、誘電体基板100と、線状に引き回された導体であって、外部から電力の供給を受けて発熱し誘電体基板100を加熱する発熱部351と、誘電体基板100を支持するベースプレート200と、を備える。上面視において、発熱部351は、ベースプレート200のうち誘電体基板100側の面210、に形成された開口と重なる円形の第1領域D1と、上記開口と重ならない円形の第2領域D2と、のそれぞれを通らない経路に沿って引き回されており、第1領域D1が第2領域D2よりも大きい。
【選択図】図8
特許請求の範囲
【請求項1】
被吸着物が載置される載置面を有する誘電体基板と、
線状に引き回された導体であって、外部から電力の供給を受けて発熱し前記誘電体基板を加熱する発熱部と、
前記誘電体基板を支持するベースプレートと、を備え、
前記載置面に対し垂直な方向から見た場合において、
前記発熱部は、
前記ベースプレートのうち前記誘電体基板側の面、に形成された開口と重なる円形の第1領域と、
前記開口と重ならない円形の第2領域と、のそれぞれを通らない経路に沿って引き回されており、
前記第1領域が前記第2領域よりも大きいことを特徴とする静電チャック。
続きを表示(約 200 文字)
【請求項2】
前記発熱部は、
前記載置面に対し垂直な方向から見た場合において、前記第1領域及び前記第2領域のそれぞれを通らない経路に沿って引き回されている第1発熱部と、
前記第1発熱部よりも前記載置面側となる位置に配置された第2発熱部と、を含み、
前記第2領域の内側を貫く経路で前記第2発熱部への給電が行われることを特徴とする、請求項1に記載の静電チャック。
発明の詳細な説明
【技術分野】
【0001】
本発明は静電チャックに関する。
続きを表示(約 1,700 文字)
【背景技術】
【0002】
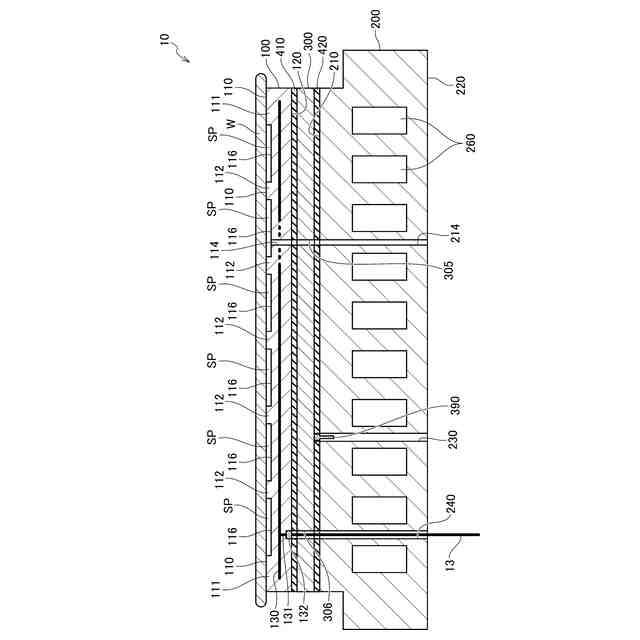
例えばエッチング装置等の半導体製造装置には、処理の対象となるシリコンウェハ等の基板を吸着し保持するための装置として、静電チャックが設けられる。静電チャックは、吸着電極が設けられた誘電体基板を有する。吸着電極に電圧が印加されると静電力が生じ、誘電体基板上に載置された基板が吸着され保持される。
【0003】
基板の処理中においては、基板の面内温度分布を可能な限り均等とすることが求められる。基板の面内温度分布を高い精度で調整可能とするために、近年ではヒーターを備えた静電チャックも開発され、既に実用化されている。ヒーターは、例えば下記特許文献1に記載されているように誘電体基板の内部に設けられることもあるが、ユニット化された状態で誘電体基板の外側に設けられることもある。いずれの構成においても、ヒーターは、線状に引き回された導体である発熱部を有する。
【先行技術文献】
【特許文献】
【0004】
特開2018-120910号公報
【発明の概要】
【発明が解決しようとする課題】
【0005】
外部からの電力が発熱部に供給されると、発熱部ではジュール熱が生じる。誘電体基板の各部を均等に加熱できるよう、発熱部は、上面視において各部の線幅や間隔が可能な限り均等となるような経路に沿って引き回される。
【0006】
しかしながら、一部においては、発熱部を引き回すことのできない領域や、発熱部を引き回すことが適切でない領域も存在し得る。例えば、ベースプレートやヒーターを貫くように貫通穴が形成されている場合には、当該貫通穴を包含する円形の領域を避けるような経路に沿って、発熱部を引き回す必要がある。
【0007】
発熱部を引き回さない領域を広く設定し過ぎた場合には、当該領域の直上において、基板の温度が局所的に低下してしまう可能性が有る。一方、ベースプレートに形成された開口と上面視で重なる範囲において、発熱部を引き回さない領域を狭く設定し過ぎた場合には、当該領域の直上において、基板の温度が局所的に上昇してしまう可能性も有る。基板の面内温度分布のばらつきを抑制するために、発熱部を引き回さない領域をどのような大きさに設定すべきかについて、従来、具体的な検討がなされていなかった。
【0008】
本発明はこのような課題に鑑みてなされたものであり、その目的は、処理中における基板の面内温度分布のばらつきを抑制することのできる静電チャック、を提供することにある。
【課題を解決するための手段】
【0009】
上記課題を解決するために、本発明に係る静電チャックは、被吸着物が載置される載置面を有する誘電体基板と、線状に引き回された導体であって、外部から電力の供給を受けて発熱し誘電体基板を加熱する発熱部と、誘電体基板を支持するベースプレートと、を備える。載置面に対し垂直な方向から見た場合において、発熱部は、ベースプレートのうち誘電体基板側の面、に形成された開口と重なる円形の第1領域と、開口と重ならない円形の第2領域と、のそれぞれを通らない経路に沿って引き回されており、第1領域が第2領域よりも大きい。
【0010】
誘電体基板のうち、ベースプレートに形成された開口の直上の部分は、ベースプレートへの熱引きが行われないため、他の部分に比べて比較的温度が上昇しやすい。そこで、上記構成の静電チャックでは、上記のように熱引きが行われにくい部分を包含する円形の第1領域を、それ以外の位置にある円形の第2領域よりも大きく設定した上で、第1領域及び第2領域のそれぞれを通らない経路に沿って発熱部を引き回すこととしている。熱引きが行われにくい部分を、広く避けるような経路に沿って発熱部を引き回すことにより、当該部分における局所的な温度上昇を抑制することができる。その結果、処理中における基板の面内温度分布のばらつきを抑制することができる。
【発明の効果】
(【0011】以降は省略されています)
この特許をJ-PlatPat(特許庁公式サイト)で参照する
関連特許
TOTO株式会社
洗面器
25日前
TOTO株式会社
洗面器
25日前
TOTO株式会社
吐水装置
19日前
TOTO株式会社
構造部材
14日前
TOTO株式会社
構造部材
14日前
TOTO株式会社
構造部材
19日前
TOTO株式会社
構造部材
19日前
TOTO株式会社
吐水装置
19日前
TOTO株式会社
吐水装置
19日前
TOTO株式会社
トイレ装置
21日前
TOTO株式会社
水洗大便器
18日前
TOTO株式会社
水洗大便器
18日前
TOTO株式会社
水洗大便器
18日前
TOTO株式会社
水洗大便器
18日前
TOTO株式会社
トイレ装置
25日前
TOTO株式会社
水まわり部材
19日前
TOTO株式会社
排水システム
19日前
TOTO株式会社
排水システム
19日前
TOTO株式会社
水まわり部材
19日前
TOTO株式会社
水洗大便器装置
18日前
TOTO株式会社
水洗大便器装置
18日前
TOTO株式会社
水洗大便器装置
18日前
TOTO株式会社
水洗大便器装置
18日前
TOTO株式会社
水洗大便器装置
18日前
TOTO株式会社
トイレシステム
18日前
TOTO株式会社
ミスト発生装置
19日前
TOTO株式会社
衛生評価システム
19日前
TOTO株式会社
健康管理システム
19日前
TOTO株式会社
姿勢評価システム
19日前
TOTO株式会社
健康管理システム
14日前
TOTO株式会社
支援装置及び支援プログラム
19日前
TOTO株式会社
トイレシステム及びトイレ装置
19日前
TOTO株式会社
管理システム及びトイレ機器管理装置
18日前
TOTO株式会社
清掃ガイドシステムおよび清掃ガイド方法
25日前
TOTO株式会社
トイレシステム、表示方法及び表示プログラム
19日前
TOTO株式会社
携帯情報端末の制御システム及び携帯情報端末の制御方法
21日前
続きを見る
他の特許を見る