TOP
|
特許
|
意匠
|
商標
特許ウォッチ
Twitter
他の特許を見る
公開番号
2025136982
公報種別
公開特許公報(A)
公開日
2025-09-19
出願番号
2024035935
出願日
2024-03-08
発明の名称
水栓装置
出願人
TOTO株式会社
代理人
弁理士法人酒井国際特許事務所
主分類
E03C
1/044 20060101AFI20250911BHJP(上水;下水)
要約
【課題】弁を正確に調整すること。
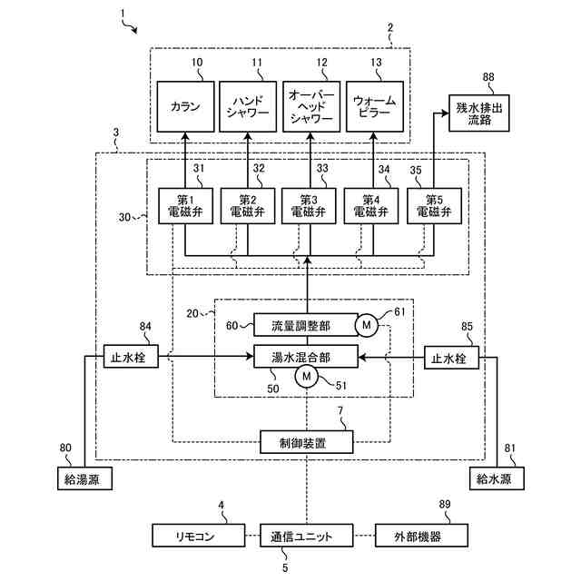
【解決手段】実施形態に係る水栓装置は、吐水部から吐水される湯水を調整する調整弁と、調整弁を駆動させるモータと、モータの駆動を制御することで、調整弁の駆動位置を制御する制御装置と、使用者による湯水の調整操作を受け付け、調整操作に応じた操作信号を制御装置に送信する操作部とを備える。制御装置は、モータを反転駆動させる場合、調整操作に応じて設定されるモータの基本駆動量に、補正駆動量を加算した駆動量によってモータを駆動する。制御装置は、補正駆動量を計測し、更新する補正量調整機能を有する。
【選択図】図9
特許請求の範囲
【請求項1】
吐水部から吐水される湯水を調整する調整弁と、
前記調整弁を駆動させるモータと、
前記モータの駆動を制御することで、前記調整弁の駆動位置を制御する制御装置と、
使用者による湯水の調整操作を受け付け、前記調整操作に応じた操作信号を前記制御装置に送信する操作部と
を備え、
前記制御装置は、
前記モータを反転駆動させる場合、前記調整操作に応じて設定される前記モータの基本駆動量に、補正駆動量を加算した駆動量によって前記モータを駆動し、
前記補正駆動量を計測し、更新する補正量調整機能を有する、水栓装置。
続きを表示(約 840 文字)
【請求項2】
前記調整弁は、湯水の流量を調整する流調弁であり、
前記制御装置は、
前記モータを原点位置に駆動させる原点だし機能を有し、
前記原点だし機能を実行する場合に、前記補正量調整機能を実行する、請求項1に記載の水栓装置。
【請求項3】
前記モータの回動軸に接続され、前記モータの回動軸と共に回動する第1ギアと、前記流調弁に接続され、前記流調弁と共に回動し、前記第1ギアに噛み合う第2ギアとを有し、前記モータによって発生した回転を、前記調整弁に伝達する伝達機構と、
前記第2ギアに設けられた磁石が所定位置にあることを検出するセンサと
を備え、
前記補正駆動量は、前記第1ギアと前記第2ギアとのバックラッシュ量に対応する駆動量であり、
前記制御装置は、前記センサによって前記磁石が前記所定位置にあることが検出された場合に、前記第1ギアを反転駆動させて、前記センサの検出結果が変化する前記モータの駆動量を前記補正駆動量として計測し、更新する、請求項2に記載の水栓装置。
【請求項4】
前記モータはステッピングモータであり、
前記制御装置は、前記モータを駆動する場合には前記モータに通電し、かつ、前記モータを駆動させない待機状態である場合には前記モータに通電しない、請求項1に記載の水栓装置。
【請求項5】
前記制御装置は、前記モータを微小駆動させて前記モータの調整機能を実行する場合には、前記モータの通電を維持する、請求項4に記載の水栓装置。
【請求項6】
前記調整弁は、
湯水の温度を調整する温調弁を含み、
前記制御装置は、
前記温調弁を駆動させるモータの駆動位置を、湯水の温度に対して調整するキャリブレーション機能を有し、
前記キャリブレーション機能の実行中、前記モータの通電を維持する、請求項4に記載の水栓装置。
発明の詳細な説明
【技術分野】
【0001】
開示の実施形態は、水栓装置に関する。
続きを表示(約 1,100 文字)
【背景技術】
【0002】
従来、モータによって弁の開度を調整し、流量を調整可能な水栓装置が知られている(たとえば、特許文献1参照)。
【先行技術文献】
【特許文献】
【0003】
特開2020-7821号公報
【発明の概要】
【発明が解決しようとする課題】
【0004】
モータの駆動方向、すなわち、モータの回転方向が逆転する反転駆動時には、モータから弁までの経路において、動力が伝達されない不感領域が生じることがある。たとえば、モータから弁までの経路において、ギアが設けられた場合、バックラッシュによって、モータの回転が、弁に伝達されないことがある。
【0005】
そのため、従来技術では、モータが反転駆動する場合には、弁が正確に調整されないおそれがある。
【0006】
実施形態の一態様は、弁を正確に調整する水栓装置を提供することを目的とする。
【課題を解決するための手段】
【0007】
実施形態の一態様に係る水栓装置は、吐水部から吐水される湯水を調整する調整弁と、調整弁を駆動させるモータと、モータの駆動を制御することで、調整弁の駆動位置を制御する制御装置と、使用者による湯水の調整操作を受け付け、調整操作に応じた操作信号を制御装置に送信する操作部とを備える。制御装置は、モータを反転駆動させる場合、調整操作に応じて設定されるモータの基本駆動量に、補正駆動量を加算した駆動量によってモータを駆動する。制御装置は、補正駆動量を計測し、更新する補正量調整機能を有する。
【0008】
これにより、水栓装置は、モータが反転駆動する場合に、補正駆動量を加算した駆動量によってモータを駆動させることができ、調整弁の駆動位置を正確に調整することができる。また、水栓装置は、補正駆動量を更新することができ、更新した補正駆動量に基づいて、モータを駆動することで、調整弁の駆動位置を正確に調整することができる。
【0009】
また、調整弁は、湯水の流量を調整する流調弁である。制御装置は、モータを原点位置に駆動させる原点だし機能を有し、原点だし機能を実行する場合に、補正量調整機能を実行する。
【0010】
これにより、水栓装置は、湯水の流量を正確に調整することができる。また、水栓装置は、一定期間毎に必要となる原点だし機能の実行と同時に、補正駆動量を更新することで、通常動作の中でタイムリーに補正駆動量を正確に計測し、更新することができる。
(【0011】以降は省略されています)
この特許をJ-PlatPat(特許庁公式サイト)で参照する
関連特許
TOTO株式会社
浴室
20日前
TOTO株式会社
浴室
20日前
TOTO株式会社
水栓装置
11日前
TOTO株式会社
水栓装置
11日前
TOTO株式会社
水栓装置
11日前
TOTO株式会社
水栓装置
11日前
TOTO株式会社
水栓装置
11日前
TOTO株式会社
便器装置
20日前
TOTO株式会社
水栓装置
11日前
TOTO株式会社
便座装置
20日前
TOTO株式会社
水栓装置
11日前
TOTO株式会社
複合材料
12日前
TOTO株式会社
水栓装置
11日前
TOTO株式会社
水栓装置
11日前
TOTO株式会社
水洗大便器
20日前
TOTO株式会社
水洗大便器
27日前
TOTO株式会社
水洗大便器
20日前
TOTO株式会社
トイレ装置
20日前
TOTO株式会社
トイレ装置
20日前
TOTO株式会社
トイレ装置
20日前
TOTO株式会社
水洗大便器
20日前
TOTO株式会社
水洗大便器
20日前
TOTO株式会社
浴室システム
20日前
TOTO株式会社
静電チャック
21日前
TOTO株式会社
浴室ユニット
20日前
TOTO株式会社
浴室システム
1日前
TOTO株式会社
浴室システム
20日前
TOTO株式会社
静電チャック
21日前
TOTO株式会社
静電チャック
21日前
TOTO株式会社
静電チャック
1日前
TOTO株式会社
浴室システム
1日前
TOTO株式会社
静電チャック
1日前
TOTO株式会社
静電チャック
1日前
TOTO株式会社
静電チャック
1日前
TOTO株式会社
静電チャック
1日前
TOTO株式会社
静電チャック
1日前
続きを見る
他の特許を見る