TOP
|
特許
|
意匠
|
商標
特許ウォッチ
Twitter
他の特許を見る
公開番号
2025146222
公報種別
公開特許公報(A)
公開日
2025-10-03
出願番号
2024046889
出願日
2024-03-22
発明の名称
洗面器
出願人
TOTO株式会社
代理人
個人
,
個人
,
個人
,
個人
,
個人
,
個人
,
個人
主分類
A47K
1/04 20060101AFI20250926BHJP(家具;家庭用品または家庭用設備;コーヒーひき;香辛料ひき;真空掃除機一般)
要約
【課題】 設置空間の空間利用効率を上げることができる一方で、十分なボウル部のサイズを確保でき且つ意匠性も高い洗面器を提供すること。
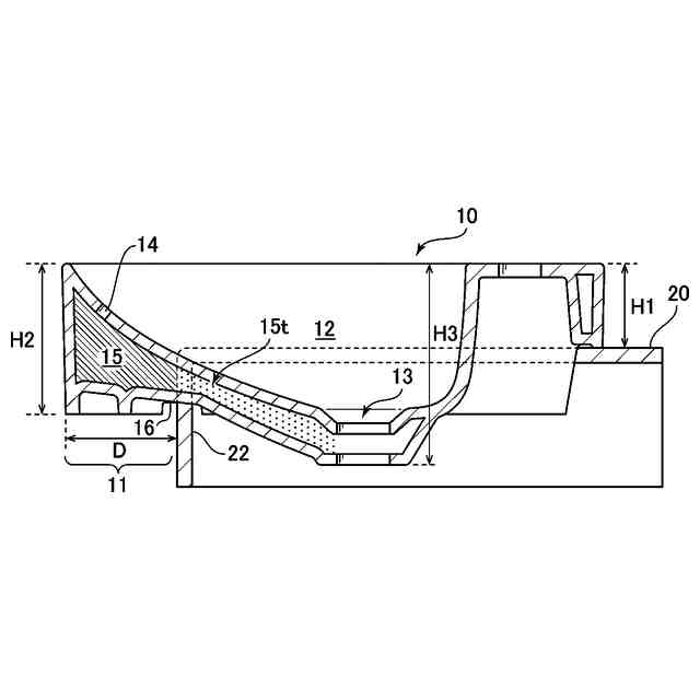
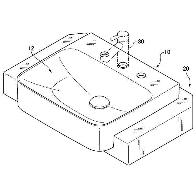
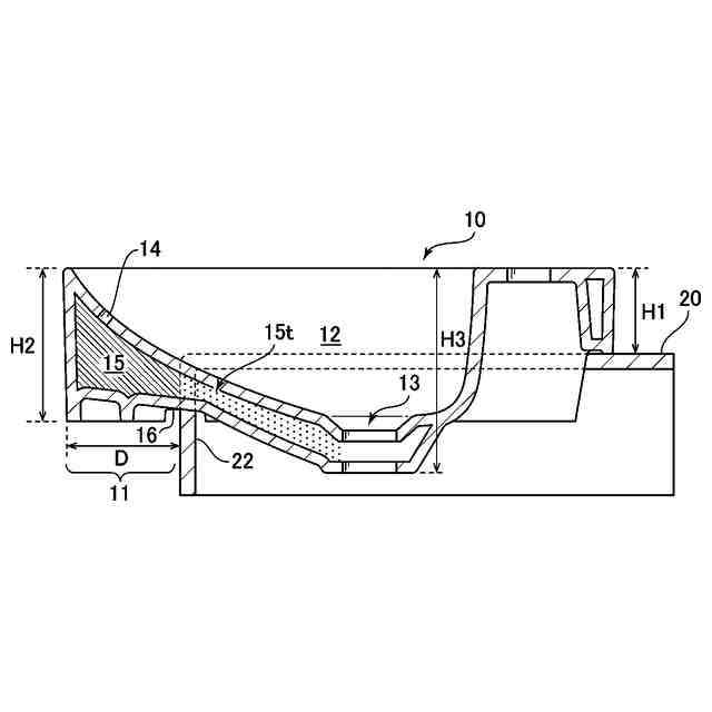
【解決手段】 本発明は、一部がカウンターからはみ出すように設置される洗面器であって、設置時に前記カウンターからはみ出すようになっているはみ出し部と、一部が前記はみ出し部にまで及んでいるボウル部と、前記ボウル部の後方側において当該ボウル部に開口する排水口と、前記はみ出し部において前記ボウル部に開口するオーバーフロー孔と、を備えたことを特徴とする洗面器である。
【選択図】 図3
特許請求の範囲
【請求項1】
一部がカウンターからはみ出すように設置される洗面器であって、
設置時に前記カウンターからはみ出すようになっているはみ出し部と、
一部が前記はみ出し部にまで及んでいるボウル部と、
前記ボウル部の後方側において当該ボウル部に開口する排水口と、
前記はみ出し部において前記ボウル部に開口するオーバーフロー孔と、
を備えたことを特徴とする洗面器。
続きを表示(約 820 文字)
【請求項2】
前記はみ出し部は、設置時に前記カウンターの洗面器載置部の前方側にはみ出すようになっており、
前記オーバーフロー孔は、前記カウンターの前記洗面器載置部の前方端よりも前方側に位置している
ことを特徴とする請求項1に記載の洗面器。
【請求項3】
前記オーバーフロー孔は、前記カウンターの前記洗面器載置部の上方端よりも上方側に位置している
ことを特徴とする請求項2に記載の洗面器。
【請求項4】
当該洗面器の下面側に、前記カウンターの前記洗面器載置部におけるエプロン部の上端縁に対向する凹部が設けられている
ことを特徴とする請求項2に記載の洗面器。
【請求項5】
前記オーバーフロー孔は、オーバーフロー流路を介して前記排水口と連通しており、
前記オーバーフロー流路は、前後方向に前記はみ出し部側から後方側に向かって、下り傾斜に形成されている
ことを特徴とする請求項2に記載の洗面器。
【請求項6】
前記オーバーフロー流路は、前記はみ出し部内に位置する領域における容積の方が、前記洗面器載置部の上方に位置する領域における容積よりも、大きい
ことを特徴とする請求項5に記載の洗面器。
【請求項7】
前記オーバーフロー流路は、前後方向に前記はみ出し部側から後方側に向かう途中に、絞り部が形成されている
ことを特徴とする請求項5に記載の洗面器。
【請求項8】
前記はみ出し部は、設置時に前記カウンターの前記洗面器載置部の前方側に70mm以上はみ出すようになっている
ことを特徴とする請求項2に記載の洗面器。
【請求項9】
前記はみ出し部の前後方向の長さは、当該洗面器の前後方向の長さに対して、15%以上である
ことを特徴とする請求項8に記載の洗面器。
発明の詳細な説明
【技術分野】
【0001】
本発明は、ボウル部を有する洗面器に関する。
続きを表示(約 1,400 文字)
【背景技術】
【0002】
従来から、ボウル部を有する洗面器は、幅広く利用されている。
【0003】
例えば、特許文献1(特開2021-80720号公報)には、図6及び図7(特許文献1の図14及び図17に対応する図であるが、2桁の参照符号には「100」を加えている)に示すように、排水口115が形成された底鉢面部114と、当該底鉢面部114に対して前方に設けられ前側に位置する端縁と前記排水口115の間の距離が前記排水口115から左右に離れると大きくなるように形成された前鉢面部120と、を有するボウル部110を備え、前記前鉢面部120は左右方向に延びた凸面122Aを有する凸部122が設けられており、前記前鉢面部120は前記凸面122Aの頂部よりも下側にオーバーフロー孔241が形成されている洗面器が記載されている。
【0004】
特許文献1に記載された洗面器によれば、前方から手を入れやすく、飛沫が凸部122を超えて前方鉢外へ飛びにくい(引用文献1の段落0048参照)。また、前方に向かう水をオーバーフロー孔241から逃がすことができ、飛沫が凸部122を超えて前鉢面部前方へ飛びにくい(引用文献1の段落0059参照)。更に、特許文献1に記載された洗面器は、飛沫が飛びにくいために使い勝手が良いことに加えて、意匠性も高い。
【先行技術文献】
【特許文献】
【0005】
特開2021-80720号公報
【発明の概要】
【発明が解決しようとする課題】
【0006】
本件発明者は、洗面器を載置するカウンターの平面視での占有面積を縮小することによって、例えばバスルームの空間利用効率を高めることについて、鋭意検討を重ねてきた。
【0007】
そして、洗面器をカウンターから「はみ出す」ように載置することによって、洗面器としての機能(具体的には十分なボウル部のサイズ)を損なうことなく、洗面器の当該「はみ出し」部分の左右に隣接する空間(従来はカウンターの前端部が占めていた)を、例えば隣接する浴室の開閉ドアの軌道等に割り当てることが可能となることを知見した。
【0008】
更に、本件発明者は、オーバーフロー孔を洗面器の「はみ出し」部分に設けることによって、十分なボウル部のサイズを確保することができ、且つ、当該オーバーフロー排出口が当該洗面器の使用者から視認し難くなることで意匠性が高まることをも知見した。
【0009】
本発明は、以上のような知見に基づいて創案されたものである。本発明の目的は、設置空間の空間利用効率を上げることができる一方で、十分なボウル部のサイズを確保でき且つ意匠性も高い洗面器を提供することである。
【課題を解決するための手段】
【0010】
本発明は、一部がカウンターからはみ出すように設置される洗面器であって、設置時に前記カウンターからはみ出すようになっているはみ出し部と、一部が前記はみ出し部にまで及んでいるボウル部と、前記ボウル部の後方側において当該ボウル部に開口する排水口と、前記はみ出し部において前記ボウル部に開口するオーバーフロー孔と、を備えたことを特徴とする洗面器である。
(【0011】以降は省略されています)
この特許をJ-PlatPat(特許庁公式サイト)で参照する
関連特許
TOTO株式会社
洗面器
1か月前
TOTO株式会社
洗面器
1か月前
TOTO株式会社
構造部材
1か月前
TOTO株式会社
吐水装置
1か月前
TOTO株式会社
吐水装置
1か月前
TOTO株式会社
吐水装置
1か月前
TOTO株式会社
構造部材
1か月前
TOTO株式会社
構造部材
1か月前
TOTO株式会社
水栓装置
今日
TOTO株式会社
構造部材
1か月前
TOTO株式会社
水洗大便器
1か月前
TOTO株式会社
水洗大便器
1か月前
TOTO株式会社
水洗大便器
1か月前
TOTO株式会社
水洗大便器
1か月前
TOTO株式会社
トイレ装置
1か月前
TOTO株式会社
トイレ装置
1か月前
TOTO株式会社
排水システム
1か月前
TOTO株式会社
水まわり部材
1か月前
TOTO株式会社
水まわり部材
1か月前
TOTO株式会社
排水システム
1か月前
TOTO株式会社
静電チャック
1か月前
TOTO株式会社
静電チャック
1か月前
TOTO株式会社
静電チャック
1か月前
TOTO株式会社
浴室システム
1か月前
TOTO株式会社
浴室システム
22日前
TOTO株式会社
浴室システム
15日前
TOTO株式会社
静電チャック
1か月前
TOTO株式会社
静電チャック
1か月前
TOTO株式会社
静電チャック
1か月前
TOTO株式会社
静電チャック
1か月前
TOTO株式会社
静電チャック
1か月前
TOTO株式会社
静電チャック
1か月前
TOTO株式会社
浴室システム
15日前
TOTO株式会社
静電チャック
1か月前
TOTO株式会社
浴室システム
1か月前
TOTO株式会社
ミスト発生装置
1か月前
続きを見る
他の特許を見る