TOP
|
特許
|
意匠
|
商標
特許ウォッチ
Twitter
他の特許を見る
公開番号
2025178593
公報種別
公開特許公報(A)
公開日
2025-12-09
出願番号
2024085280
出願日
2024-05-27
発明の名称
吐水制御システム
出願人
TOTO株式会社
代理人
弁理士法人酒井国際特許事務所
主分類
E03C
1/05 20060101AFI20251202BHJP(上水;下水)
要約
【課題】使用者にとって使い勝手の良い吐止水に関する制御を実行すること。
【解決手段】実施形態に係る吐水制御システムは、少なくとも吐水部の吐水領域を撮像する撮像部と、前記撮像部が撮像する画像に関する処理をする画像処理部と、前記撮像部が撮像する画像に基づいて、前記撮像部の状態を判定する状態判定部と、前記吐水部の吐水状態を制御する制御部と、を備え、前記制御部は、前記画像処理部の処理結果に基づく第1モードと、前記状態判定部の判定結果に基づく第2モードとを切替える。
【選択図】図7
特許請求の範囲
【請求項1】
少なくとも吐水部の吐水領域を撮像する撮像部と、
前記撮像部が撮像する画像に関する処理をする画像処理部と、
前記撮像部が撮像する画像に基づいて、前記撮像部の状態を判定する状態判定部と、
前記吐水部の吐水状態を制御する制御部と、
を備え、
前記制御部は、前記画像処理部の処理結果に基づく第1モードと、前記状態判定部の判定結果に基づく第2モードとを切替える
ことを特徴とする吐水制御システム。
続きを表示(約 1,100 文字)
【請求項2】
前記第1モードは、前記画像処理部の処理結果に基づく複数の吐水形態を有し、
前記第2モードは、前記状態判定部の判定結果に基づく複数の吐水形態を有する
ことを特徴とする請求項1に記載の吐水制御システム。
【請求項3】
前記制御部は、前記第1モードにおいて、前記画像処理部の処理結果に基づいた吐水形態を選択して吐水制御を行い、前記第2モードにおいて、前記状態判定部の判定結果に基づいた吐水形態を選択して吐水制御を行う
ことを特徴とする請求項1に記載の吐水制御システム。
【請求項4】
前記画像処理部は、前記第1モードにおいて、前記撮像部により撮像された画像から検出された被撮像物が吐水対象物か否かを判定し、
前記制御部は、前記吐水対象物の状態に基づいて吐水状態を制御する
ことを特徴とする請求項1に記載の吐水制御システム。
【請求項5】
前記画像処理部は、前記第1モードにおいて、前記被撮像物のうち、所定の移動速度があるもの、または吐水領域内にあるものを前記吐水対象物と判定する
ことを特徴とする請求項4に記載の吐水制御システム。
【請求項6】
前記画像処理部は、前記第1モードにおいて、前記吐水対象物の大きさ、種類、前記吐水部の吐水口と前記吐水対象物との距離のうち少なくとも1つに基づいて、前記吐水部からの瞬時吐水流量を制御する
ことを特徴とする請求項4に記載の吐水制御システム。
【請求項7】
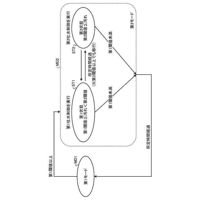
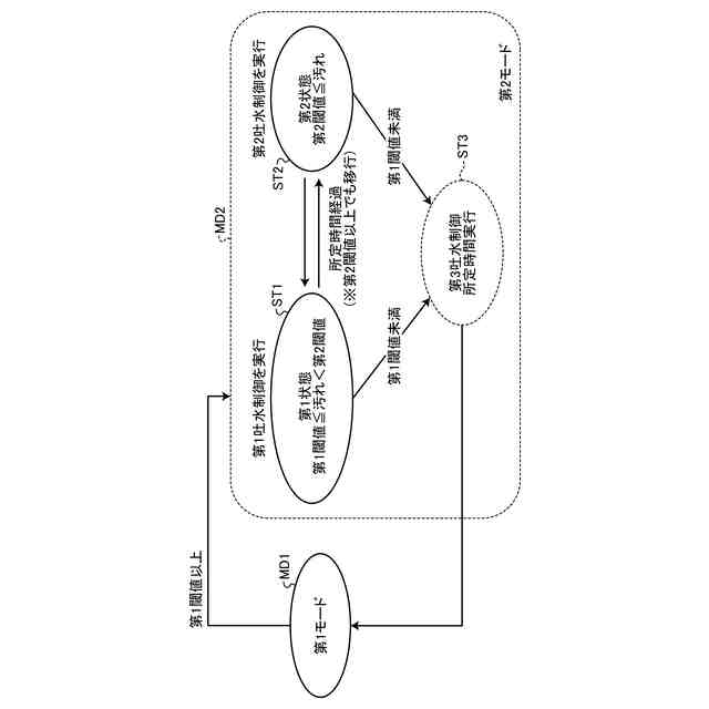
前記制御部は、前記撮像部が撮像した画像に基づいて、前記撮像部の汚れが第1閾値以上である場合に、前記第1モードから前記第2モードに切替える
ことを特徴とする請求項1に記載の吐水制御システム。
【請求項8】
前記状態判定部は、前記撮像部の汚れが前記第1閾値よりも大きい第2閾値未満、かつ前記第1閾値以上である場合、第1状態であると判定し、前記撮像部の汚れが前記第2閾値以上である場合、第2状態と判定し、
前記制御部は、前記第2モードにおいて、前記第1状態に対応する第1吐水制御、または前記第2状態に対応する第2吐水制御を実行する
ことを特徴とする請求項7に記載の吐水制御システム。
【請求項9】
前記第2吐水制御は、止水制御である
ことを特徴とする請求項8に記載の吐水制御システム。
【請求項10】
前記制御部は、前記第2モードにおいて、前記第1状態が所定時間以上継続した場合には、前記第2吐水制御を実行する
ことを特徴とする請求項8に記載の吐水制御システム。
(【請求項11】以降は省略されています)
発明の詳細な説明
【技術分野】
【0001】
開示の実施形態は、吐水制御システムに関する。
続きを表示(約 1,700 文字)
【背景技術】
【0002】
従来、吐水制御装置において、撮像装置(撮像部)による撮像結果をもとに、吐水を制御する技術が開示されており、対象物に応じて吐水態様を制御する技術が開示されている(例えば、特許文献1、2参照)。
【先行技術文献】
【特許文献】
【0003】
特開2019-178512号公報
特開2021-117571号公報
特開2009-130700号公報
【発明の概要】
【発明が解決しようとする課題】
【0004】
しかしながら、上述の従来技術は、改善の余地がある。例えば、上述の従来技術では、水回り空間で用いるために撮像部に水滴が付着してしまうことや、傷がついてしまうといった撮像部の状態に応じて撮影不良が発生し得る。この場合、撮像画像から吐水対象物を正確に判定できず、適切に吐水制御システムが動作しない、又は誤作動するなどの不具合が生じ得るため、使用者にとって使い勝手の良い吐止水に関する制御とは言い難い。このように、上述の従来技術には、改善の余地があり、使用者にとって使い勝手の良い吐止水に関する制御を実行することが望まれている。
【0005】
開示の実施形態は、使用者にとって使い勝手の良い吐止水に関する制御を実行する吐水制御システムを提供することを目的とする。
【課題を解決するための手段】
【0006】
実施形態の一態様に係る吐水制御システムは、少なくとも吐水部の吐水領域を撮像する撮像部と、前記撮像部が撮像する画像に関する処理をする画像処理部と、前記撮像部が撮像する画像に基づいて、前記撮像部の状態を判定する状態判定部と、前記吐水部の吐水状態を制御する制御部と、を備え、前記制御部は、前記画像処理部の処理結果に基づく第1モードと、前記状態判定部の判定結果に基づく第2モードとを切替えることを特徴とする。
【0007】
実施形態の一態様に係る吐水制御システムによれば、画像処理部の処理結果に基づく第1モードと、状態判定部の判定結果に基づく第2モードとを切替えることにより、撮像部の状態に応じた吐水制御が可能となり、使用者にとって使い勝手の良い吐止水に関する制御を実行することができる。例えば、撮像部の汚れがある状態で撮像画像に基づいた吐水制御をしてしまうと、使用者が意図していない誤った吐水制御がされてしまう可能性がある。そこで、吐水制御システムは、通常の自動吐水制御をする第1モード(正常状態)から、撮像部の状態(汚れ、傷)に基づいて特殊な吐水制御をする第2モードに切替えることで、撮像部の汚れによって誤吐水が発生することを抑制することができ、使用者にとって使い勝手の良い吐止水に関する制御を実行することができる。
【0008】
実施形態の一態様に係る吐水制御システムにおいて、前記第1モードは、前記画像処理部の処理結果に基づく複数の吐水形態を有し、前記第2モードは、前記状態判定部の判定結果に基づく複数の吐水形態を有する。
【0009】
実施形態の一態様に係る吐水制御システムによれば、第1モード及び第2モードの各々において複数の吐水形態を有することにより、柔軟な吐水の調整が可能となり、使用者にとって使い勝手の良い吐止水に関する制御を実行することができる。例えば、撮像部の汚れが大きい場合及び小さい場合のどちらの場合でも、一律に異常と判定されていきなり止水したりすると、使用者にとって使い勝手が悪くなってしまう場合がある。そこで、例えば、吐水制御システムは、異常時の第2モードでも、その異常程度(汚れの程度等)に応じて複数の吐水制御から選択することで、異常として一律制御によって生じる不便さをなくすことができる。
【0010】
実施形態の一態様に係る吐水制御システムにおいて、前記制御部は、前記第1モードにおいて、前記画像処理部の処理結果に基づいた吐水形態を選択して吐水制御を行い、前記第2モードにおいて、前記状態判定部の判定結果に基づいた吐水形態を選択して吐水制御を行う。
(【0011】以降は省略されています)
この特許をJ-PlatPat(特許庁公式サイト)で参照する
関連特許
TOTO株式会社
構造部材
2か月前
TOTO株式会社
水栓装置
今日
TOTO株式会社
構造部材
1か月前
TOTO株式会社
構造部材
1か月前
TOTO株式会社
水栓装置
21日前
TOTO株式会社
吐水装置
2か月前
TOTO株式会社
吐水装置
2か月前
TOTO株式会社
吐水装置
2か月前
TOTO株式会社
構造部材
2か月前
TOTO株式会社
トイレ装置
2か月前
TOTO株式会社
水洗大便器
2か月前
TOTO株式会社
水洗大便器
2か月前
TOTO株式会社
水洗大便器
2か月前
TOTO株式会社
水洗大便器
2か月前
TOTO株式会社
排水システム
2か月前
TOTO株式会社
排水システム
2か月前
TOTO株式会社
水まわり部材
2か月前
TOTO株式会社
水まわり部材
2か月前
TOTO株式会社
静電チャック
6日前
TOTO株式会社
静電チャック
6日前
TOTO株式会社
浴室システム
1か月前
TOTO株式会社
浴室システム
1か月前
TOTO株式会社
浴室システム
1か月前
TOTO株式会社
静電チャック
7日前
TOTO株式会社
静電チャック
7日前
TOTO株式会社
水洗大便器装置
2か月前
TOTO株式会社
水洗大便器装置
2か月前
TOTO株式会社
トイレシステム
2か月前
TOTO株式会社
水洗大便器装置
2か月前
TOTO株式会社
水洗大便器装置
2か月前
TOTO株式会社
ミスト発生装置
2か月前
TOTO株式会社
水洗大便器装置
2か月前
TOTO株式会社
トイレシステム
今日
TOTO株式会社
トイレシステム
2日前
TOTO株式会社
健康管理システム
1か月前
TOTO株式会社
衛生評価システム
2か月前
続きを見る
他の特許を見る