TOP
|
特許
|
意匠
|
商標
特許ウォッチ
Twitter
他の特許を見る
公開番号
2025176985
公報種別
公開特許公報(A)
公開日
2025-12-05
出願番号
2024083433
出願日
2024-05-22
発明の名称
静電チャック
出願人
TOTO株式会社
代理人
個人
,
個人
,
個人
,
個人
主分類
H01L
21/683 20060101AFI20251128BHJP(基本的電気素子)
要約
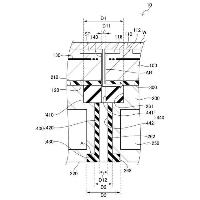
【課題】放電を防止しながらも、冷媒流路の引き回しの自由度を高めることのできる静電チャック、を提供する。
【解決手段】静電チャック10は、貫通穴140が形成された誘電体基板100と、誘電体基板100に接合され、冷媒の通る冷媒流路250が内部に形成されたベースプレート200と、ベースプレート200に固定された部材であって、貫通穴440が、貫通穴140に繋がるように形成されている絶縁部材400と、を備える。絶縁部材400は、誘電体基板100側の端部を含む部分である第1部分410と、第1部分410と隣り合う部分である第2部分420と、を有する。上面視において、第1部分410の外形は第2部分420の外形よりも大きい。
【選択図】図2
特許請求の範囲
【請求項1】
被吸着物が載置される載置面を有し、前記載置面に対し垂直な第1貫通穴が形成された誘電体基板と、
前記誘電体基板に接合され、冷媒の通る冷媒流路が内部に形成されたベースプレートと、
前記ベースプレートに固定された部材であって、前記載置面に対し垂直な第2貫通穴が、前記第1貫通穴に繋がるように形成されている絶縁部材と、を備え、
前記絶縁部材は、
前記誘電体基板側の端部を含む部分である第1部分と、
前記載置面に対し垂直な方向において前記第1部分と隣り合う部分である第2部分と、を有し、
前記載置面に対し垂直な方向から見た場合において、
前記第1部分の外形が前記第2部分の外形よりも大きいことを特徴とする静電チャック。
続きを表示(約 330 文字)
【請求項2】
前記第1部分と前記第2部分とが、互いに別体の部材として構成されていることを特徴とする、請求項1に記載の静電チャック。
【請求項3】
前記絶縁部材は、前記誘電体基板とは反対側の端部を含む部分である第3部分、を更に有し、
前記載置面に対し垂直な方向から見た場合において、前記第3部分の外形は、前記第2部分の外形よりも大きく、
前記第2部分と前記第3部分とが一体の部材として構成されていることを特徴とする、請求項2に記載の静電チャック。
【請求項4】
前記第1部分における前記第2貫通穴の内径が、前記第2部分における前記第2貫通穴の内径よりも小さいことを特徴とする、請求項2に記載の静電チャック。
発明の詳細な説明
【技術分野】
【0001】
本発明は静電チャックに関する。
続きを表示(約 1,300 文字)
【背景技術】
【0002】
例えばエッチング装置のような半導体製造装置には、処理の対象となるシリコンウェハ等の基板を吸着し保持するための装置として、静電チャックが設けられる。静電チャックは、吸着電極が設けられた誘電体基板と、誘電体基板を支持するベースプレートと、を備え、これらが互いに接合された構成を有する。吸着電極に電圧が印加されると静電力が生じ、誘電体基板上に載置された基板が吸着され保持される。
【0003】
エッチング等の処理中においては、基板の温度を適切な温度に維持する必要がある。このため、ベースプレートの内部には、冷媒を通すための冷媒流路が形成される。基板からの熱は、誘電体基板及びベースプレートを介して冷媒へと伝えられ、冷媒と共に外部へと排出される。
【0004】
また、例えば下記特許文献1に記載されているように、静電チャックには、誘電体基板とベースプレートとの全体を貫くよう貫通穴が設けられる。このような貫通穴としては、例えば、リフトピンを挿通するためのリフトピン穴や、シリコンウェハと誘電体基板との間に不活性ガスを供給するためのガス穴等が挙げられる。
【先行技術文献】
【特許文献】
【0005】
特開2005-347559号公報
【発明の概要】
【発明が解決しようとする課題】
【0006】
説明の便宜上、上記貫通穴のうち誘電体基板に設けられている部分のことを、以下では「第1貫通穴」とも称する。また、上記貫通穴のうちベースプレートに設けられている部分のことを、以下では「第2貫通穴」とも称する。
【0007】
第2貫通穴の内面において金属が露出していると、第1貫通穴を通じた経路で放電が生じてしまう可能性がある。このため、第2貫通穴は、ベースプレートに固定された絶縁部材を貫くように形成されることが多い。
【0008】
放電を防止するためには、上面視における絶縁部材の外形は大きい方が好ましい、しかし、絶縁部材の外形を大きくし過ぎると、ベースプレートの内部における冷媒流路の引き回しが制約を受けてしまう。
【0009】
本発明はこのような課題に鑑みてなされたものであり、その目的は、放電を防止しながらも、冷媒流路の引き回しの自由度を高めることのできる静電チャック、を提供することにある。
【課題を解決するための手段】
【0010】
上記課題を解決するために、本発明に係る静電チャックは、被吸着物が載置される載置面を有し、載置面に対し垂直な第1貫通穴が形成された誘電体基板と、誘電体基板に接合され、冷媒の通る冷媒流路が内部に形成されたベースプレートと、ベースプレートに固定された部材であって、載置面に対し垂直な第2貫通穴が、第1貫通穴に繋がるように形成されている絶縁部材と、を備える。絶縁部材は、誘電体基板側の端部を含む部分である第1部分と、載置面に対し垂直な方向において第1部分と隣り合う部分である第2部分と、を有する。載置面に対し垂直な方向から見た場合において、この静電チャックでは、第1部分の外形が第2部分の外形よりも大きい。
(【0011】以降は省略されています)
この特許をJ-PlatPat(特許庁公式サイト)で参照する
関連特許
日機装株式会社
加圧装置
4日前
日新イオン機器株式会社
イオン源
4日前
富士電機株式会社
電磁接触器
19日前
株式会社GSユアサ
蓄電装置
19日前
トヨタ自動車株式会社
蓄電装置
11日前
ホシデン株式会社
複合コネクタ
13日前
個人
電源ボックス及び電子機器
4日前
株式会社トクミ
ケーブル
5日前
株式会社東芝
電子源
4日前
大電株式会社
電線又はケーブル
11日前
矢崎総業株式会社
コネクタ
19日前
ローム株式会社
半導体モジュール
20日前
住友電装株式会社
コネクタ
19日前
矢崎総業株式会社
バスバー
今日
ヒロセ電機株式会社
電気コネクタ
19日前
日本特殊陶業株式会社
アンテナ装置
6日前
三菱電機株式会社
半導体装置
4日前
日本航空電子工業株式会社
コネクタ
4日前
矢崎総業株式会社
端子
11日前
株式会社デンソー
半導体装置
19日前
株式会社パロマ
監視システム
11日前
日本特殊陶業株式会社
アンテナ装置
6日前
トヨタ自動車株式会社
蓄電装置構造
5日前
日本特殊陶業株式会社
アンテナ装置
6日前
株式会社ダイヘン
電圧調整装置
6日前
TDK株式会社
電子部品
6日前
TDK株式会社
電子部品
19日前
株式会社興電舎
励磁突入電流抑制方法
4日前
新電元工業株式会社
半導体装置
19日前
矢崎総業株式会社
バスバー電線
12日前
矢崎総業株式会社
バスバー電線
12日前
矢崎総業株式会社
接合装置
4日前
矢崎総業株式会社
コネクタ
5日前
矢崎総業株式会社
コネクタ
11日前
矢崎総業株式会社
コネクタ
5日前
矢崎総業株式会社
コネクタ
20日前
続きを見る
他の特許を見る