TOP
|
特許
|
意匠
|
商標
特許ウォッチ
Twitter
他の特許を見る
公開番号
2025173647
公報種別
公開特許公報(A)
公開日
2025-11-28
出願番号
2024079283
出願日
2024-05-15
発明の名称
コネクタ
出願人
矢崎総業株式会社
代理人
個人
,
個人
,
個人
主分類
H01R
31/08 20060101AFI20251120BHJP(基本的電気素子)
要約
【課題】接続部材の支持板部に塗布した止水材がタブ部に流れ込んで付着してしまうことをより確実に抑制することが可能なコネクタを提供する。
【解決手段】コネクタ2は、複数のタブ部31を有する導電性金属材料から形成された接続部材8と、接続部材8の一部がインサート成形された樹脂製のハウジング7と、を備える。また、接続部材8は、車両に対して固定される固定板部21と、固定板部21から立ち上げられた支持板部22と、支持板部22に連設され、複数のタブ部31が突出形成されているベース部32と、を有する。そして、支持板部22には、止水材51が塗布される止水材塗布部27が形成されており、止水材塗布部27には、親水部34が形成されている。
【選択図】図12
特許請求の範囲
【請求項1】
複数のタブ部を有する導電性金属材料から形成された接続部材と、
前記接続部材の一部がインサート成形された樹脂製のハウジングと、
を備え、
前記接続部材は、
車両に対して固定される固定板部と、
前記固定板部から立ち上げられた支持板部と、
前記支持板部に連設され、複数の前記タブ部が突出形成されているベース部と、
を有し、
前記支持板部には、止水材が塗布される止水材塗布部が形成されており、
前記止水材塗布部には、親水部が形成されている、
コネクタ。
続きを表示(約 72 文字)
【請求項2】
前記止水材塗布部に微小な凹凸を複数形成することで前記親水部が形成されている、
請求項1に記載のコネクタ。
発明の詳細な説明
【技術分野】
【0001】
本発明は、コネクタに関する。
続きを表示(約 1,700 文字)
【背景技術】
【0002】
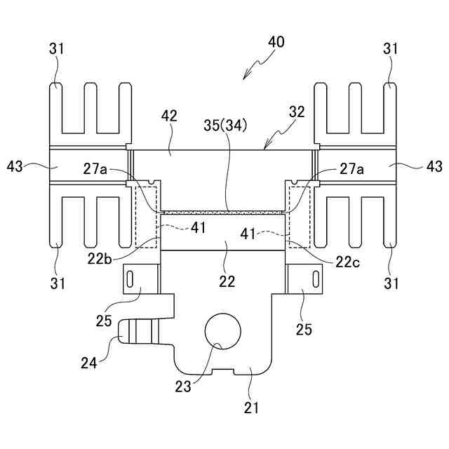
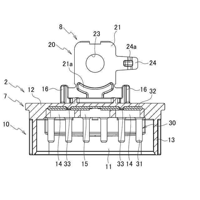
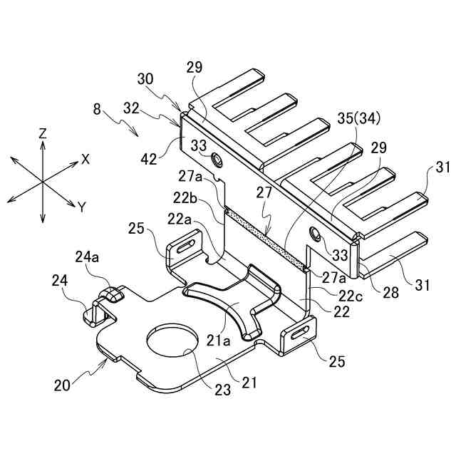
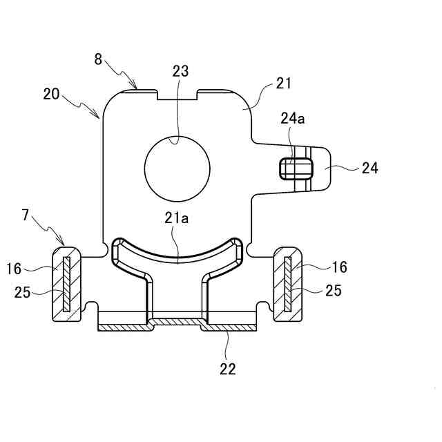
複数本の電線を一括して車両のアース部位に接続するアースジョイントコネクタとして、複数のタブ部を有する導電性金属材料から形成された接続部材が樹脂製のハウジングに一体的に設けられたものがある(特許文献1参照)。この接続部材は、車両に対して固定される固定板部と、固定板部から立ち上げられた支持板部と、支持板部に連設され、複数のタブ部が突出形成されているベース部とを有して構成される。
【先行技術文献】
【特許文献】
【0003】
特開2016-110713号公報
【発明の概要】
【発明が解決しようとする課題】
【0004】
アースジョイントコネクタにおいて、インサート成形後には、接続部材(金属)の体積減少率とハウジング(樹脂)の体積減少率との違いに起因して接続部材とハウジングとの間に微小な隙間が生じ得る。このため、接続部材の支持板部の全周に止水材を塗布して固化させた状態で、その接続部材に対してインサート成形をすることが一般的である。しかしながら、接続部材の支持板部に塗布した止水材の液垂れ等により、止水材がタブ部に流れ込んで付着すると、タブ部の抵抗値が大きくなってしまう。
【0005】
本発明は、このような従来技術が有する課題に鑑みてなされたものである。そして本発明の目的は、接続部材の支持板部に塗布した止水材がタブ部に流れ込んで付着してしまうことをより確実に抑制することが可能なコネクタを提供することにある。
【課題を解決するための手段】
【0006】
本発明の態様に係るコネクタは、複数のタブ部を有する導電性金属材料から形成された接続部材と、前記接続部材の一部がインサート成形された樹脂製のハウジングと、を備え、前記接続部材は、車両に対して固定される固定板部と、前記固定板部から立ち上げられた支持板部と、前記支持板部に連設され、複数の前記タブ部が突出形成されているベース部と、を有し、前記支持板部には、止水材が塗布される止水材塗布部が形成されており、前記止水材塗布部には、親水部が形成されている。
【発明の効果】
【0007】
本発明によれば、接続部材の支持板部に塗布した止水材がタブ部に流れ込んで付着してしまうことをより確実に抑制することが可能なコネクタを提供することができる。
【図面の簡単な説明】
【0008】
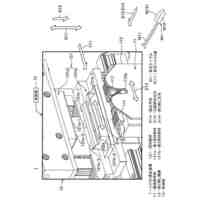
図1は、アースジョイントコネクタの一例を示す分解斜視図である。
図2は、雄コネクタの一例を示す斜視図である。
図3は、雄コネクタの一例を示す正面図である。
図4は、図3のA-A断面図である。
図5は、図3のB-B断面図である。
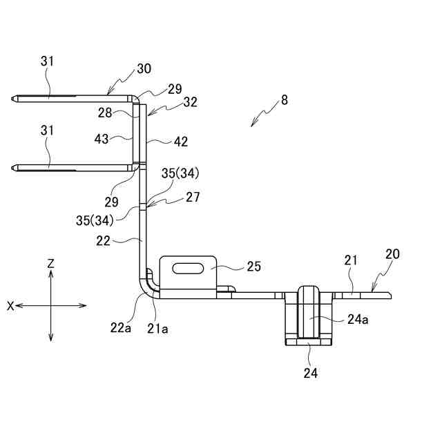
図6は、アース端子部材の斜視図である。
図7は、アース端子部材の側面図である。
図8は、アース端子部材を成形する前のブランク材の概略的な斜視図である。
図9は、アース端子部材を成形する前のブランク材の概略的な平面図である。
図10は、親水部を設けていない止水材塗布部に止水材を塗布した状態の一例を示す図である。
図11は、図10のように止水材を塗布した場合に止水材がタブ部に流れ出てしまうことを説明する図である。
図12は、親水部を設けた止水材塗布部に止水材を塗布した状態の一例を示す図である。
【発明を実施するための形態】
【0009】
以下、図面を用いて本実施形態に係るコネクタについて詳細に説明する。なお、図面の寸法比率は説明の都合上誇張されており、実際の比率と異なる場合がある。
【0010】
図1に示すように、アースジョイントコネクタ1は、コネクタ(雄コネクタ2)と相手側コネクタ(雌コネクタ3)とを組み合わせて構成される。本実施形態に係るコネクタ(雄コネクタ2)には、相手側コネクタ(雌コネクタ3)が嵌合される。
(【0011】以降は省略されています)
この特許をJ-PlatPat(特許庁公式サイト)で参照する
関連特許
矢崎総業株式会社
端子
今日
矢崎総業株式会社
コネクタ
9日前
矢崎総業株式会社
給電装置
1日前
矢崎総業株式会社
コネクタ
8日前
矢崎総業株式会社
コネクタ
8日前
矢崎総業株式会社
電源回路
8日前
矢崎総業株式会社
コネクタ
今日
矢崎総業株式会社
コネクタ
今日
矢崎総業株式会社
コネクタ
1日前
矢崎総業株式会社
連結コネクタ
8日前
矢崎総業株式会社
照明ユニット
2日前
矢崎総業株式会社
バスバー電線
1日前
矢崎総業株式会社
バスバー電線
1日前
矢崎総業株式会社
ワイヤハーネス
1日前
矢崎総業株式会社
電気接点用ばね
今日
矢崎総業株式会社
導電モジュール
今日
矢崎総業株式会社
導電モジュール
8日前
矢崎総業株式会社
端子間接続構造
2日前
矢崎総業株式会社
電池モジュール
今日
矢崎総業株式会社
ワイヤハーネス
今日
矢崎総業株式会社
充電インレット
今日
矢崎総業株式会社
車載制御システム
2日前
矢崎総業株式会社
シールドコネクタ
8日前
矢崎総業株式会社
光ファイバ型センサ
1日前
矢崎総業株式会社
コネクタの製造方法
1日前
矢崎総業株式会社
スライドドア用給電装置
今日
矢崎総業株式会社
スライドドア用給電装置
今日
矢崎総業株式会社
スライドドア用給電装置
今日
矢崎総業株式会社
スライドドア用給電装置
今日
矢崎総業株式会社
接続回路及びその製造方法
1日前
矢崎総業株式会社
検査システム、および検査方法
2日前
矢崎総業株式会社
導体接続構造及びその製造方法
今日
矢崎総業株式会社
導体接続構造及びその製造方法
今日
矢崎総業株式会社
ノイズフィルタ及びワイヤハーネス
2日前
矢崎総業株式会社
ツイスト矯正装置及びツイスト矯正方法
今日
矢崎総業株式会社
アルミニウム合金バスバー及びその製造方法
8日前
続きを見る
他の特許を見る