TOP
|
特許
|
意匠
|
商標
特許ウォッチ
Twitter
他の特許を見る
10個以上の画像は省略されています。
公開番号
2025170482
公報種別
公開特許公報(A)
公開日
2025-11-19
出願番号
2024075073
出願日
2024-05-07
発明の名称
コネクタ
出願人
矢崎総業株式会社
代理人
個人
,
個人
,
個人
主分類
H01R
13/71 20060101AFI20251112BHJP(基本的電気素子)
要約
【課題】組付性を向上することができるコネクタを提供する。
【解決手段】ハウジング3と、ハウジング3に収容された第1導通部材と、ハウジング3に収容され、締結部材の締結により第1導通部材に電気的に接続される第2導通部材と、締結部材が露出するハウジング3の開口部を閉塞可能に組付けられるカバー11と、ハウジング3に収容され、第1導通部材と第2導通部材との導通状態を断続可能なインターロック端子13とを備えたコネクタ1において、カバー11に、カバー11をハウジング3に組付けたときに、インターロック端子13と電気的に接続され、第1導通部材5と第2導通部材7とを導通状態とさせる接続部89を設けた。
【選択図】図7
特許請求の範囲
【請求項1】
ハウジングと、
前記ハウジングに収容された第1導通部材と、
前記ハウジングに収容され、締結部材の締結により前記第1導通部材に電気的に接続される第2導通部材と、
前記締結部材が露出する前記ハウジングの開口部を閉塞可能に組付けられるカバーと、
前記ハウジングに収容され、前記第1導通部材と前記第2導通部材との導通状態を断続可能なインターロック端子と、
を備え、
前記カバーには、前記カバーを前記ハウジングに組付けたときに、前記インターロック端子と電気的に接続され、前記第1導通部材と前記第2導通部材とを導通状態とさせる接続部が設けられているコネクタ。
続きを表示(約 230 文字)
【請求項2】
前記カバーは、係合部を介して前記ハウジングと一体に組付けられている請求項1に記載のコネクタ。
【請求項3】
前記係合部は、前記ハウジングと前記カバーとのうち一方に設けられたピンと、他方に設けられ前記ピンが挿入され前記ピンの移動を案内する案内溝とを有し、
前記案内溝は、前記カバーを前記開口部に対して開閉可能とする開閉部と、前記カバーを前記開口部に対して進退可能とする進退部とを有する請求項2に記載のコネクタ。
発明の詳細な説明
【技術分野】
【0001】
本発明は、コネクタに関する。
続きを表示(約 2,100 文字)
【背景技術】
【0002】
従来、コネクタとしては、ハウジングとしての筐体と、筐体に収容された第1導通部材としての機器側端子と、筐体に収容され、締結部材の締結により機器側端子に電気的に接続される第2導通部材としての電線側端子とを備えている。また、締結部材が露出する筐体の開口部を閉塞可能に組付けられるカバーを備えたものが知られている(特許文献1参照)。
【0003】
このコネクタでは、電線側端子が、筐体に装着される待ち受け側コネクタを構成している。待ち受け側コネクタは、可動側コネクタと嵌合可能となっている。筐体及び待ち受け側コネクタには、機器側端子と電線側端子との導通状態を断続可能なインターロック端子としてのバスバ及び中継端子が収容されている。可動側コネクタには、待ち受け側コネクタと嵌合したときに、中継端子と電気的に接続され、機器側端子と電線側端子とを導通状態とさせる接続部としてのショートピンが設けられている。
【0004】
このようなコネクタでは、例えば、メンテナンスなどによって、機器側端子と電線側端子との電気的な接続を解除する場合、まず、待ち受け側コネクタと可動側コネクタとの嵌合を解除する。このとき、中継端子とショートピンとの電気的な接続が解除され、機器側端子と電線側端子との導通が遮断された状態となり、例えば、作業者の感電を防止することができる。そして、筐体からカバーを取り外し、筐体の開口部から締結部材の締結を解除し、機器側端子と電線側端子との電気的な接続の解除を完了する。
【先行技術文献】
【特許文献】
【0005】
特開2016-213048号公報
【発明の概要】
【発明が解決しようとする課題】
【0006】
ところで、上記特許文献1のようなコネクタでは、締結部材の締結、或いは締結部材の締結解除を行うとき、インターロック端子と接続部との電気的な接続を解除した後、ハウジングからカバーを取り外している。このため、インターロック端子と接続部との電気的な接続を解除していない場合、ハウジングからカバーを取り外しても、第1導通部材と第2導通部材とが導通状態となっている。第1導通部材と第2導通部材との導通状態において、締結部材の締結や締結解除を行うと、感電を引き起こす可能性がある。このため、インターロック端子と接続部との電気的な接続解除を行ったか否かを確認することが必須であり、組付性が低下していた。
【0007】
本発明は、このような従来技術が有する課題に鑑みてなされたものである。そして本発明の目的は、組付性を向上することができるコネクタを提供することにある。
【課題を解決するための手段】
【0008】
本実施形態に係るコネクタは、ハウジングと、前記ハウジングに収容された第1導通部材と、前記ハウジングに収容され、締結部材の締結により前記第1導通部材に電気的に接続される第2導通部材と、前記締結部材が露出する前記ハウジングの開口部を閉塞可能に組付けられるカバーと、前記ハウジングに収容され、前記第1導通部材と前記第2導通部材との導通状態を断続可能なインターロック端子と、を備え、前記カバーには、前記カバーを前記ハウジングに組付けたときに、前記インターロック端子と電気的に接続され、前記第1導通部材と前記第2導通部材とを導通状態とさせる接続部が設けられている。
【発明の効果】
【0009】
本発明によれば、組付性を向上することができるコネクタを提供することができる。
【図面の簡単な説明】
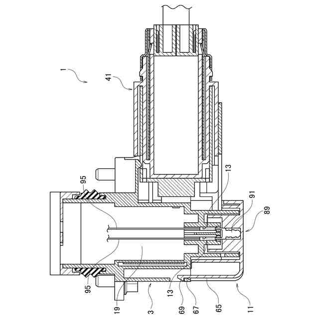
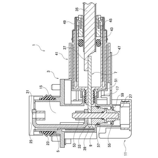
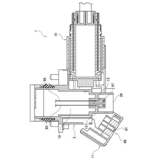
【0010】
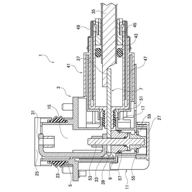
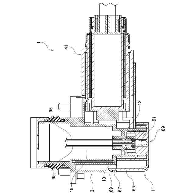
本実施形態に係るコネクタの斜視図である。
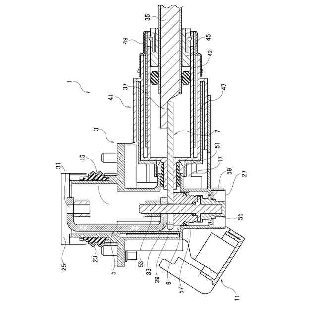
本実施形態に係るコネクタのカバーが開口位置に配置されたときの断面図である。
本実施形態に係るコネクタのカバーが待機位置に配置されたときの断面図である。
本実施形態に係るコネクタのカバーが組付位置に配置されたときの断面図である。
本実施形態に係るコネクタのカバーが開口位置に配置されたときの断面図である。
本実施形態に係るコネクタのカバーが待機位置に配置されたときの断面図である。
本実施形態に係るコネクタのカバーが組付位置に配置されたときの断面図である。
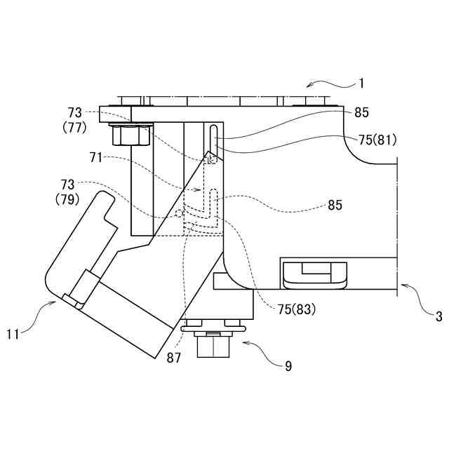
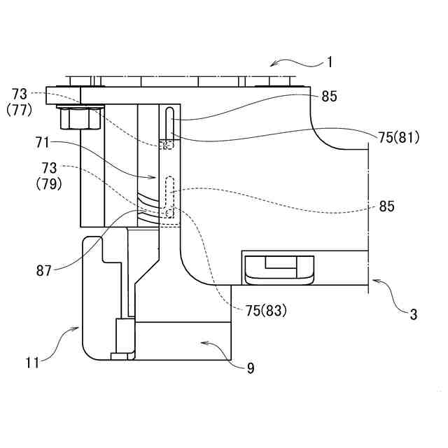
本実施形態に係るコネクタのカバーが開口位置に配置されたときの側面図である。
本実施形態に係るコネクタのカバーが待機位置に配置されたときの側面図である。
本実施形態に係るコネクタのカバーが組付位置に配置されたときの側面図である。
本実施形態に係るコネクタのハウジングの斜視図である。
本実施形態に係るコネクタのハウジングの側面図である。
本実施形態に係るコネクタのハウジングの下面図である。
本実施形態に係るコネクタのカバーの斜視図である。
本実施形態に係るコネクタのカバーの断面図である。
【発明を実施するための形態】
(【0011】以降は省略されています)
この特許をJ-PlatPat(特許庁公式サイト)で参照する
関連特許
矢崎総業株式会社
端子
22日前
矢崎総業株式会社
箱状体
15日前
矢崎総業株式会社
箱状体
1か月前
矢崎総業株式会社
箱状体
1か月前
矢崎総業株式会社
箱状体
15日前
矢崎総業株式会社
箱状体
15日前
矢崎総業株式会社
コネクタ
1か月前
矢崎総業株式会社
コネクタ
1か月前
矢崎総業株式会社
接続構造
15日前
矢崎総業株式会社
バスバー
1か月前
矢崎総業株式会社
コネクタ
1か月前
矢崎総業株式会社
報知装置
29日前
矢崎総業株式会社
照明装置
28日前
矢崎総業株式会社
コネクタ
今日
矢崎総業株式会社
照明装置
22日前
矢崎総業株式会社
照明装置
23日前
矢崎総業株式会社
コネクタ
1か月前
矢崎総業株式会社
照明装置
23日前
矢崎総業株式会社
コネクタ
14日前
矢崎総業株式会社
コネクタ
14日前
矢崎総業株式会社
コネクタ
1か月前
矢崎総業株式会社
コネクタ
1か月前
矢崎総業株式会社
電気接続箱
1か月前
矢崎総業株式会社
電気接続箱
1か月前
矢崎総業株式会社
カバー構造
20日前
矢崎総業株式会社
電気接続箱
1か月前
矢崎総業株式会社
コネクタ構造
29日前
矢崎総業株式会社
画像表示装置
23日前
矢崎総業株式会社
通信ケーブル
12日前
矢崎総業株式会社
フラット導体
1か月前
矢崎総業株式会社
コネクタ構造
29日前
矢崎総業株式会社
コネクタ構造
29日前
矢崎総業株式会社
車両用室内灯
12日前
矢崎総業株式会社
車両用室内灯
12日前
矢崎総業株式会社
端子付き電線
1か月前
矢崎総業株式会社
スイッチ装置
12日前
続きを見る
他の特許を見る