TOP
|
特許
|
意匠
|
商標
特許ウォッチ
Twitter
他の特許を見る
10個以上の画像は省略されています。
公開番号
2025175505
公報種別
公開特許公報(A)
公開日
2025-12-03
出願番号
2024081665
出願日
2024-05-20
発明の名称
端子台
出願人
矢崎総業株式会社
代理人
弁理士法人虎ノ門知的財産事務所
主分類
H01R
9/22 20060101AFI20251126BHJP(基本的電気素子)
要約
【課題】ハウジングがナットから受ける負荷を軽減することができる端子台を提供する。
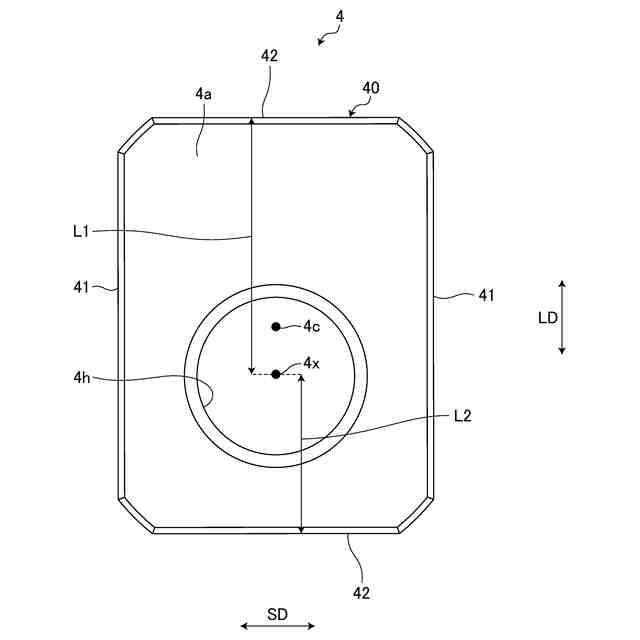
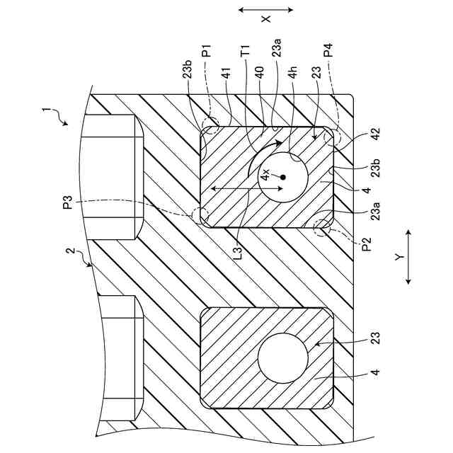
【解決手段】端子台1は、貫通孔を有するバスバと、ねじ穴4hを有するナット4と、バスバを保持する保持部と、ねじ穴を貫通孔と対向させてナットを保持する凹部23と、を有するハウジング2と、凹部に収容されたナットに螺合されるボルトと、を備え、ねじ穴の中心軸線4xの方向から見た場合のナットの形状は、長辺41および短辺42を有する長方形であり、ねじ穴は、ナットの中心に対して長辺の方向に沿った一方側にずれて配置されており、凹部は、長辺と対向してナットの回転を規制する係止面23aを有する。
【選択図】図13
特許請求の範囲
【請求項1】
貫通孔を有するバスバと、
ねじ穴を有するナットと、
前記バスバを保持する保持部と、前記ねじ穴を前記貫通孔と対向させて前記ナットを保持する凹部と、を有するハウジングと、
前記凹部に収容された前記ナットに螺合されるボルトと、
を備え、
前記ねじ穴の中心軸線の方向から見た場合の前記ナットの形状は、長辺および短辺を有する長方形であり、
前記ねじ穴は、前記ナットの中心に対して前記長辺の方向に沿った一方側にずれて配置されており、
前記凹部は、前記長辺と対向して前記ナットの回転を規制する係止面を有する
ことを特徴とする端子台。
続きを表示(約 190 文字)
【請求項2】
前記ナットは、前記長辺および前記短辺を有する長方形の本体と、前記本体から前記中心軸線の方向に突出した突出部と、を有し、
前記ねじ穴は、前記本体および前記突出部に形成されており、
前記ハウジングは、前記凹部に開口する収容孔を有し、
前記ナットは、前記突出部を前記収容孔に挿入した状態で前記凹部に収容される
請求項1に記載の端子台。
発明の詳細な説明
【技術分野】
【0001】
本発明は、端子台に関する。
続きを表示(約 1,800 文字)
【背景技術】
【0002】
従来、二つの導電部材をナットおよびボルトによって共締めする技術がある。特許文献1には、ナットを保持するナット保持部を有するハウジングが開示されている。ハウジングによって保持された導体の端子部は、ボルトおよびナットによって相手方の端子と共締めされる。
【先行技術文献】
【特許文献】
【0003】
特開2021-89881号公報
【発明の概要】
【発明が解決しようとする課題】
【0004】
ナットにボルトが螺合するときに、ハウジングはナットに当接してナットの回転を規制する。このときにハウジングがナットから受ける負荷が大きいと、ハウジングの肉厚を大きくする必要があり、ハウジングの大型化を招いてしまう。
【0005】
本発明の目的は、ハウジングがナットから受ける負荷を軽減することができる端子台を提供することである。
【課題を解決するための手段】
【0006】
本発明の端子台は、貫通孔を有するバスバと、ねじ穴を有するナットと、前記バスバを保持する保持部と、前記ねじ穴を前記貫通孔と対向させて前記ナットを保持する凹部と、を有するハウジングと、前記凹部に収容された前記ナットに螺合されるボルトと、を備え、前記ねじ穴の中心軸線の方向から見た場合の前記ナットの形状は、長辺および短辺を有する長方形であり、前記ねじ穴は、前記ナットの中心に対して前記長辺の方向に沿った一方側にずれて配置されており、前記凹部は、前記長辺と対向して前記ナットの回転を規制する係止面を有することを特徴とする。
【発明の効果】
【0007】
本発明に係る端子台において、ナットの形状は、長辺および短辺を有する長方形であり、ねじ穴は、ナットの中心に対して長辺の方向に沿った一方側にずれて配置されている。ナットを保持する凹部は、長辺と対向してナットの回転を規制する係止面を有する。本発明に係る端子台によれば、係止面に対する長辺の傾斜角度を小さくすることで、ハウジングがナットから受ける負荷を軽減することができるという効果を奏する。
【図面の簡単な説明】
【0008】
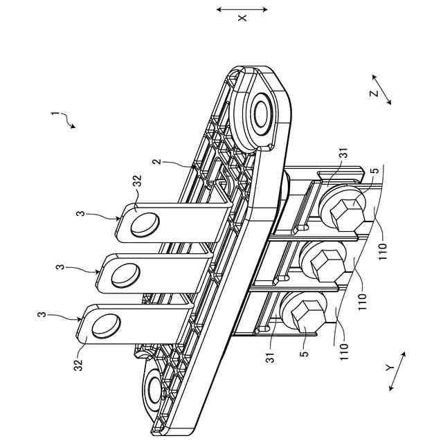
図1は、実施形態に係る端子台の斜視図である。
図2は、実施形態に係る端子台の分解斜視図である。
図3は、実施形態に係るハウジングの斜視図である。
図4は、実施形態に係るハウジングの正面図である。
図5は、実施形態に係るハウジングの断面図である。
図6は、実施形態に係るナットの平面図である。
図7は、実施形態に係るナットの斜視図である。
図8は、ナットを保持したハウジングの正面図である。
図9は、ナットを保持したハウジングの断面図である。
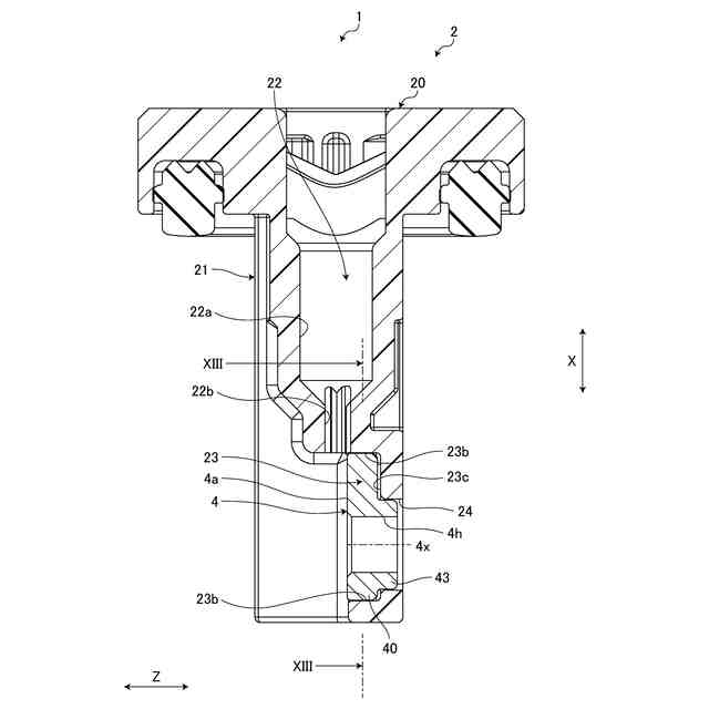
図10は、実施形態に係る端子台の断面図である。
図11は、実施形態に係る端子台の断面図である。
図12は、実施形態に係る端子台の断面図である。
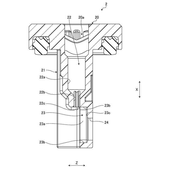
図13は、実施形態に係る端子台の断面図である。
【発明を実施するための形態】
【0009】
以下に、本発明の実施形態に係る端子台につき図面を参照しつつ詳細に説明する。なお、この実施形態によりこの発明が限定されるものではない。また、下記の実施形態における構成要素には、当業者が容易に想定できるものあるいは実質的に同一のものが含まれる。
【0010】
[実施形態]
図1から図13を参照して、実施形態について説明する。本実施形態は、端子台に関する。図1は、実施形態に係る端子台の斜視図、図2は、実施形態に係る端子台の分解斜視図、図3は、実施形態に係るハウジングの斜視図、図4は、実施形態に係るハウジングの正面図、図5は、実施形態に係るハウジングの断面図、図6は、実施形態に係るナットの平面図、図7は、実施形態に係るナットの斜視図、図8は、ナットを保持したハウジングの正面図、図9は、ナットを保持したハウジングの断面図、図10から図13は、実施形態に係る端子台の断面図である。図5には、図4のV-V断面が示されている。図9には、図8のIX-IX断面が示されている。図13には、図9のXIII-XIII断面が示されている。
(【0011】以降は省略されています)
この特許をJ-PlatPat(特許庁公式サイト)で参照する
関連特許
矢崎総業株式会社
端子
1か月前
矢崎総業株式会社
端子
5日前
矢崎総業株式会社
箱状体
29日前
矢崎総業株式会社
端子台
今日
矢崎総業株式会社
端子台
今日
矢崎総業株式会社
端子台
今日
矢崎総業株式会社
端子台
今日
矢崎総業株式会社
箱状体
29日前
矢崎総業株式会社
箱状体
1か月前
矢崎総業株式会社
箱状体
1か月前
矢崎総業株式会社
箱状体
29日前
矢崎総業株式会社
コネクタ
1か月前
矢崎総業株式会社
コネクタ
28日前
矢崎総業株式会社
コネクタ
1か月前
矢崎総業株式会社
コネクタ
1か月前
矢崎総業株式会社
コネクタ
28日前
矢崎総業株式会社
照明装置
1か月前
矢崎総業株式会社
バスバー
1か月前
矢崎総業株式会社
電源回路
13日前
矢崎総業株式会社
照明装置
1か月前
矢崎総業株式会社
コネクタ
13日前
矢崎総業株式会社
照明装置
1か月前
矢崎総業株式会社
コネクタ
13日前
矢崎総業株式会社
コネクタ
14日前
矢崎総業株式会社
コネクタ
6日前
矢崎総業株式会社
給電装置
6日前
矢崎総業株式会社
コネクタ
1か月前
矢崎総業株式会社
コネクタ
5日前
矢崎総業株式会社
コネクタ
2か月前
矢崎総業株式会社
コネクタ
2か月前
矢崎総業株式会社
コネクタ
2か月前
矢崎総業株式会社
コネクタ
2か月前
矢崎総業株式会社
止水部材
2か月前
矢崎総業株式会社
照明構造
2か月前
矢崎総業株式会社
コネクタ
5日前
矢崎総業株式会社
コネクタ
2か月前
続きを見る
他の特許を見る