TOP
|
特許
|
意匠
|
商標
特許ウォッチ
Twitter
他の特許を見る
10個以上の画像は省略されています。
公開番号
2025145873
公報種別
公開特許公報(A)
公開日
2025-10-03
出願番号
2024046348
出願日
2024-03-22
発明の名称
コネクタ
出願人
矢崎総業株式会社
代理人
弁理士法人虎ノ門知的財産事務所
主分類
H01R
13/64 20060101AFI20250926BHJP(基本的電気素子)
要約
【課題】レバー及び位置保証部材を備えながらコンパクトに構成することができるコネクタを提供する。
【解決手段】コネクタ1は、電線Wに取り付けられる端子を保持し、相手方コネクタ90に接続されるハウジング2と、ハウジング2に対し回動可能に取り付けられ、回動することによりハウジング2を相手方コネクタ90側へ移動させるレバー3と、レバー3に取り付けられる位置保証部材4と、を備え、レバー3は、ハウジング2の側部に回転可能に取り付けられハウジング2を挟んで離間して設けられる二つのアーム部31と、二つのアーム部31の間に架設される架設部32と、を有し、位置保証部材4は、架設部32に対し仮係止位置から本係止位置まで移動可能に取り付けられ、ハウジング2が相手方コネクタ90に適正に嵌合している状態で本係止位置に移動可能とされるように構成されている。
【選択図】図1
特許請求の範囲
【請求項1】
電線に取り付けられる端子を保持し、相手方コネクタに接続されるハウジングと、
前記ハウジングに対し回動可能に取り付けられ、回動することにより前記ハウジングを前記相手方コネクタ側へ移動させるレバーと、
前記レバーに取り付けられる位置保証部材と、を備え、
前記レバーは、前記ハウジングの側部に回転可能に取り付けられ前記ハウジングを挟んで離間して設けられる二つのアーム部と、前記二つのアーム部の間に架設される架設部と、を有し、
前記位置保証部材は、前記架設部に対し仮係止位置から本係止位置まで移動可能に取り付けられ、前記ハウジングが前記相手方コネクタに適正に嵌合している状態で前記本係止位置に移動可能とされる、
コネクタ。
続きを表示(約 310 文字)
【請求項2】
前記位置保証部材は、前記架設部の中央部分に取り付けられている、
請求項1に記載のコネクタ。
【請求項3】
前記ハウジングは、本体部と前記位置保証部材との間に設けられ前記位置保証部材と係合する係止部を有し、
前記係止部は、前記相手方コネクタとの接続方向に向けて配置され、前記相手方コネクタ側と反対側の後端部に前記接続方向に延びるスリットを形成し、
前記位置保証部材は、前記スリットを通じて前記本体部と前記係止部の間まで延びる係合解除規制部を有し、前記係合解除規制部により前記係止部を支えて前記係止部との係合解除を規制する、
請求項1又は2に記載のコネクタ。
発明の詳細な説明
【技術分野】
【0001】
本発明は、コネクタに関する。
続きを表示(約 1,800 文字)
【背景技術】
【0002】
従来、コネクタに関するものとして、例えば、特許文献1に記載されるように、端子を保持するハウジングと、ハウジングに対し回転可能に設けられるレバーとを備えたレバー式のコネクタが知られている。このコネクタは、レバーの横位置にコネクタ位置保証機構を設けており、コネクタ位置保証機構によってコネクタの適正な嵌合を行うものである。
【先行技術文献】
【特許文献】
【0003】
特開2018-073674号公報
【発明の概要】
【発明が解決しようとする課題】
【0004】
上述したコネクタは、コンパクトに構成することが難しい点で改善の余地がある。すなわち、コネクタは、コネクタ位置保証機構をレバーの回動軌道を避けて設ける必要がある。このため、レバーと横並びにコネクタ位置保証機構を設置しようとすると、コネクタが大型なものとなってしまう。
【0005】
そこで、本発明は、レバー及び位置保証部材を備えながらコンパクトに構成することができるコネクタを提供することを目的とする。
【課題を解決するための手段】
【0006】
すなわち、本発明に係るコネクタは、電線に取り付けられる端子を保持し、相手方コネクタに接続されるハウジングと、前記ハウジングに対し回動可能に取り付けられ、回動することにより前記ハウジングを前記相手方コネクタ側へ移動させるレバーと、前記レバーに取り付けられる位置保証部材と、を備え、前記レバーは、前記ハウジングの側部に回転可能に取り付けられ前記ハウジングを挟んで離間して設けられる二つのアーム部と、前記二つのアーム部の間に架設される架設部と、を有し、前記位置保証部材は、前記架設部に対し仮係止位置から本係止位置まで移動可能に取り付けられ、前記ハウジングが前記相手方コネクタに適正に嵌合している状態で前記本係止位置に移動可能とするように構成されている。
【発明の効果】
【0007】
本発明に係るコネクタによれば、レバー及び位置保証部材を備えながらコンパクトに構成することができる。
【図面の簡単な説明】
【0008】
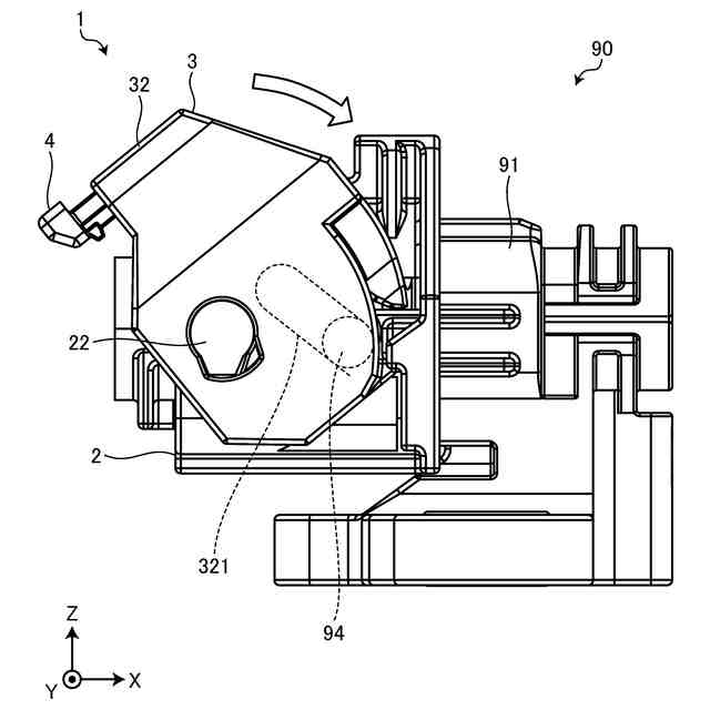
図1は、実施形態に係るコネクタの分解斜視図である。
図2は、実施形態に係るコネクタのハウジングの斜視図である。
図3は、実施形態に係るコネクタのレバーの斜視図である。
図4は、実施形態に係るコネクタの位置保証部材の斜視図である。
図5は、実施形態に係るコネクタと相手方コネクタの接続の説明図である。
図6は、実施形態に係るコネクタと相手方コネクタの接続の説明図である。
図7は、実施形態に係るコネクタと相手方コネクタの接続の説明図である。
図8は、実施形態に係るコネクタと相手方コネクタの接続の説明図である。
図9は、実施形態に係るコネクタと相手方コネクタの接続の説明図である。
図10は、実施形態に係るコネクタと相手方コネクタの接続解除の説明図である。
図11は、実施形態に係るコネクタと相手方コネクタの接続の説明図である。
【発明を実施するための形態】
【0009】
以下に、本発明に係る実施形態を図面に基づいて詳細に説明する。なお、この実施形態により本発明が限定されるものではない。また、下記実施形態における構成要素には、当業者が置換可能かつ容易なもの、あるいは実質的に同一のものが含まれる。
【0010】
[実施形態]
本実施形態は、コネクタに関する。以下の説明では、互いに交差する第一方向、第二方向、及び、第三方向のうち、第一方向を「接続方向X」といい、第二方向を「幅方向Y」といい、第三方向を「高さ方向Z」という。ここでは、接続方向Xと幅方向Yと高さ方向Zとは、相互に直交する。接続方向Xは、コネクタと相手方コネクタの接続方向又は嵌合方向に相当する。幅方向Yは、コネクタの幅方向に相当する。幅方向Yと高さ方向Zとは、接続方向Xと直交する直交方向に相当する。また、以下の説明で用いる各方向は、特に断りのない限り、各部が相互に組み付けられた状態での方向を表すものとする。なお、ここでいう直交は、ほぼ直交を含む。
(【0011】以降は省略されています)
この特許をJ-PlatPat(特許庁公式サイト)で参照する
関連特許
矢崎総業株式会社
端子
6日前
矢崎総業株式会社
箱状体
26日前
矢崎総業株式会社
箱状体
26日前
矢崎総業株式会社
報知装置
13日前
矢崎総業株式会社
コネクタ
24日前
矢崎総業株式会社
照明装置
12日前
矢崎総業株式会社
コネクタ
25日前
矢崎総業株式会社
コネクタ
20日前
矢崎総業株式会社
照明装置
6日前
矢崎総業株式会社
バスバー
17日前
矢崎総業株式会社
照明装置
7日前
矢崎総業株式会社
照明装置
7日前
矢崎総業株式会社
電気接続箱
26日前
矢崎総業株式会社
カバー構造
4日前
矢崎総業株式会社
画像表示装置
7日前
矢崎総業株式会社
コネクタ構造
13日前
矢崎総業株式会社
画像表示装置
7日前
矢崎総業株式会社
コネクタ構造
13日前
矢崎総業株式会社
フラット導体
26日前
矢崎総業株式会社
端子付き電線
18日前
矢崎総業株式会社
コネクタ構造
13日前
矢崎総業株式会社
車両用表示装置
7日前
矢崎総業株式会社
車両用表示装置
7日前
矢崎総業株式会社
車両用表示装置
11日前
矢崎総業株式会社
バスバ配置構造
18日前
矢崎総業株式会社
車室内照明装置
6日前
矢崎総業株式会社
車両用表示装置
7日前
矢崎総業株式会社
ワイヤハーネス
20日前
矢崎総業株式会社
充電インレット
12日前
矢崎総業株式会社
導電モジュール
4日前
矢崎総業株式会社
導電モジュール
4日前
矢崎総業株式会社
車両用表示装置
7日前
矢崎総業株式会社
バスバ配置構造
5日前
矢崎総業株式会社
ワイヤーハーネス
20日前
矢崎総業株式会社
ワイヤーハーネス
20日前
矢崎総業株式会社
光センシング装置
11日前
続きを見る
他の特許を見る